TSOコマンド
本章では、TSOのコマンドの使用方法について説明します。
1. 概要
以下は、TSOコマンドの一覧です。
| TSOコマンド | 説明 |
|---|---|
指定したワークステーションを有効にします。 |
|
PEDおよびリソースを割り当てます。 |
|
PEDおよびリソースを解放します。 |
|
プログラムの実行に必要なデータセットを割り当てます。 |
|
現在の日付を変更します。 |
|
ジョブの属性を変更します。 |
|
プログラムの実行に必要なデータセットを割り当てます。 |
|
SYSOUTデータセットを割り当て、プリンターへの出力情報を設定します。 |
|
データセットの属性を定義します。 |
|
外部プログラムを実行します。 |
|
実行されたジョブをキャンセルします。 |
|
AIMに接続されている特定のワークステーションの接続を終了します。 |
|
データセットをコピーします。 |
|
データセットあるいはデータセットのメンバーをコピーします。 |
|
テープ・ボリューム間の複製を行います。 |
|
データセットを作成するか、あるいはカタログに登録します。 |
|
ジョブの開始を予約します。 |
|
フロッピーディスクのファイルを一般的なボリュームにコピーするか、あるいはその逆を行います。OpenFrameでは構文エラーのみチェックします。 |
|
テープ・ボリュームのファイルを一般的なボリュームにコピーするか、あるいはその逆を行います。 |
|
順次データセットまたは区分データセットのメンバーをカタログから削除します。 |
|
データセットの属性を定義します。 |
|
データセットの状態を表示します。OpenFrameでは構文エラーのみチェックします。 |
|
データセットあるいはデータセットのメンバーを削除します。 |
|
データセットあるいはデータセットのメンバーを削除するか、データセットをカタログから削除します。 |
|
フロッピーディスクのファイルを削除します。OpenFrameでは構文エラーのみチェックします。 |
|
実行中のジョブを停止し、実行待ちのジョブはキャンセルします。また、JOBQから該当するジョブを削除します。 |
|
EVENT文とWAIT文で指定したイベントへの監視を解除します。 |
|
新しいDSN(DB2 Command Processor)セッションを開始します。 |
|
イベントへの監視を開始します。 |
|
コマンド・プロシージャを呼び出します。 |
|
PSAMマップを使って画面処理を行います。 |
|
PSAMマップを呼び出します。 |
|
外部プログラムを実行します。 |
|
コマンド・プロシージャを呼び出します。 |
|
fexportを実行します。 |
|
外部プログラムを実行します。 |
|
fimportを実行します。 |
|
ALLOCATE文やATTRIB文などによって割り当てられたデータセットを解放します。 |
|
ASCFILE文やDFNFATR文などによって割り当てられたデータセットを解放します。 |
|
指定したワークステーションを無効にします。 |
|
フロッピーディスクを初期化します。OpenFrameでは構文エラーのみチェックします。 |
|
テープ・ボリュームを初期化します。 |
|
ジョブ・ライブラリにデータセットを登録および解放します。 |
|
カタログ情報を出力します。 |
|
TSOセッションを終了します。 |
|
SYSOUTデータセットを割り当て、プリンターへの出力情報を設定します。 |
|
データセットの内容や属性を端末またはプリンターに出力します。 |
|
ボリューム情報とボリューム内のファイル情報を出力します。OpenFrameでは構文エラーのみチェックします。 |
|
何も行いません。一般的には、IF文またはGOTO文が分岐する位置にラベルと一緒に記述します。 |
|
データセットのメンバーまたはUNIXファイルを他のデータセットのメンバーあるいはファイルにコピーします。 |
|
出力を制御します。OpenFrameでは構文エラーのみチェックします。 |
|
PSAMマップを使って画面処理を行います。 |
|
SYSOUT用のデータセットを割り当てて、データセットの内容をプリンターに出力します。 |
|
各ユーザーの端末運用に関する属性を設定します。 |
|
データセットの内容をプリンターに出力します。 |
|
データセットからフォーム・オーバーレイ・パターンを取得します。OpenFrameでは構文エラーのみチェックします。 |
|
実行保留状態のジョブの処理を再開します。OpenFrameでは構文エラーのみチェックします。 |
|
データセット名またはPDSのメンバー名を変更します。 |
|
データセット名またはPDSのメンバー名を変更します。 |
|
DSNのサブコマンドとして、ユーザー・アプリケーションを実行します。 |
|
システムのコンソールにメッセージを送信します。 |
|
ストリーム、またはデータセットの全体または一部を他のストリームまたはデータセットにコピーします。 |
|
アプリケーション・プログラムまたはAIMに接続されている特定のワークステーションにメッセージを伝送します。 |
|
入力データセットを並び替えするか、特定のレコードを選ぶなどのジョブを実行し、その結果を出力データセットに保存します。 |
|
端末にバッチ・ジョブの状態を出力します。OpenFrameでは構文エラーのみチェックします。 |
|
出力中、ジョブ待ち、一時停止状態のライターを停止します。OpenFrameでは構文エラーのみチェックします。 |
|
停止状態のライターを起動します。OpenFrameでは構文エラーのみチェックします。 |
|
ジョブを実行します。 |
|
VSAMデータセットのカタログ情報を更新します。 |
|
指定したイベントのいずれかが発生するまで待機します。 |
TSOコマンドのOS別対応状況
各OS(MVS、VOS3、MSP、XSP)で使用可能なTSOコマンドを示しています。
| TSOコマンド | MVS | VOS3 | MSP | XSP |
|---|---|---|---|---|
ACTNET |
O |
O |
O |
O |
AIMALLOC |
X |
X |
O |
O |
AIMFREE |
X |
X |
O |
O |
ALLOCATE |
O |
O |
O |
O |
ALTDATE |
X |
X |
X |
O |
ALTJOB |
X |
X |
X |
O |
ASCFILE |
X |
X |
X |
O |
ASCLP |
X |
X |
X |
O |
ATTRIB |
O |
O |
O |
O |
CALL |
O |
O |
O |
O |
CANCEL |
O |
O |
O |
O |
CLSTWS |
X |
X |
X |
O |
COPY |
O |
O |
O |
O |
CPYFILE |
O |
O |
O |
O |
CPYTAP |
X |
X |
X |
O |
CRTFILE |
O |
O |
O |
O |
CRTJOBS |
X |
X |
X |
O |
CVTFPD |
X |
X |
X |
O |
CVTTAP |
X |
X |
X |
O |
DELETE |
O |
O |
O |
O |
DFNFATR |
X |
X |
X |
O |
DISPLAY |
O |
O |
O |
O |
DLTDS |
X |
X |
X |
O |
DLTFILE |
O |
O |
O |
O |
DLTFPD |
X |
X |
X |
O |
DLTJOB |
X |
X |
X |
O |
DROP |
X |
X |
X |
O |
DSN |
O |
O |
O |
O |
EVENT |
X |
X |
X |
O |
EXCCL |
X |
X |
X |
O |
EXCEFI |
X |
X |
X |
O |
EXCEFW |
X |
X |
X |
O |
EXCPGM |
X |
X |
X |
O |
EXEC |
O |
O |
O |
O |
FEXPORT |
X |
X |
O |
O |
FETCH |
△ |
X |
X |
X |
FIMPORT |
X |
X |
O |
O |
FREE |
O |
O |
O |
O |
FREFILE |
X |
X |
X |
O |
INANET |
X |
X |
O |
O |
INTFPD |
X |
X |
X |
O |
INTTAP |
X |
X |
X |
O |
LIBRARY |
O |
O |
O |
O |
LISTCAT |
O |
O |
O |
O |
LOGOFF |
O |
O |
O |
O |
LPALLOC |
X |
X |
X |
O |
LSTFILE |
X |
X |
O |
O |
LSTVOL |
X |
X |
O |
O |
NOP |
X |
X |
X |
O |
OCOPY |
O |
X |
X |
X |
OUTPUT |
O |
O |
O |
O |
PANEL |
X |
X |
X |
O |
PRINTOFF |
O |
O |
O |
O |
PROFILE |
O |
O |
O |
O |
PRTFILE |
X |
X |
O |
O |
PUTOVL |
X |
X |
O |
O |
RELEASE |
X |
X |
O |
O |
RENAME |
O |
O |
O |
O |
RNMFILE |
X |
X |
O |
O |
RUN |
O |
O |
O |
O |
SEND |
O |
O |
O |
O |
SMCOPY |
O |
X |
X |
X |
SNDTMSG |
X |
X |
X |
O |
SRTDS |
X |
X |
X |
O |
STATUS |
O |
X |
X |
X |
STPWTR |
X |
X |
O |
O |
STRWTR |
X |
X |
O |
O |
SUBMIT |
O |
O |
O |
O |
VERIFY |
X |
X |
O |
O |
WAIT |
X |
X |
X |
O |
|
FETCHコマンドは、MVSのISPFサービスを利用してCLISTを実行する場合にのみ動作し、TSOバッチ・モードでは動作しません。 |
2. ACTNET文
指定したワークステーションを有効にします。
使用法



| 項目 | 説明 |
|---|---|
id |
有効にするワークステーション名です。 |
オペランド
以下は、オペランドについての説明です。
| オペランド | 説明 |
|---|---|
ID |
有効にするワークステーションを指定します。 |
SCOPE |
有効にするワークステーションのスコープを指定します。OpenFrameではALLへの動作のみ対応しており、それ以外は構文エラーのみチェックします。 |
LOAD |
有効にするワークステーションのロード条件を指定します。OpenFrameでは構文エラーのみチェックします。 |
例
以下は、ACTNET文の使用例です。
ACTNET ID(OIVPWS01) ACTNET ID(OIVPWS01) SCOPE(ALL)
3. AIMALLOC文
PEDとPEDで定義したリソース(データベース、拡張インデックス・データセットなど)を割り当てると同時に、それらをAPGと結合します。
使用法
| 項目 | 説明 |
|---|---|
ped_name |
割り当てるPEDの名前です。 |
apg_name |
結合するAPGの名前です。 |
dir_id |
PEDが登録されているAIMディレクトリのIDです。 |
オペランド
以下は、オペランドについての説明です。
| オペランド | 説明 |
|---|---|
PED |
割り当てるPEDを指定します。 |
APG |
結合するAPGを指定します。 |
DID |
PEDが登録されているAIMディレクトリのIDを指定します。 |
使用例
以下は、TSOジョブにPED1を割り当てながらAPG1を結合する例です。
AIMALLOC PED(PED1) APG(APG1)
4. AIMFREE文
AIMALLOCコマンドで割り当てられたPEDおよび関連リソースを解放し、APGとの結合を解放します。
使用法
| 項目 | 説明 |
|---|---|
ped_name |
解放するPEDの名前です。 |
オペランド
以下は、オペランドについての説明です。
| オペランド | 説明 |
|---|---|
PED |
解放するPEDを指定します。 |
使用例
AIMFREEコマンドを使用し、割り当てられているPED1を解放する例です。
AIMFREE PED(PED1)
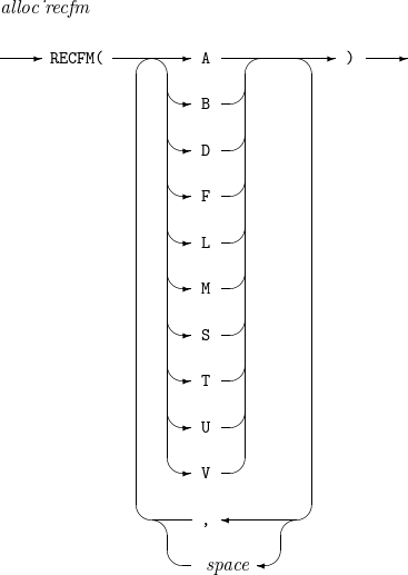
5. ALLOCATE文
プログラムの実行に必要なデータセットを動的に割り当てます。各種のオペランドを使ってデータセットの属性を指定することもできます。
使用法









| 項目 | 説明 |
|---|---|
rec_len |
データセットのレコード長を指定します。 |
serial |
データセットが存在するボリュームのシリアル番号を指定します。 |
quantity |
データセットを作成する際、最初に割り振るスペースの量を指定します。 |
increment |
データセットの作成中にスペースが不足して追加する必要がある場合、一度に追加する値を指定します。 |
dir_blocks |
区分データセット(PDS)を作成する際にディレクトリ領域のスペースの割り当て量を指定します。OpenFrameでは構文エラーのみチェックします。 |
destination |
SYSOUTデータセットを出力先を指定します。OpenFrameでは構文エラーのみチェックします。 |
unit |
データセットを割り当てるデバイスを指定します。 |
attr_list |
使用する属性リストの名前を指定します。 |
writer |
外部ライター名を指定します。OpenFrameでは構文エラーのみチェックします。 |
dsname |
データセット名を指定します。PDSの場合、括弧内にメンバー名を指定します。 |
ddname |
データセットのDD名を指定します。 |
sysout_class |
SYSOUTデータセットの出力クラスを指定します。OpenFrameでは構文エラーのみチェックします。 |
block_size |
ブロック長をバイト単位で指定します。OpenFrameでは構文エラーのみチェックします。 |
オペランド
以下は、前述のオペランドについての説明です。
| オペランド | 説明 |
|---|---|
BLKSIZE |
ブロック長をバイト単位で指定します。(略語: BLK, BL) |
CATALOG |
データセットをカタログに追加します。(略語: CAT, CA) |
CYLINDERS |
スペースの割り振り量の初期値および追加値の単位がシリンダーであることを意味します。(略語: CYLINDER, CYL, CY) |
DATASET |
データセット名を指定します。(略語: DA) |
DDNAME |
データセットのDD名を指定します。(略語: DDN, DD) |
DELETE |
ジョブ完了後、データセットを削除します。(略語: DEL) |
DEST |
SYSOUTデータセットの出力先を指定します。OpenFrameでは構文エラーのみチェックします。 |
DIR |
区分データセット(PDS)を作成する際にディレクトリ部へのスペースの割り振り量を指定します。OpenFrameでは構文エラーのみチェックします。 |
DSNAME |
データセット名を指定します。(略語: DSN, DS) |
DSORG |
データセットの構造を指定します。
|
DUMMY |
指定のデータセットがDUMMYデータセットであることを意味します。 |
FILE |
DD名を指定します。(略語: FI, F) |
HOLD |
SYSOUTデータセットを出力保留状態にします。OpenFrameでは構文エラーのみチェックします。 |
KEEP |
ジョブの終了後、データセットを保存します。 |
LRECL |
レコード長を指定します。 |
MOD |
既存のデータセットの末尾に追加で書き込みます。(既存データセットの拡張) |
NEW |
新しいデータセットを作成します。略語: NE) |
OLD |
既存のデータセットを読み込みます。 |
RECFM |
レコードの形式と特性を指定します。
|
RELEASE |
データセットを閉じる際に未使用スペースを解放します。 |
REUSE |
既に割り当てられているDD名を解放後に再度割り当てます。(略語: REU) 既に割り当てられているDDのDisposition StatusがOLDで、新しく割り当てるDDのDisposition StatusがSHRの場合は、REUSEオペランドを使用できません。 そのような場合には、FREEコマンドを使用して解放した後、再びALLOCATEコマンドを使用して割りてます。 |
ROUND |
データセットの初期および追加割り当てをシリンダー単位で行います。OpenFrameでは構文エラーのみチェックします。(略語: RO) |
SHR |
既に存在するデータセットであり、他のユーザーが同時に使用することを許可します。(略語: SH) |
SPACE |
新規データセットのスペースの割り振り量を指定します。(略語: SP) |
SYSOUT |
SYSOUTデータセットの出力クラスを指定します。OpenFrameでは構文エラーのみチェックします。(略語: SY) |
TRACKS |
スペースの割り当て量の初期値および追加値の単位がトラック単位であることを意味します。(略語: TRACK, TRA, TR, T) |
INPUT |
入力処理を行います。OpenFrameでは構文エラーのみチェックします。 |
OUTPUT |
出力処理を行います。OpenFrameでは構文エラーのみチェックします。 |
UNCATALOG |
データセットをカタログから解放します。 |
UNIT |
データセットを割り当てるデバイスを指定します。 |
USING |
使用する属性リストの名前を記述します。(略語: US) |
VOLUME |
データセットが存在するボリュームのシリアル番号を指定します。(略語: VOL、VO) |
VSEQ |
データセットが存在するボリュームのシリアル番号を指定します。OpenFrameでは構文エラーのみチェックします。(略語: VSE) |
WRITER |
外部ライター名を指定します。OpenFrameでは構文エラーのみチェックします。 |
使用例
以下は、ALLOCATE文の使用例です。
ALLOC DSN(NEW.DATA),NEW,USING(ATTR1),VOL(VOL1)
6. ALTDATE文
現在の日付を変更します。TSOセッション内でのみ有効です。
使用法
| 項目 | 説明 |
|---|---|
yymmdd |
現在の日付をyy年mm月dd日(YYMMDD形式)に変更します。指定しない場合は、変更した日付を以下のように戻します。
|
オペランド
以下は、オペランドについての説明です。
| オペランド | 説明 |
|---|---|
STANDARD |
西暦で指定します。 |
DOMESTIC |
和暦で指定します。OpenFrameでは構文エラーのみチェックします。 |
使用例
以下は、ALTDATE文の使用例です。現在の日付を2016年3月1日に変更します。
ALTDATE STANDARD(160301)
7. ALTJOB文
指定した条件を満足するジョブの属性を変更します。
使用法


| 項目 | 説明 |
|---|---|
jobname |
指定したジョブ名を持つジョブの属性を変更します。アスタリスク(*)を使用した場合は、ジョブ名に関係なく属性を変更します。 |
newclass |
ジョブの出力クラスを指定した値に変更します。 |
newogroup |
ジョブの出力ジョブ・グループを指定した値に変更します。OpenFrameでは構文エラーのみチェックします。 |
newjgroup |
ジョブのグループを指定した値に変更します。OpenFrameでは構文エラーのみチェックします。 |
priority |
ジョブの優先順位を指定した値に変更します。OpenFrameでは構文エラーのみチェックします。 |
jobcode |
指定したジョブ・コードを持つジョブの属性を変更します。OpenFrameでは構文エラーのみチェックします。 |
user |
指定したユーザーが所有するジョブの属性を変更します。アスタリスク(*)を使用した場合は、ジョブの所有に関係なく属性を変更します。 |
class |
指定した出力クラスに含まれているジョブの属性を変更します。 |
ogroup |
指定した出力ジョブ・グループに含まれているジョグの属性を変更します。OpenFrameでは構文エラーのみチェックします。 |
jgroup |
指定したジョブ・グループに含まれているジョブの属性を変更します。OpenFrameでは構文エラーのみチェックします。 |
オペランド
以下は、オペランドについての説明です。
| オペランド | 説明 |
|---|---|
NEWCLASS |
ジョブの出力クラスを指定した値に変更します。変更対象は、出力待ちのジョブのみです。 |
NEWOGROUP |
ジョブの出力ジョブ・グループを指定した値に変更します。OpenFrameでは構文エラーのみチェックします。 |
NEWJGROUP |
ジョブのジョブ・グループを指定した値に変更します。OpenFrameでは構文エラーのみチェックします。 |
PRIORITY |
ジョブの優先順位を指定した値に変更します。OpenFrameでは構文エラーのみチェックします。 |
JOBCODE |
指定したジョブ・コードを持つジョブの属性を変更します。OpenFrameでは構文エラーのみチェックします。 |
USER |
指定したユーザーが所有するジョブの属性を変更します。 |
CLASS |
指定した出力クラスに含まれているジョブの属性を変更します。変更対象は、出力待ちのジョブのみです。 |
OGROUP |
指定した出力ジョブ・グループに含まれているジョグの属性を変更します。OpenFrameでは構文エラーのみチェックします。 |
JGROUP |
指定したジョブ・グループに含まれている属性を変更します。OpenFrameでは構文エラーのみチェックします。 |
IN |
変更対象は、待機中のジョブのみです。 |
EXEC |
変更対象は、実行中のジョブのみです。 |
OUT |
変更対象は、出力待ちのジョブのみです。 |
使用例
以下は、ALTJOB文の使用例です。
ALTJOB * NEWCLASS(B) OUT CLASS(A)
8. ASCFILE文
プログラムの実行に必要なデータセットを動的に割り当てます。各種のオペランドを使ってデータセットの属性を指定することもできます。
使用法











| 項目 | 説明 |
|---|---|
dir_blocks |
区分データセット(PDS)の作成時、ディレクトリ部に割り当てるスペース量を指定します。OpenFrameでは構文エラーのみチェックします。 |
attr_list |
使用する属性リスト名を指定します。 |
unit |
データセットを割り当てるデバイスを指定します。 |
ucount |
データセットを割り当てるデバイスの最大数を指定します。OpenFrameでは構文エラーのみチェックします。 |
vposition |
データセットが複数のボリュームにまたがっている場合、一番最初に処理するボリュームのシリアル番号を指定します。OpenFrameでは構文エラーのみチェックします。 |
ddname |
データセットのDD名を指定します。 |
dsname |
データセット名を指定します。PDSの場合、括弧内にメンバー名を指定します。 |
quantity |
データセットのを作成時、最初に割り当てるスペースの量を指定します。 |
increment |
データセットの作成中にスペースが不足して追加する必要がある場合、一度に追加する値を指定します。 |
avblock |
ブロックの平均長をバイト単位で指定します。 |
block_size |
ブロック長をバイト単位で指定します。 |
serial |
データセットが格納されているボリュームのシリアル番号を指定します。 |
position |
磁気テープのボリュームに格納されているファイルの順序番号を指定します。OpenFrameでは構文エラーのみチェックします。 |
オペランド
以下は、オペランドについての説明です。
| オペランド | 説明 |
|---|---|
REUSE |
使用するDDが既に割り当てられている場合、解除後に再度割り当てます。OpenFrameでは構文エラーのみチェックします。 |
DIR |
区分データセット(PDS)の作成時、ディレクトリ部へのスペースの割り当て量を指定します。OpenFrameでは構文エラーのみチェックします。 |
USING |
使用する属性リスト名を指定します。 |
RELEASE |
データセットを閉じるとき、未使用のスペースを解放します。 |
LABEL |
ラベルのタイプを指定します。
|
UNIT |
データセットを割り当てるデバイスを指定します。 |
UCOUNT |
データセットを割り当てるデバイスの最大数を指定します。OpenFrameでは構文エラーのみチェックします。 |
VPOSITION |
データセットが複数のボリュームにまたがっている場合、一番最初に処理するボリュームのシリアル番号を指定します。OpenFrameでは構文エラーのみチェックします。 |
DEFER |
データセットの開くとき、磁気テープのボリュームを装置に取り付けます。OpenFrameでは構文エラーのみチェックします。 |
DDNAME |
データセットのDD名を指定します。(略語: DDN, DD) |
DSNAME |
データセット名を指定します。(略語: DSN, DS) |
DUMMY |
データセットがダミーのデータセットであることを意味します。 |
NEW |
新しいデータセットを作成します。 |
OLD |
既存のデータセットを読み込みます。 |
SHR |
すでに存在するデータセットであり、他のユーザーが同時に使用することを許可します。 |
MOD |
既存のデータセットの末尾に追加で書き込みします。(既存データセットの拡張) |
KEEP |
ジョブの終了後にデータセットを保存します。 |
DELETE |
ジョブの終了後にデータセットを削除します。 |
CATALOG |
データセットをカタログに追加します。 |
UNCATALOG |
データセットをカタログから削除します。 |
SPACE |
新規データセットへのスペースの割り当て量を指定します。(略語: SPA) |
AVBLOCK |
ブロックの平均の長さをバイト単位で指定します。(略語: AVB) |
BLKSIZE |
ブロック長をバイト単位で指定します。 |
BLOCK |
ブロック長をバイト単位で指定します。 |
VOLUME |
データセットが格納されているボリュームのシリアル番号を指定します。(略語: VOL) |
POSITION |
磁気テープ・ボリュームに格納されているファイルの順序番号を指定します。OpenFrameでは構文エラーのみチェックします。 |
ADD |
磁気テープのボリュームにファイルを追加で作成します。OpenFrameでは構文エラーのみチェックします。 |
RETAIN |
割り当てられたデータセットの解放時に、磁気テープのボリュームを装置から取り外しません。OpenFrameでは構文エラーのみチェックします。 |
UNLOAD |
データセットを閉じるとき、磁気テープのボリュームを装置から取り外します。OpenFrameでは構文エラーのみチェックします。 |
使用例
以下は、ASCFILE文の使用例です。
ASCFILE DSN(NEW.DATA),NEW,USING(ATTR1),VOL(VOL1)
9. ASCLP文
SYSOUTデータセットを割り当てて、プリンターへの出力情報を設定します。
使用法















| 項目 | 説明 |
|---|---|
ddname |
SYSOUTデータセットのDD名を指定します。 |
sysout |
SYSOUTデータセットの出力クラスを指定します。 |
attr_list |
使用する属性リスト名を指定します。 |
code |
用紙の書式番号を指定します。 |
lpci |
用紙制御イメージ識別名を指定します。 |
copies |
印刷部数を指定します。 |
ucs |
文字セットの識別名を指定します。 |
pgm |
出力プログラム名を指定します。 |
overlayname |
フォーム・オーバーレイ・モジュールの識別名を指定します。 |
flashcount |
フォーム・オーバーレイ・パターンのコピー部数を指定します。 |
modify |
コピー修正モジュールの識別名を指定します。 |
modtrc |
修正データを印刷する際に使用するテーブル参照番号を指定します。 |
page |
指定されたページ数に達すると、出力が分割され、新しい出力リストになり、出力を待ちます。OpenFrameでは構文エラーのみチェックします。 |
ogroup |
出力ジョブ・グループ名を指定します。OpenFrameでは構文エラーのみチェックします。 |
quantity |
データセットの作成時、最初に割り当てるスペースの量を指定します。 |
increment |
データセットの作成中にスペースが不足して追加する必要がある場合、一度に追加する値を指定します。 |
avblock |
ブロックの平均の長さをバイト単位で指定します。 |
cs |
文字配列テーブルと追加文字セットの識別名を指定します。 |
group |
ページ単位の印刷部数を指定します。 |
オペランド
以下は、オペランドについての説明です。
| オペランド | 説明 |
|---|---|
SYSOUT |
SYSOUTデータセットの出力クラスを指定します。 |
USING |
使用する属性リスト名を指定します。 |
CODE |
用紙の書式番号を指定します。 |
LPCI |
用紙制御イメージ識別名を指定します。 |
COPIES |
印刷部数を指定します。(略語: COP) |
UCS |
文字セットの識別名を指定します。 |
PGM |
出力プログラム名を指定します。 |
OVERLAYNAME |
フォーム・オーバーレイ・モジュールの識別名を指定します。 |
FLASHCOUNT |
フォーム・オーバーレイ・パターンのコピー部数を指定します。 |
MODIFY |
コピー修正モジュールの識別名を指定します。 |
MODTRC |
修正データを印刷する際に使用するテーブル参照番号を指定します。 |
PAGE |
指定されたページ数に達すると、出力が分割され、新しい出力リストになり、出力を待ちます。OpenFrameでは構文エラーのみチェックします。 |
REPEAT |
印刷したリストを再印刷します。 |
OGROUP |
出力ジョブ・グループ名を指定します。OpenFrameでは構文エラーのみチェックします。 |
SPACE |
SYSOUTデータセットへのスペースの割り振り量を指定します。 |
AVBLOCK |
ブロックの平均の長さを指定します。(略語: AVB) |
CHARS |
文字配列テーブルと追加文字セットの識別名を指定します。 |
GROUPVALUE |
ページ単位の印刷部数を指定します。 |
LANDSCAPE |
SYSOUTデータセットを横書きで印刷します。
|
LINEPRINTER |
SYSOUTデータセットをLP(ライン・プリンター)モードで印刷します。
|
PORTRAIT |
SYSOUTデータセットを縦書きで印刷します。
|
LZOOM |
SYSOUTデータセットを80%に縮小して横書きで印刷します。
|
PZOOM |
SYSOUTデータセットを80%に縮小して縦書きで印刷します。
|
BIND |
用紙をバインドする位置を指定します。
|
SIDE |
印刷したい用紙の面を指定します。
|
PRTAREA |
印字不可領域の有無を指定します。
|
HOPPER |
給紙口の位置を指定します。
|
STACKER |
排紙口を指定します。
|
使用例
以下は、ASCLP文の使用例です。
ASCLP LIST1 USING(ATTRLIST)
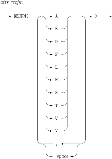
10. ATTRIB文
ALLOCATE文より使用できるように、データセットの属性リストを定義します。ALLOCATE文では、ATTRIB文で定義した属性リストを、USINGオペランドを使って使用できます。
使用法









| 項目 | 説明 |
|---|---|
name |
属性リスト名を指定します。 |
rec_len |
レコード長を指定します。 |
blksz |
ブロックのサイズを指定します。 |
buflen |
バッファーのサイズを指定します。OpenFrameでは構文エラーのみチェックします。 |
bufno |
使用するバッファーの数を指定します。OpenFrameでは構文エラーのみチェックします。 |
ncp |
CHECKの実行前のREAD/WRITEの最大数を指定します。OpenFrameでは構文エラーのみチェックします。 |
limct |
検索するトラック/ブロックの数を指定します。OpenFrameでは構文エラーのみチェックします。 |
expdt |
データセットの満了日を指定します。 |
retpd |
データセットの保存期限を日数で指定します。 |
bufoff |
ブロックの接頭語の長さを指定します。OpenFrameでは構文エラーのみチェックします。 |
den |
テープの記録密度を指定します。OpenFrameでは構文エラーのみチェックします。 |
keylen |
キーの長さを指定します。 |
オペランド
以下は、オペランドについての説明です。
| オペランド | 説明 |
|---|---|
DSORG |
データセットの構造を指定します。(略語: DS)
|
RECFM |
レコードの形式と特性を指定します。(略語: REC)
|
LRECL |
レコード長を指定します。(略語: LR) |
BLKSIZE |
ブロックのサイズを指定します。(略語: BLK, BL) |
BUFL |
バッファーのサイズを指定します。OpenFrameでは構文エラーのみチェックします。 |
BUFNO |
使用するバッファーの数を指定します。OpenFrameでは構文エラーのみチェックします。(略語: BUFN) |
INPUT |
入力処理をします。OpenFrameでは構文エラーのみチェックします。(略語: I) |
OUTPUT |
出力処理をします。OpenFrameでは構文エラーのみチェックします。(略語: OU) |
NCP |
CHECKの実行前のREAD/WRITEの最大数を指定します。OpenFrameでは構文エラーのみチェックします。(略語: N) |
BFALN |
バッファーの境界を合わせます。OpenFrameでは構文エラーのみチェックします。(略語: BFA) |
BFTEK |
バッファーの制御方法を指定します。OpenFrameでは構文エラーのみチェックします。(略語: BFT) |
LIMCT |
検索するトラック/ブロックの数を指定します。OpenFrameでは構文エラーのみチェックします。(略語: LI) |
EROPT |
データのエラーを検出する際の処理方法を指定します。OpenFrameでは構文エラーのみチェックします。(略語: ER) |
DIAGNS |
ジョブ領域とDCBの内容をトレースします。OpenFrameでは構文エラーのみチェックします。(略語: DI) |
EXPDT |
データセットの満了日を指定します。(略語: EX) |
RETPD |
データセットの保存期間を指定します。(略語: RET) |
OPTCD |
オプション機能を指定します。OpenFrameでは構文エラーのみチェックします。(略語: OP) |
BUFOFF |
ブロックの接頭語の長さを指定します。OpenFrameでは構文エラーのみチェックします。(略語: BUFO) |
DEN |
テープの記録密度を指定します。OpenFrameでは構文エラーのみチェックします。(略語: DE) |
KEYLEN |
キーの長さを指定します。(略語: K) |
MODE |
漢字プリンターの使用モードを指定します。OpenFrameでは構文エラーのみチェックします。(略語: M) |
TRTCH |
テープの記録方式を指定します。OpenFrameでは構文エラーのみチェックします。(略語: T) |
REUSE |
使用するDD名が既に割り当てられている場合は解放し、再度割り当てます。(略語: REU) |
使用例
以下は、ATTRIB文の使用例です。
ATTRIB DCB1 RECFM(F,B),LRECL(80),DSORG(PO)
11. CALL文
アプリケーション・プログラムや動的ライブラリを実行します。プログラムの終了コードがCALLコマンドのリターンコードに設定されます。
使用法

| 項目 | 説明 |
|---|---|
dsname |
データセット名を指定します。PDSの場合、括弧内にメンバー名を指定します。 |
call_param |
プログラムに送信するパラメータの値を指定します。 |
second |
制限時間を秒単位で指定します。OpenFrameでは構文エラーのみチェックします。 |
オペランド
以下は、オペランドについての説明です。
| オペランド | 説明 |
|---|---|
TIME |
CPU時間を制限します。OpenFrameでは構文エラーのみチェックします。(略語: T) |
CAPS |
パラメータの一覧を大文字に変換します。 |
ASIS |
パラメータの一覧を大文字に変換しません。 |
使用例
以下は、CALL文の使用例です。
CALL 'SYS1.LINKLIB(JLAASSY)' '12,ALL',ASIS
12. CANCEL文
SUBMIT文などによってサブミットされた作業をキャンセルします。
使用法


| 項目 | 説明 |
|---|---|
jobname |
キャンセルするジョブ名を指定します。 |
jobid |
キャンセルするジョブIDを指定します。 |
オペランド
以下は、オペランドについての説明です。
| オペランド | 説明 |
|---|---|
NOPURGE |
実行がキャンセルされたジョブの出力データセットを削除しません。(略語: N) |
PURGE |
実行がキャンセルされたジョブの出力データセットを削除します。(略語: P) |
使用例
以下は、CANCEL文の使用例です。
CANCEL (D58BOBTA,D58BOBTB(JOB00051),D58BOBTC)
13. CLSTWS文
AIMに接続されている特定のワークステーションの接続を終了します。
使用法
| 項目 | 説明 |
|---|---|
ws |
AIMから終了するワークステーション名です。 |
オペランド
以下は、オペランドについての説明です。
| オペランド | 説明 |
|---|---|
WS |
AIMから終了するワークステーション名を指定します。 |
MODE |
終了モードを指定します
|
使用例
以下は、CLSTWS文の使用例です。
CLSTWS WS(OIVPWS01) CLSTWS WS(OIVPWS01) MODE(EMG)
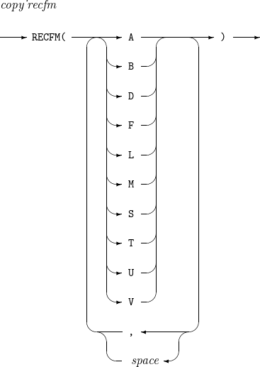
14. COPY文
順次データセットまたは区分データセットのメンバーを他の順次データセットまたは区分データセットのメンバーにコピーします。
使用法


| 項目 | 説明 |
|---|---|
src_dsname |
入力データセット名を指定します。 |
dst_dsname |
出力データセット名を指定します。 |
blksz |
出力データセットのブロック長を指定します。OpenFrameでは構文エラーのみチェックします。 |
rec_len |
出力データセットのレコード長を指定します。OpenFrameでは構文エラーのみチェックします。 |
src_pos |
入力データセットの行番号フィールドの開始位置を指定します。OpenFrameでは構文エラーのみチェックします。 |
src_len |
入力データセットの行番号フィールドの長さを指定します。OpenFrameでは構文エラーのみチェックします。 |
dst_pos |
出力データセットの行番号フィールドの開始位置を指定します。OpenFrameでは構文エラーのみチェックします。 |
dst_len |
出力データセットの行番号フィールドの長さを指定します。OpenFrameでは構文エラーのみチェックします。 |
start |
行番号の初期値を指定します。OpenFrameでは構文エラーのみチェックします。 |
incr |
行番号の増加量を指定します。OpenFrameでは構文エラーのみチェックします。 |
オペランド
以下は、オペランドについての説明です。
| オペランド | 説明 |
|---|---|
BLOCK |
出力データセットのブロック長を指定します。OpenFrameでは構文エラーのみチェックします。(略語: B) |
BLKSIZE |
出力データセットのブロック長を指定します。OpenFrameでは構文エラーのみチェックします。 |
LRECL |
出力データセットのレコード長を指定します。OpenFrameでは構文エラーのみチェックします。(略語: L) |
RECFM |
出力データセットのレコード形式を指定します。OpenFrameでは構文エラーのみチェックします。(略語: REC) |
NUM |
入力データセットの行番号フィールドを指定します。OpenFrameでは構文エラーのみチェックします。 |
NONUM |
入力データセットの行番号を表示しません。OpenFrameでは構文エラーのみチェックします。(略語: NO) |
NUM2 |
出力データセットの行番号フィールドを指定します。OpenFrameでは構文エラーのみチェックします。 |
RENUM |
行番号の初期値と増加量を指定します。OpenFrameでは構文エラーのみチェックします。(略語: REN) |
CONVERT |
各レコードの内容をラベルなしでテープに出力します。OpenFrameでは構文エラーのみチェックします。(略語: C) |
ASCII |
各レコードの内容をラベルなしでテープに出力します。OpenFrameでは構文エラーのみチェックします。(略語: AS) |
ALIAS |
PDSのメンバーをコピーする際のエイリアスも一緒にコピーします。OpenFrameでは構文エラーのみチェックします。(略語: AL) |
ERCODE |
入力データセットのブロック長が出力データセットのブロック長より大きい場合、エラーコードを返します。OpenFrameでは構文エラーのみチェックします。(略語: E) |
使用例
以下は、COPY文の使用例です。
COPY TEST1(MEM1) TEST2(MEM2)
15. CPYFILE文
データセットあるいはデータセットのメンバーをコピーします。
使用法






| 項目 | 説明 |
|---|---|
src_dsname |
入力データセット名を指定します。PDSのメンバーをコピーするときは、PDS名の後ろにメンバー名を括弧で囲んで指定します。 |
dst_dsname |
出力データセット名を指定します。PDSのメンバーをコピーするときは、PDS名の後ろにメンバー名を括弧で囲んで指定します。 |
mpassword |
GEMファイル・メンバーにアクセスするためのパスワードを指定します。OpenFrameでは構文エラーのみチェックします。 |
infpassword |
入力データセットーにアクセスするためのパスワードを指定します。OpenFrameでは構文エラーのみチェックします。 |
outfpassword |
出力データセットーにアクセスするためのパスワードを指定します。OpenFrameでは構文エラーのみチェックします。 |
involume |
入力データセットが含まれているボリュームのシリアル番号を指定します。 |
outvolume |
出力データセットが含まれているボリュームのシリアル番号を指定します。 |
i_pos |
入力データセットの行番号の位置を指定します。OpenFrameでは構文エラーのみチェックします。 |
i_len |
入力データセットの行番号の長さを指定します。OpenFrameでは構文エラーのみチェックします。 |
o_pos |
出力データセットの行番号の位置を指定します。OpenFrameでは構文エラーのみチェックします。 |
o_len |
出力データセットの行番号の長さを指定します。OpenFrameでは構文エラーのみチェックします。 |
オペランド
以下は、オペランドについての説明です。
| オペランド | 説明 |
|---|---|
MPASSWORD |
GEMファイル・メンバーにアクセスするためのパスワードを指定します。OpenFrameでは構文エラーのみチェックします。(略語: MP) |
INFPASSWORD |
入力データセットーにアクセスするためのパスワードを指定します。OpenFrameでは構文エラーのみチェックします。(略語: INF) |
OUTFPASSWORD |
出力データセットーにアクセスするためのパスワードを指定します。OpenFrameでは構文エラーのみチェックします。(略語: OUTF) |
INVOLUME |
入力データセットが含まれているボリュームのシリアル番号を指定します。カタログに入力データセットが存在しない場合にのみ有効です。(略語: INV) |
OUTVOLUME |
出力データセットが含まれているボリュームのシリアル番号を指定します。カタログに出力データセットが存在しない場合にのみ有効です。(略語: OUTV) |
MOVE |
データセットまたはPDSメンバーを移動します。OpenFrameでは構文エラーのみチェックします。(略語: MO) |
NOREPLACE |
出力データセットまたはPDSメンバーが既に存在する場合はエラーが発生します。(略語: NOR) |
REPLACE |
出力データセットまたはPDSメンバーが既に存在する場合は上書きします。(略語: REP, R) |
NOALIAS |
メンバー名が指定された場合、エイリアスはコピーしません。OpenFrameでは構文エラーのみチェックします。(略語: NOA) |
ALIAS |
メンバー名が指定された場合、エイリアスもコピーします。OpenFrameでは構文エラーのみチェックします。(略語: A) |
NOINSFIELD |
入力データセットの行番号が存在しません。OpenFrameでは構文エラーのみチェックします。(略語: NOI) |
INSFIELD |
入力データセットの行番号の位置と長さを指定します。OpenFrameでは構文エラーのみチェックします。(略語: I) |
NOOUTSFIELD |
出力データセットの行番号が存在しません。OpenFrameでは構文エラーのみチェックします。(略語: NOO) |
OUTSFIELD |
出力データセットの行番号の位置と長さを指定します。OpenFrameでは構文エラーのみチェックします。(略語: O) |
NOTRUNCATE |
入力データセットのレコード長が出力データセットのレコード長より大きい場合はエラーが発生します。OpenFrameでは構文エラーのみチェックします。(略語: NOT) |
TRUNCATE |
出力データセットのレコード長に合わせてレコード長を調整します。OpenFrameでは構文エラーのみチェックします。(略語: TR) |
使用例
以下は、CPYFILE文の使用例です。
CPYFILE 'USER01.SEQ.IFILE' 'USER01.SEQ.OFILE' REPLACE
16. CPYTAP文
テープ・ボリューム間の複製を行います。
使用法

| 項目 | 説明 |
|---|---|
ivolume |
入力テープ・ボリュームのシリアル番号を指定します。 |
ovolume |
出力テープ・ボリュームのシリアル番号を指定します。 |
iunit |
入力テープ装置名またはモデル名を指定します。OpenFrameでは構文エラーのみチェックします。 |
ounit |
出力テープ装置名またはモデル名を指定します。OpenFrameでは構文エラーのみチェックします。 |
den |
出力テープ・ボリュームの記録密度を指定します。OpenFrameでは構文エラーのみチェックします。 |
オペランド
以下は、オペランドについての説明です。
| オペランド | 説明 |
|---|---|
REP |
入力テープ・ボリュームのファイルを出力テープ・ボリュームの先頭ファイルに上書きします。 |
ADD |
入力テープ・ボリュームのファイルを出力テープ・ボリュームの末尾に追加します。 |
IVOLUME |
入力テープ・ボリュームのシリアル番号を指定します。 |
INL |
ラベルのない入力テープ・ボリュームです。OpenFrameでは構文エラーのみチェックします。 |
OVOLUME |
出力テープ・ボリュームのシリアル番号を指定します。 |
ONL |
ラベルのない出力テープ・ボリュームです。OpenFrameでは構文エラーのみチェックします。 |
IUNIT |
入力テープ装置名またはモデル名を指定します。OpenFrameでは構文エラーのみチェックします。 |
OUNIT |
出力テープ装置名またはモデル名を指定します。OpenFrameでは構文エラーのみチェックします。 |
DEN |
出力テープ・ボリュームの記録密度を指定します。OpenFrameでは構文エラーのみチェックします。 |
COMPRESS |
出力テープ・ボリュームを圧縮します。OpenFrameでは構文エラーのみチェックします。 |
BYPASS |
出力テープ・ボリュームの先頭ファイルの有効期限をチェックしません。OpenFrameでは構文エラーのみチェックします。 |
使用例
以下は、CPYTAP文の使用例です。
CPYTAP REP IVOLUME(VOL1) OVOLUME(VOL2) IUNIT(UNIT1) OUNIT(UNIT2)
17. CRTFILE文
データセットを作成するか、あるいはカタログに登録します。
使用法






| 項目 | 説明 |
|---|---|
volume |
データセットが存在するボリュームのシリアル番号を指定します。 |
quantity |
データセットの作成時、最初に割り当てるスペースの容量を指定します。 |
increment |
データセットの作成中にスペースが不足して追加しなければならない場合、一度の追加できる値を指定します。 |
rlength |
最大レコード長を指定します。 |
blength |
ブロック長を指定します。 |
like |
指定したデータセットの属性に従ってファイルを作成します。OpenFrameでは構文エラーのみチェックします。 |
partitioned |
区分データセットのディレクトリ・ブロック数を指定します。 |
gem |
GEMファイルを作成するように指定します。OpenFrameでは構文エラーのみチェックします。 |
オペランド
以下は、オペランドについての説明です。
| オペランド | 説明 |
|---|---|
VOLUME |
データセットが存在するボリュームのシリアル番号を指定します。(略語: VOL、V) |
SPACE |
新規データセットのスペース割り当て量を指定します。(略語: SPA、SP) |
RLENGTH |
最大ブロック長を指定します。(略語: RL、R) |
BLENGTH |
ブロック長を指定します。(略語: BLE) |
LIKE |
指定したデータセットの属性に従ってファイルを作成します。OpenFrameでは構文エラーのみチェックします。(略語: L) |
CATALOG |
カタログにデータセットを登録します。(略語: CAT、CA) |
SEQUENTIAL |
順次データセットを作成するように指定します。(略語: SEQ、SE) |
PARTITIONED |
区分データセットを作成するように指定します。(略語: P) |
GEM |
GEMファイルを作成するように指定します(略語: G)。OpenFrameでは構文エラーのみチェックします。 |
DFORMAT |
区分データセットのディレクトリ形式を指定します。OpenFrameでは構文エラーのみチェックします。(略語: D) |
BLOCKS |
スペース割り当て量の初期値と追加値の単位がブロックです。(略語: BLO) |
TRACKS |
スペース割り当て量の初期値と追加値の単位がトラックです。(略語: TR) |
CYLINDERS |
スペース割り当て量の初期値と追加値の単位がシリンダーです。(略語: CY) |
FORMAT |
レコード形式を指定します。(略語: F)
|
CONTROL |
制御文字を指定します。OpenFrameでは構文エラーのみチェックします。(略語: CO) |
使用例
以下は、CRTFILE文の使用例です。
CRTFILE 'USER001.SEQ.FILE' VOL(VOL01) CA
18. CRTJOBS文
イベントの発生とジョブの開始を連携して予約します。
使用法





| 項目 | 説明 |
|---|---|
jobname |
開始するジョブ名を指定します。 |
dsname |
開始するジョブが格納されているPDS名を指定します。 |
time |
指定した時刻にジョブを開始します。HH.MM形式で指定します。 |
date |
指定した日時にジョブを開始します。OpenFrameでは構文エラーのみチェックします。 |
week |
指定した曜日にジョブを開始します。OpenFrameでは構文エラーのみチェックします。 |
message |
指定したメッセージの出力時にジョブを開始します。OpenFrameでは構文エラーのみチェックします。 |
system |
指定したシステム・イベントの発生時にジョブを開始します。OpenFrameでは構文エラーのみチェックします。 |
endjobname |
指定したジョブの終了時にジョブを開始します。OpenFrameでは構文エラーのみチェックします。 |
msgid |
指定した識別番号を持つメッセージの出力時にジョブを開始します。OpenFrameでは構文エラーのみチェックします。 |
waitdsname |
指定したデータセットの作成時にジョブを開始します。OpenFrameでは構文エラーのみチェックします。 |
オペランド
以下は、オペランドについての説明です。
| オペランド | 説明 |
|---|---|
JOBNAME |
開始するジョブ名を指定します。(略語: JOBN) |
DSNAME |
開始するジョブが格納されているPDS名を指定します。(略語: DSN) |
TIME |
指定した時刻にジョブを開始します。 |
DATE |
指定した日時にジョブを開始します。OpenFrameでは構文エラーのみチェックします。 |
WEEK |
指定した曜日にジョブを開始します。OpenFrameでは構文エラーのみチェックします。 |
MESSAGE |
指定したメッセージの出力時にジョブを開始します。OpenFrameでは構文エラーのみチェックします。 |
SYSTEM |
指定したシステム・イベントの発生時にジョブを開始します。OpenFrameでは構文エラーのみチェックします。 |
ENDJOBNAME |
指定したジョブの終了時にジョブを開始します。OpenFrameでは構文エラーのみチェックします。 |
MSGID |
指定した識別番号を持つメッセージの出力時にジョブを開始します。OpenFrameでは構文エラーのみチェックします。 |
DATASET |
指定したデータセットの作成時にジョブを開始します。OpenFrameでは構文エラーのみチェックします。 |
KEEP |
イベントが発生しても予約を維持します。OpenFrameでは構文エラーのみチェックします。 |
ONCE |
イベントが発生したら予約を解除します。 |
使用例
以下は、CRTJOBS文の使用例です。
CRTJOBS JOBN(JOB01) DSN('SYS1.JCLLIB') TIME(18.00) ONCE
20. CVTTAP文
テープ・ボリュームのファイルを一般的なボリュームにコピーするか、あるいはその逆を行います。
使用法


| 項目 | 説明 |
|---|---|
mtdsname |
テープ・ボリュームに含まれている入力ファイル名を指定します。 |
dsname |
アクセス・ボリュームに含まれている入力ファイル名を指定します。 |
odsname |
出力ファイル名を指定します。 |
iunit |
入力ファイルが含まれているテープ・ボリュームの装置名またはモデル名を指定します。 |
ounit |
出力ファイルが含まれているテープ・ボリュームの装置名またはモデル名を指定します。 |
ivolume |
入力ファイルが含まれているテープ・ボリュームのシリアル番号を指定します。 |
ovolume |
出力ファイルが含まれているテープ・ボリュームのシリアル番号を指定します。 |
irecfm |
入力ファイルのレコード形式を指定します。OpenFrameでは構文エラーのみチェックします。 |
irecl |
入力ファイルのレコード長を指定します。OpenFrameでは構文エラーのみチェックします。 |
iblksize |
入力ファイルのブロック長を指定します。OpenFrameでは構文エラーのみチェックします。 |
position |
テープ・ボリュームの順序番号を指定します。OpenFrameでは構文エラーのみチェックします。 |
oblksize |
出力ファイルのブロック長を指定します。OpenFrameでは構文エラーのみチェックします。 |
oretpd |
出力ファイルの保存期間を指定します。OpenFrameでは構文エラーのみチェックします。 |
ddname |
DD名を指定します。OpenFrameでは構文エラーのみチェックします。 |
sysprint |
メッセージの出力クラスを指定します。OpenFrameでは構文エラーのみチェックします。 |
メッセージを出力するファイルを指定します。OpenFrameでは構文エラーのみチェックします。 |
オペランド
以下は、オペランドについての説明です。
| オペランド | 説明 |
|---|---|
MTDSNAME |
テープ・ボリュームに含まれている入力ファイル名を指定します。 |
DSNAME |
アクセス・ボリュームに含まれている入力ファイル名を指定します。 |
ODSNAME |
出力ファイル名を指定します。 |
IUNIT |
入力ファイルが含まれているテープ・ボリュームの装置名またはモデル名を指定します。 |
OUNIT |
出力ファイルが含まれているテープ・ボリュームの装置名またはモデル名を指定します。 |
IVOLUME |
入力ファイルが含まれているテープ・ボリュームのシリアル番号を指定します。 |
INL |
入力ファイルが含まれているテープ・ボリュームがラベルのない形式です。OpenFrameでは構文エラーのみチェックします。 |
OVOLUME |
出力ファイルが含まれているテープ・ボリュームのシリアル番号を指定します。 |
ONL |
出力ファイルが含まれているテープ・ボリュームがラベルのない形式です。OpenFrameでは構文エラーのみチェックします。 |
IRECFM |
入力ファイルのレコード形式を指定します。OpenFrameでは構文エラーのみチェックします。 |
IRECL |
入力ファイルのレコード長を指定します。OpenFrameでは構文エラーのみチェックします。 |
IBLKSIZE |
入力ファイルのブロック長を指定します。OpenFrameでは構文エラーのみチェックします。 |
POSITION |
テープ・ボリューム内ファイルの順序番号を指定します。OpenFrameでは構文エラーのみチェックします。 |
OBLKSIZE |
出力ファイルのブロック長を指定します。OpenFrameでは構文エラーのみチェックします。 |
ORETPD |
出力ファイルの保存期間を指定します。OpenFrameでは構文エラーのみチェックします。 |
ADD |
出力ファイルがテープ・ボリュームに含まれている場合、テープ・ボリュームにすでに存在しているファイルの後ろに追加します。指定しない場合は、テープ・ボリュームの先頭に追加します。 |
RETAIN |
処理の終了時にテープ・ボリュームの自動分離を迂回します。OpenFrameでは構文エラーのみチェックします。 |
DDNAME |
DD名を指定します。OpenFrameでは構文エラーのみチェックします。 |
SYSPRINT |
メッセージの出力クラスを指定します。OpenFrameでは構文エラーのみチェックします。 |
メッセージを出力するファイルを指定します。OpenFrameでは構文エラーのみチェックします。 |
|
NOPRINT |
メッセージを出力しません。OpenFrameでは構文エラーのみチェックします。 |
使用例
以下は、CVTTAP文の使用例です。
CVTTAP MTDSNAME('A.MT') IUNIT(U1) ODSNAME('A.OUT')
21. DELETE文
順次データセットや区分データセットのメンバーをカタログから削除します。
使用法







| 項目 | 説明 |
|---|---|
dsname |
データセット名を指定します。 |
catalog |
削除する項目が登録されているカタログを指定します。 |
ddname |
削除する項目を含むボリュームのDD名を指定します。OpenFrameでは構文エラーのみチェックします。 |
オペランド
以下は、オペランドについての説明です。
| オペランド | 説明 |
|---|---|
CATALOG |
削除する項目が登録されているカタログを指定します。(略語: CAT) |
FILE |
削除する項目を含むボリュームのDD名を指定します。OpenFrameでは構文エラーのみチェックします。 |
PURGE |
保存期間が残っていても削除します。OpenFrameでは構文エラーのみチェックします。(略語: PU) |
NOPURGE |
保存期間が残っている場合は削除しません。OpenFrameでは構文エラーのみチェックします。(略語: NPRG) |
ERASE |
クラスターを削除する際にデータ・コンポーネントを0x00に設定します。OpenFrameでは構文エラーのみチェックします。(略語: ERAS) |
NOERASE |
クラスターを削除する際にデータ・コンポーネントを0x00に設定しません。OpenFrameでは構文エラーのみチェックします。(略語: NERAS) |
SCRATCH |
カタログを解放する際にボリューム・スペースも削除します。OpenFrameでは構文エラーのみチェックします。 |
NOSCRATCH |
カタログを解放する際にボリューム・スペースは削除しません。OpenFrameでは構文エラーのみチェックします。(略語: NSCR) |
FORCE |
VSAMデータ・スペースに項目があっても強制的に削除します。OpenFrameでは構文エラーのみチェックします。(略語: FRC) |
NOFORCE |
VSAMデータ・スペースに項目がある場合は削除しません。OpenFrameでは構文エラーのみチェックします。(略語: NFRC) |
WITHSECURITY |
NOSCRATCHが指定されている場合、TRUST安全情報を削除します。OpenFrameでは構文エラーのみチェックします。(略語: WSEC) |
WITHOUTSECURITY |
NOSCRATCHが指定されている場合、TRUST安全情報を削除しません。OpenFrameでは構文エラーのみチェックします。(略語: WOSEC) |
PATH |
補助索引のアクセス・パスを削除します。OpenFrameでは構文エラーのみチェックします。 |
ALTERNATEINDEX |
補助索引のクラスターおよび構成要素を削除します。OpenFrameでは構文エラーのみチェックします。(略語: AIX) |
CLUSTER |
クラスターおよび構成要素を削除します。(略語: CL) |
PAGESPACE |
ページ・スペースのクラスターおよび構成要素を削除します。(略語: PGSPC) |
NONVSAM |
非VSAMのデータセットを削除します。(略語: NVSAM) |
ALIAS |
エイリアスを削除します。 |
GENERATIONDATAGROUP |
世代別データ・グループを削除します。(略語: GDG) |
SPACE |
VSAMデータ・スペースを削除します。OpenFrameでは構文エラーのみチェックします。(略語: SPC) |
USERCATALOG |
ユーザー・カタログを削除します。(略語: UCAT) |
使用例
以下は、DELETE文の使用例です。
DELETE (DS1,DS2)
22. DFNFATR文
ASCFILE文やASCLP文より使用されるデータセットの属性リストを定義します。DFNFATR文で定義した属性リストは、ASCFILE文やASCLP文でUSINGオペランドを使って使用できます。
使用法






| 項目 | 説明 |
|---|---|
name |
属性リスト名を指定します。 |
blksz |
ブロックのサイズを指定します。 |
rec_len |
レコード長を指定します。 |
expdt |
データセットの満了日を指定します。 |
retpd |
データセットの保存期限を日数単位で指定します。 |
bufno |
使用するバッファーの数を指定します。OpenFrameでは構文エラーのみチェックします。 |
keylen |
キーの長さを指定します。 |
ptcode |
紙テープの識別名を指定します。OpenFrameでは構文エラーのみチェックします。 |
オペランド
以下は、オペランドについての説明です。
| オペランド | 説明 |
|---|---|
BLKSIZE |
ブロックのサイズを指定します。 |
LRECL |
レコード長を指定します。 |
EXPDT |
データセットの満了日を指定します。 |
RETPD |
データセットの保存期限を指定します。 |
BUFNO |
使用するバッファーの数を指定します。OpenFrameでは構文エラーのみチェックします。 |
KEYLEN |
キーの長さを指定します。 |
PTCODE |
紙テープの識別名を指定します。OpenFrameでは構文エラーのみチェックします。 |
DSORG |
データセットの構造を指定します。
|
RECFM |
レコードの形式と特性を指定します。
|
BFALN |
バッファーの境界合わせをします。OpenFrameでは構文エラーのみチェックします。 |
OPTCD |
オプション機能を指定します。OpenFrameでは構文エラーのみチェックします。 |
EROPT |
データ・エラー検出時の処理方法を指定します。OpenFrameでは構文エラーのみチェックします。 |
使用例
以下は、DFNFATR文の使用例です。
DFNFATR DCB1 RECFM(F),LRECL(80),DSORG(PS)
24. DLTDS文
データセットあるいはデータセットのメンバーを削除します。
使用法
| 項目 | 説明 |
|---|---|
dsname |
データセット名を指定します。PDSのメンバーを削除するときは、メンバー名を括弧で囲んで指定します。 |
使用例
以下は、DLTDS文の使用例です。
DLTDS 'A.PDS(MEMBER1)'
25. DLTFILE文
データセットあるいはデータセットのメンバーを削除したり、データセットをカタログから削除します。
使用法

| 項目 | 説明 |
|---|---|
dsname |
データセット名を指定します。PDSのメンバーを削除するときは、メンバー名を括弧で囲んで指定します。 |
mpassword |
GEMファイル・メンバーのパスワードを指定します。OpenFrameでは構文エラーのみチェックします。 |
volume |
データセットが含まれているボリュームのシリアル番号を指定します。 |
オペランド
以下は、オペランドについての説明です。
| オペランド | 説明 |
|---|---|
NOALIAS |
指定したメンバーのみ削除します。OpenFrameでは構文エラーのみチェックします。(略語: N) |
ALIAS |
指定したメンバーのエイリアスも削除します。OpenFrameでは構文エラーのみチェックします。(略語: A) |
CATALOG |
カタログ情報のみ削除します。(略語: C) |
MPASSWORD |
GEMファイル・メンバーのパスワードを指定します。OpenFrameでは構文エラーのみチェックします。(略語: M) |
VOLUME |
データセットが含まれているボリュームのシリアル番号を指定します。(略語: V) |
使用例
以下は、DLTFILE文の使用例です。
DLTFILE 'USER001.SEQ.FILE'
27. DLTJOB文
実行中のジョブを停止し、実行待ちのジョブはキャンセルします。また、JOBQから該当するジョブを削除します。
使用法



| 項目 | 説明 |
|---|---|
jobname |
指定したジョブ名を持つジョブをJOBQから削除します。アスタリスク(*)を使用した場合は、ジョブ名に関係なくJOBQから削除します。 |
jobcode |
指定したジョブ・コードを持つジョブをJOBQから削除します。OpenFrameでは構文エラーのみチェックします。 |
user |
指定したユーザーが所有するジョブをJOBQから削除します。アスタリスク(*)を使用した場合は、ジョブの所有者に関係なくJOBQから削除します。 |
class |
指定した出力クラスに含まれているジョブをJOBQから削除します。 |
ogroup |
指定した出力ジョブ・グループに含まれているジョブをJOBQから削除します。OpenFrameでは構文エラーのみチェックします。 |
jgroup |
指定したジョブ・グループに含まれているジョブをJOBQから削除します。OpenFrameでは構文エラーのみチェックします。 |
オペランド
以下は、オペランドについての説明です。
| オペランド | 説明 |
|---|---|
JOBCODE |
指定したジョブ・コードを持つジョブをJOBQから削除します。OpenFrameでは構文エラーのみチェックします。 |
USER |
指定したユーザーが所有するジョブをJOBQから削除します。アスタリスク(*)を使用した場合は、ジョブの所有者に関係なくJOBQから削除します。 |
CLASS |
指定した出力クラスに含まれているジョブをJOBQから削除します。 |
OGROUP |
指定した出力ジョブ・グループに含まれているジョブをJOBQから削除します。OpenFrameでは構文エラーのみチェックします。 |
JGROUP |
指定したジョブ・グループに含まれているジョブをJOBQから削除します。OpenFrameでは構文エラーのみチェックします。 |
IN |
実行待ちのジョブのみ削除します。 |
EXEC |
実行中のジョブのみ削除します。 |
OUT |
出力待ちのジョブのみ削除します。 |
STEP |
現在のジョブ・ステップのみ削除します。OpenFrameでは構文エラーのみチェックします。 |
NOSTEP |
ジョブ全体を削除します。 |
使用例
以下は、DLTJOB文の使用例です。
DLTJOB JOBA USER(USER01) EXEC
28. DROP文
監視中の特定のイベントへの監視を解除します。
使用法









| 項目 | 説明 |
|---|---|
message |
メッセージ出力への監視を解除します。指定した文字列とメッセージの先頭が一致すれば対象となります。「%.文字列」形式で指定した場合は、メッセージの中間部分が文字列と一致すれば対象となります。 |
readyjobname |
ジョブの開始への監視を解除します。OpenFrameでは構文エラーのみチェックします。 |
endjobname |
ジョブの終了への監視を解除します。 |
msgid |
特定の識別番号を持つメッセージへの監視を解除します。 |
system |
システム・イベントの発生への監視を解除します。OpenFrameでは構文エラーのみチェックします。 |
userevent |
ユーザー・イベントの発生への監視を解除します。OpenFrameでは構文エラーのみチェックします。 |
dataset |
データセットの作成への監視を解除します。OpenFrameでは構文エラーのみチェックします。 |
mount |
ボリュームのマウントへの監視を解除します。OpenFrameでは構文エラーのみチェックします。 |
sysout |
ジョブの出力終了への監視を解除します。OpenFrameでは構文エラーのみチェックします。 |
オペランド
以下は、オペランドについての説明です。
| オペランド | 説明 |
|---|---|
MESSAGE |
メッセージの出力への監視を解除します。 |
READYJOBNAME |
ジョブの開始への監視を解除します。OpenFrameでは構文エラーのみチェックします。 |
ENDJOBNAME |
ジョブの終了への監視を解除します。 |
MSGID |
特定の識別番号を持つメッセージの出力への監視を解除します。 |
SYSTEM |
システム・イベントの発生への監視を解除します。OpenFrameでは構文エラーのみチェックします。 |
USEREVENT |
ユーザー・イベントの発生への監視を解除します。OpenFrameでは構文エラーのみチェックします。 |
DATASET |
データセットの作成への監視を解除します。OpenFrameでは構文エラーのみチェックします。 |
MOUNT |
ボリュームのマウントへの監視を解除します。OpenFrameでは構文エラーのみチェックします。 |
SYSOUT |
ジョブの出力終了への監視を解除します。OpenFrameでは構文エラーのみチェックします。 |
使用例
以下は、DROP文の使用例です。
DROP ENDJOBNAME(JOBA JOBB)
29. DSN文
新しいDSN(DB2 Command Processor)セッションを開始します。
|
DSN文の詳細については、OpenFrame Batch『ユーティリティリファレンスガイド』の「IKJEFT01」のコマンド設定を参照してください。 |
30. EVENT文
特定のイベントへの監視を開始します。イベントの発生履歴は内部に保存されます。STACKオペランドを指定すると、イベントの発生履歴を保存しておくことができます。以降、同じイベントに対してWAIT文を実行すると、当該イベントが発生するまで待機します。
使用法










| 項目 | 説明 |
|---|---|
message |
特定のメッセージの出力を監視します。指定した文字列とメッセージの先頭が一致すれば対象となります。「%.文字列」形式で指定した場合は、メッセージの中間部分が一致すれば対象となります。 |
readyjobname |
特定のジョブの開始を監視します。OpenFrameでは構文エラーのみチェックします。 |
endjobname |
特定のジョブの終了を監視します。 |
msgid |
特定の識別番号を持つメッセージの出力を監視します。 |
system |
特定のシステム・イベントの発生を監視します。OpenFrameでは構文エラーのみチェックします。 |
userevent |
特定のユーザー・イベントの発生を監視します。OpenFrameでは構文エラーのみチェックします。 |
dataset |
特定のデータセットの作成を監視します。OpenFrameでは構文エラーのみチェックします。 |
mount |
特定のボリュームのマウントを監視します。OpenFrameでは構文エラーのみチェックします。 |
sysout |
特定のジョブの出力終了を監視します。OpenFrameでは構文エラーのみチェックします。 |
オペランド
以下は、オペランドについての説明です。
| オペランド | 説明 |
|---|---|
MESSAGE |
特定のメッセージの出力を監視します。 |
READYJOBNAME |
特定のジョブの開始を監視します。OpenFrameでは構文エラーのみチェックします。 |
ENDJOBNAME |
特定のジョブの終了を監視します。(略語: END) |
MSGID |
特定の識別番号を持つメッセージの出力を監視します。 |
SYSTEM |
特定のシステム・イベントの発生を監視します。OpenFrameでは構文エラーのみチェックします。 |
USEREVENT |
特定のユーザー・イベントの発生を監視します。OpenFrameでは構文エラーのみチェックします。 |
DATASET |
特定のデータセットの作成を監視します。OpenFrameでは構文エラーのみチェックします。 |
MOUNT |
特定のボリュームのマウントを監視します。OpenFrameでは構文エラーのみチェックします。 |
SYSOUT |
特定のジョブの出力終了を監視します。OpenFrameでは構文エラーのみチェックします。 |
STACK |
イベントの発生時、その発生履歴を処理する方法を指定します。
|
使用例
以下は、EVENT文の使用例です。
EVENT ENDJOBNAME(JOBA JOBB) STACK(YES)
31. EXCCL文
コマンド・プロシージャを呼び出します。
使用法





| 項目 | 説明 |
|---|---|
member |
コマンド・プロシージャが保存されているメンバー名を指定します。 |
pdsname |
コマンド・プロシージャが保存されているPDSの名前を指定します。 |
param |
コマンド・プロシージャ内のPROC文で定義されている記号パラメータに渡す文字列を指定します。 |
jobname |
コマンド・プロシージャをバッチ環境で実行する場合のジョブ名を指定します。OpenFrameでは構文エラーのみチェックします。 |
account |
コマンド・プロシージャをバッチ環境で実行する場合のアカウント名を指定します。OpenFrameでは構文エラーのみチェックします。 |
region |
コマンド・プロシージャをバッチ環境で実行する場合のメモリ使用量を指定します。OpenFrameでは構文エラーのみチェックします。 |
time |
コマンド・プロシージャをバッチ環境で実行する場合のジョブの終了時間を指定します。OpenFrameでは構文エラーのみチェックします。 |
spoolprty |
コマンド・プロシージャをバッチ環境で実行する場合のジョブの出力優先順位を指定します。OpenFrameでは構文エラーのみチェックします。 |
execprty |
コマンド・プロシージャをバッチ環境で実行する場合のジョブの実行優先順位を指定します。OpenFrameでは構文エラーのみチェックします。 |
jobgroup |
コマンド・プロシージャをバッチ環境で実行する場合のジョブのグループ名を指定します。OpenFrameでは構文エラーのみチェックします。 |
date |
コマンド・プロシージャをバッチ環境で実行する場合、アプリケーション・プログラムのリストをプリンターで出力する日付を指定します。OpenFrameでは構文エラーのみチェックします。 |
ogroup |
出力ジョブのグループ名を指定します。OpenFrameでは構文エラーのみチェックします。 |
msgclass |
コマンド・プロシージャをバッチ環境で実行する場合の出力クラスを指定します。OpenFrameでは構文エラーのみチェックします。 |
オペランド
以下は、オペランドについての説明です。
| オペランド | 説明 |
|---|---|
FILE |
コマンド・プロシージャが保存されているPDSの名前を指定します。(略語: F) |
PARAM |
コマンド・プロシージャ内のPROC文で定義されている記号パラメータに渡す文字列を指定します。(略語: P) |
JOBNAME |
コマンド・プロシージャをバッチ環境で実行する場合のジョブ名を指定します。OpenFrameでは構文エラーのみチェックします。 |
ACCOUNT |
コマンド・プロシージャをバッチ環境で実行する場合のアカウント名を指定します。OpenFrameでは構文エラーのみチェックします。 |
REGION |
コマンド・プロシージャをバッチ環境で実行する場合のメモリ使用量を指定します。OpenFrameでは構文エラーのみチェックします。 |
TIME |
コマンド・プロシージャをバッチ環境で実行する場合のジョブの終了時間を指定します。OpenFrameでは構文エラーのみチェックします。 |
SPOOLPRTY |
コマンド・プロシージャをバッチ環境で実行する場合のジョブの出力優先順位を指定します。OpenFrameでは構文エラーのみチェックします。 |
EXECPRTY |
コマンド・プロシージャをバッチ環境で実行する場合のジョブの実行優先順位を指定します。OpenFrameでは構文エラーのみチェックします。 |
JOBGROUP |
コマンド・プロシージャをバッチ環境で実行する場合のジョブのグループ名を指定します。OpenFrameでは構文エラーのみチェックします。 |
DATE |
コマンド・プロシージャをバッチ環境で実行する場合、アプリケーション・プログラムのリストをプリンターで出力する日付を指定します。OpenFrameでは構文エラーのみチェックします。 |
OGROUP |
出力ジョブのグループ名を指定します。OpenFrameでは構文エラーのみチェックします。 |
CAPS |
パラメータ・リストを大文字に変換します。OpenFrameでは構文エラーのみチェックします。 |
ASIS |
パラメータ・リストを大文字に変換しません。OpenFrameでは構文エラーのみチェックします。 |
DIRECT |
コマンド・プロシージャを直接実行します。OpenFrameでは構文エラーのみチェックします。 |
INDIRECT |
コマンド・プロシージャをバッチ環境で実行します(略語: IND)。OpenFrameでは構文エラーのみチェックします。 |
MSGCLASS |
コマンド・プロシージャをバッチ環境で実行する場合の出力クラスを指定します。OpenFrameでは構文エラーのみチェックします。 |
NOMSGCLASS |
コマンド・プロシージャをバッチ環境で実行する場合の出力クラスを指定しません。OpenFrameでは構文エラーのみチェックします。 |
SLANG |
コマンド・プロシージャをバッチ環境で実行する場合の出力メッセージの言語を指定します。OpenFrameでは構文エラーのみチェックします。 |
使用例
以下は、EXCCL文の使用例です。
EXCCL EX1 FILE('SYS1.PROCLIB') PARAM('''ABC''')
32. EXCEFI文
PSAMマップを使って画面を処理します。画面の入力フィールドから入力値を受け取り、その受け取った値はCLISTにより処理されます。
使用法
EXCEFIでは、以下のメイン・パラメータを使用して画面の処理を行います。

| 項目 | 説明 |
|---|---|
INIT |
画面処理のための環境および変数を初期化します。 |
OPEN |
初期化された値で画面処理を行います。 |
PUT |
CLISTで宣言された値を指定された変数に割り当てます。 |
WRITE |
指定された画面と変数を出力フィールドに出力します。 |
READ |
画面を介して入力フィールドに入力された値を読み込みます。 |
GET |
入力された値をCLISTの指定変数に割り当てます。 |
CLOSE |
画面処理を終了します。 |
END |
画面処理のための環境および変数をメモリからクリアします。 |
以下は、各パラメータの使用法とオペランドについての説明です。
-
INIT

項目 説明 var_name
項目の変数名を指定します。
以下は、オペランドについての説明です。
オペランド 説明 MESSAGE
メッセージの戻り値を保存します。OpenFrameでは構文エラーのみチェックします。(略語: M)
DIRECT|NODIRECT
-
DIRECT : 画面の出力機能が呼び出された時点で画面を出力します。
-
NODIRECT : 画面の入力機能が呼び出される時点まで画面を出力しません。
省略可能です。OpenFrameでは構文エラーのみチェックします。
MENU
出力するマップファイルが割り当てられたDD名を指定します。省略可能です。
-
-
OPEN

項目 説明 ddname
出力するマップファイルが割り当てられたDD名を指定します。
var_name
項目の変数名を指定します。
以下は、オペランドについての説明です。
オペランド 説明 MESSAGE
メッセージの戻り値を保存します。OpenFrameでは構文エラーのみチェックします。(略語: M)
-
PUT


項目 説明 ddname
出力するマップファイルが割り当てられたDD名を指定します。
menu_name
出力するマップファイル名を指定します。
var_name
項目の変数名を指定します。
以下は、オペランドについての説明です。
オペランド 説明 MESSAGE
メッセージの戻り値を保存します。OpenFrameでは構文エラーのみチェックします。(略語: M)
VAR
画面の入出力フィールドに対する変数名を指定します。
-
WRITE

項目 説明 ddname
出力するマップファイルが割り当てられたDD名を指定します。
menu_name
出力するマップファイル名を指定します。
var_name
項目の変数名を指定します。
以下は、オペランドについての説明です。
オペランド 説明 MESSAGE
メッセージの戻り値を保存します。OpenFrameでは構文エラーのみチェックします。(略語: M)
-
READ

項目 説明 ddname
出力するマップファイルが割り当てられたDD名を指定します。
menu_name
出力するマップファイル名を指定します。
var_name
項目の変数名を指定します。
以下は、オペランドについての説明です。
オペランド 説明 AID
ファンクションキーの入力を処理します。
MESSAGE
メッセージの戻り値を保存します。OpenFrameでは構文エラーのみチェックします。(略語: M)
-
GET


項目 説明 ddname
出力するマップファイルが割り当てられたDD名を指定します。
menu_name
出力するマップファイル名を指定します。
var_name
項目の変数名を指定します。
以下は、オペランドについての説明です。
オペランド 説明 MESSAGE
メッセージの戻り値を保存します。OpenFrameでは構文エラーのみチェックします。(略語: M)
VAR
画面を介して入力された値を返す変数名を指定します。
-
CLOSE

項目 説明 ddname
終了するマップファイルが割り当てられたDD名を指定します。
var_name
項目の変数名を指定します。
以下は、オペランドについての説明です。
オペランド 説明 MESSAGE
メッセージの戻り値を保存します。OpenFrameでは構文エラーのみチェックします。(略語: M)
-
END

項目 説明 var_name
項目の変数名を指定します。
以下は、オペランドについての説明です。
オペランド 説明 MESSAGE
メッセージの戻り値を保存します。OpenFrameでは構文エラーのみチェックします。(略語: M)
使用例
以下は、EXCEFI文の使用例です。
EXCEFI INIT MESSAGE(INM) DIRECT MENU(FGIFMT) EXCEFI OPEN FGIFMT MESSAGE(INM) EXCEFI PUT FGIFMT TMENU M(INM) VAR(NINUSI,KENSYU) EXCEFI WRITE FGIFMT TMENU M(INM) EXCEFI READ FGIFMT TMENU AID M(INM) EXCEFI GET FGIFMT TMENU M(INM) VAR(NINUSI,KENSYU) EXCEFI CLOSE FGIFMT MESSAGE(INM) EXCEFI END MESSAGE(INM)
33. EXCEFW文
PSAMマップを使って画面を処理します。入力値はPSAMマップに返され、その入力値に応じて他のマップを出力するか、CLISTを実行するか、あるいはCOBOLプログラムなどを実行します。
使用法






| 項目 | 説明 |
|---|---|
dsname |
画面に表示するPSAMマップ名を指定します。 |
param |
OpenFrameでは構文エラーのみチェックします。 |
ped_name |
OpenFrameでは構文エラーのみチェックします。 |
apg_name |
OpenFrameでは構文エラーのみチェックします。 |
dir_id |
OpenFrameでは構文エラーのみチェックします。 |
オペランド
以下は、オペランドについての説明です。
| オペランド | 説明 |
|---|---|
PED |
OpenFrameでは構文エラーのみチェックします。 |
APG |
OpenFrameでは構文エラーのみチェックします。 |
DID |
OpenFrameでは構文エラーのみチェックします。 |
RDBII |
OpenFrameでは構文エラーのみチェックします。 |
SEARCH |
OpenFrameでは構文エラーのみチェックします。 |
DIRECT |
OpenFrameでは構文エラーのみチェックします。 |
NODIRECT |
OpenFrameでは構文エラーのみチェックします。 |
LOG |
OpenFrameでは構文エラーのみチェックします。 |
APLTEST |
OpenFrameでは構文エラーのみチェックします。 |
COMP |
OpenFrameでは構文エラーのみチェックします。 |
NOCOMP |
OpenFrameでは構文エラーのみチェックします。 |
DISP |
OpenFrameでは構文エラーのみチェックします。 |
NODISP |
OpenFrameでは構文エラーのみチェックします。 |
TRACE |
OpenFrameでは構文エラーのみチェックします。 |
NOTRACE |
OpenFrameでは構文エラーのみチェックします。 |
使用例
以下は、EXCEFW文の使用例です。
EXCEFW GCMENU
34. EXCPGM文
アプリケーション・プログラムや動的ライブラリを実行します。プログラムの終了コードがEXCPGMコマンドのリターンコードに設定されます。
使用法

| 項目 | 説明 |
|---|---|
member |
外部プログラムが保存されているメンバー名を指定します。 |
param |
プログラムに渡すパラメータ値を指定します。 |
pdsname |
外部プログラムが保存されているPDSの名前を指定します。 |
オペランド
以下は、オペランドについての説明です。
| オペランド | 説明 |
|---|---|
FILE |
外部プログラムが保存されているPDSの名前を指定します。(略語: F) |
CAPS |
パラメータのリストを大文字に変換します。 |
ASIS |
パラメータのリストを大文字に変換しません。 |
使用例
以下は、EXCPGM文の使用例です。
EXCPGM JLAASSY '12,ALL' FILE(SYS1.LINKLIB) ASIS
35. EXEC文
コマンド・プロシージャを呼び出します。
使用法

| 項目 | 説明 |
|---|---|
dataset |
コマンド・プロシージャのデータセット名を指定します。 |
value |
記号パラメータの値を指定します。複数の値を指定する場合は、引用符(' ')で値全体を囲みます。 |
オペランド
以下は、オペランドについての説明です。
| オペランド | 説明 |
|---|---|
NOLIST |
コマンドを表示しません。OpenFrameでは構文エラーのみチェックします。(略語: NOL) |
LIST |
コマンドを表示します。OpenFrameでは構文エラーのみチェックします。(略語: L) |
NOPROMPT |
ターミナル・プロンプトを使用しません。OpenFrameでは構文エラーのみチェックします。(略語: NOP) |
PROMPT |
ターミナル・プロンプトを使用します。OpenFrameでは構文エラーのみチェックします。(略語: P) |
使用例
以下は、EXEC文の使用例です。
EXEC 'TSO1.EX1.CLIST' 'ABC'
36. FEXPORT文
以下は、FEXPORT文の実行プロセスです。
-
fexportを実行します。fexportはアプリケーション・プログラムまたはシェルスクリプトであり、以下のようなパラメータと一緒に実行されます。
fexport [現在接続されている端末名] [一時ファイル名] [パラメータ・ファイル名] [順番]
fexportによって作成される一時ファイル名は以下の形式で保存されます。
FEXPORT_[現在接続されている端末名][データセット名][現在時刻]
-
一時ファイルの内容をデータセットに記録します。
使用法





| 項目 | 説明 |
|---|---|
dsname |
データセット名を指定します。 |
using_filename |
fexportの3番目のパラメータです。 ファイルのパスは、OpenFrame環境設定のtsoサブジェクトのCOMMONセクションのPLF_DIRECTORYキーのVALUE項目を参照してください。 |
section |
fexportの4番目のパラメータです。 |
plist_parameters |
PLISTパラメータには、USINGで指定したファイルに記述されるパラメータを記述します。パラメータはコンマで区切ります。 |
オペランド
以下は、オペランドについての説明です。
| オペランド | 説明 |
|---|---|
REPLACE |
既存のデータセットを一時ファイルのデータで置き換えます。(略語: R) |
ADD |
一時ファイルのデータを既存のデータセットに追加します。(略語: A) |
USING |
パラメータ・ファイル名と順番を指定します。 指定されていない場合は、OpenFrame環境設定のtsoサブジェクトのCOMMONセクションのDEFAULT_FEXPORT_PLFキーのVALUE項目を参照してください。(略語: U) |
PLIST |
USINGを指定していない場合、PLISTオペランドでパラメータを直接記述することができます。 |
OPERATE |
パラメータ・ファイルを変更します。OpenFrameでは構文エラーのみチェックします。(略語: O) |
NOOPERATE |
パラメータ・ファイルを変更しません。OpenFrameでは構文エラーのみチェックします。(略語: N) |
使用例
以下は、FEXPORT文の使用例です。
FEXPORT MY.DATA ADD USING(PARMLIST 1)
37. FETCH文
アプリケーション・プログラムやシステム・ユーティリティ、動的ライブラリを実行します。プログラムの終了コードがFETCHコマンドのリターンコードに設定されます。FETCHコマンドは、MVSのISPFサービスを利用してCLISTを実行する場合にのみ動作し、TSOバッチ・モードでは動作しません。
使用法
| 項目 | 説明 |
|---|---|
member |
実行するアプリケーション・プログラムやユーティリティ、動的ライブラリの名前を指定します。 |
使用例
以下は、FETCH文の使用例です。
ALLOC FI(SORTIN) DA('TEST.FETCH.SDS01') SHR
ALLOC FI(SORTOUT) DA('TEST.FETCH.SDS02') NEW CATALOG
ALLOC FI(SYSIN) DA('SYS1.PARMLIB(SORTCOMP)') SHR
ALLOC FI(SYSPRINT) DA('TEST.FETCH.OUTPUT01') SHR
FETCH SORT
FREE FI(SORTOUT SORTIN SYSPRINT SYSIN)
38. FIMPORT文
fimportを実行します。
以下は、FIMPORT文の実行プロセスです。
-
データセットの内容を一時ファイルに記録します。一時ファイル名は以下の形式で保存されます。
FIMPORT_[現在接続されている端末名]_[データセット名]_[現在時刻]
-
fimportを実行します。fimportはアプリケーション・プログラムまたはシェルスクリプトであり、以下のようなパラメータと一緒に実行されます。
fimport [現在接続されている端末名] [一時ファイル名] [パラメータ・ファイル名] [順番]
使用法



| 項目 | 説明 |
|---|---|
dsname |
データセット名を指定します。 |
using_filename |
fexportの3番目のパラメータです。 ファイルのパスは、OpenFrame環境設定のtsoサブジェクトのCOMMONセクションのPLF_DIRECTORYキーのVALUE項目を参照してください。 |
section |
fimportの4番目のパラメータです。 |
plist_parameters |
PLISTパラメータには、USINGで指定したファイルに記述されるパラメータを記述します。パラメータはコンマで区切ります。 |
オペランド
以下は、オペランドについての説明です。
| オペランド | 説明 |
|---|---|
USING |
パラメータ・ファイル名と順番を指定します。 指定されていない場合は、OpenFrame環境設定のtsoサブジェクトのCOMMONセクションのDEFAULT_FIMPORT_PLFキーのVALUE項目を参照してください。(略語: U) |
PLIST |
USINGを指定していない場合、PLISTオペランドでパラメータを直接記述することができます。 |
OPERATE |
パラメータ・ファイルを変更します。OpenFrameでは構文エラーのみチェックします。(略語: O) |
NOOPERATE |
パラメータ・ファイルを変更しません。OpenFrameでは構文エラーのみチェックします。(略語: N) |
使用例
以下は、FIMPORT文の使用例です。
FIMPORT MY.DATA USING(PARMLIST 1)
39. FREE文
ALLOCATE文とATTRIB文などで割り当てられたデータセットを解放します。
使用法


| 項目 | 説明 |
|---|---|
dsname |
データセット名を指定します。 |
ddname |
DD名を指定します。 |
listname |
ATTRIBコマンドで定義された属性リスト名を指定します。 |
destination |
SYSOUTデータセットの出力先を指定します。OpenFrameでは構文エラーのみチェックします。 |
sysout_class |
SYSOUTデータセットの出力クラスを指定します。OpenFrameでは構文エラーのみチェックします。 |
オペランド
以下は、オペランドについての説明です。
| オペランド | 説明 |
|---|---|
DSNAME |
指定された名前のデータセットを解放します。(略語: DS) |
DATASET |
指定された名前のデータセットを解放します。(略語: DA) |
DDNAME |
指定されたDD名のデータセットを解放します。(略語: DDN, DD) |
FILE |
指定されたDD名のデータセットを解放します。(略語: FI, F) |
ATTRLIST |
ATTRIBコマンドで定義された属性リストを削除します。(略語: ATTR, AT, A) |
ALL |
割り当てられたデータセットをすべて解放します。(略語: AL) |
HOLD |
SYSOUTデータセットを出力保留状態にします。OpenFrameでは構文エラーのみチェックします。(略語: H) |
NOHOLD |
SYSOUTデータセットを出力保留状態にしません。OpenFrameでは構文エラーのみチェックします。(略語: N) |
DEST |
SYSOUTデータセットの出力先を指定します。OpenFrameでは構文エラーのみチェックします。(略語: DES) |
SYSOUT |
SYSOUTデータセットの出力クラスを指定します。OpenFrameでは構文エラーのみチェックします。(略語: S) |
KEEP |
データセットを保存します。(略語: K) |
DELETE |
データセットを削除します。(略語: DEL) |
CATALOG |
データセットをカタログに追加します。カタログを参照してデータセットを割り当てた場合、再度カタログに追加します。(略語: C) |
UNCATALOG |
データセットを保存しますが、カタログからは削除します。(略語: U) |
使用例
以下は、FREE文の使用例です。
FREE DA(FILE1.ASM)
40. FREFILE文
ASCFILE文やDFNFATR文などで割り当てられたデータセットを解放します。
使用法


| 項目 | 説明 |
|---|---|
ddname |
DD名を指定します。 |
dsname |
データセット名を指定します。 |
listname |
DFNFATRコマンドで定義された属性リスト名を指定します。 |
sysout_class |
SYSOUTデータセットの出力クラスを指定します。OpenFrameでは構文エラーのみチェックします。 |
オペランド
以下は、オペランドについての説明です。
| オペランド | 説明 |
|---|---|
ALL |
割り当てられたデータセットをすべて解放します。 |
DDNAME |
指定されたDD名のデータセットを解放します。(略語: DDN) |
DSNAME |
指定された名前のデータセットを解放します。 |
ATTRLIST |
DFNFATRコマンドで定義された属性リストを削除します。 |
SYSOUT |
SYSOUTデータセットの出力クラスを指定します。OpenFrameでは構文エラーのみチェックします。 |
KEEP |
データセットを保存します。 |
DELETE |
データセットを削除します。 |
CATALOG |
データセットをカタログに追加します。カタログを参照してデータセットを割り当てた場合、再度カタログに追加します。 |
UNCATALOG |
データセットを保存しますが、カタログからは削除します。 |
使用例
以下は、FREFILE文の使用例です。
FREFILE DDNAME(INDD)
41. INANET文
指定したワークステーションを無効にします。
使用法

| 項目 | 説明 |
|---|---|
id |
無効にするワークステーション名です。 |
オペランド
以下は、オペランドについての説明です。
| オペランド | 説明 |
|---|---|
ID |
無効にするワークステーションを指定します。 |
OPT |
無効にする方法を指定します。OpenFrameでは、Fへの動作のみ対応しており、それ以外は構文エラーのみチェックします。 |
使用例
以下は、INANET文の使用例です。
INANET ID(OIVPWS01) INANET ID(OIVPWS01) OPT(F)
43. INTTAP文
テープ・ボリュームを初期化します。
使用法

| 項目 | 説明 |
|---|---|
volume |
初期化するボリュームのシリアル番号を指定します。 |
unit |
テープ装置名を指定します。OpenFrameでは構文エラーのみチェックします。 |
den |
初期化するボリュームの記録密度を指定します。OpenFrameでは構文エラーのみチェックします。 |
owner |
ボリューム・ラベルに所有者を設定します。OpenFrameでは構文エラーのみチェックします。 |
オペランド
以下は、オペランドについての説明です。
| オペランド | 説明 |
|---|---|
VOLUME |
初期化するボリュームのシリアル番号を指定します。 |
NL |
ラベルのない形式で初期化します。OpenFrameでは構文エラーのみチェックします。 |
UNIT |
テープ装置名を指定します。OpenFrameでは構文エラーのみチェックします。 |
DEN |
初期化するボリュームの記録密度を指定します。OpenFrameでは構文エラーのみチェックします。 |
COMPRESS |
圧縮メディア・フォーマットを行います。OpenFrameでは構文エラーのみチェックします。 |
AUTOMNT |
テープ・ボリュームを初期化した後、テープをマウント状態にしておきます。OpenFrameでは構文エラーのみチェックします。 |
OWNER |
ボリューム・ラベルの所有者を設定します。OpenFrameでは構文エラーのみチェックします。 |
ERASE |
初期化の前にボリューム全体を削除します。OpenFrameでは構文エラーのみチェックします。 |
使用例
以下は、INTTAPの使用例です。
INTTAP VOLUME(VOL1)
44. LIBRARY文
ジョブ・ライブラリで使用するライブラリ・データセット(PDS)を登録または解放します。
使用法

| 項目 | 説明 |
|---|---|
pdsname |
PDS名を指定します。 |
オペランド
以下は、オペランドについての説明です。
| オペランド | 説明 |
|---|---|
ADD |
ジョブ・ライブラリのデータセットを追加します。ADDとDELETEオペランドが省略された場合は、既に登録されているデータセットをすべて解放した後、ジョブ・ライブラリにデータセットを登録します。(略語: A) |
TOP |
ジョブ・ライブラリの先頭にデータセットを追加します。TOPとBOTTOMを省略した場合は、TOPが指定されたように動作します。(略語: T) |
BOTTOM |
ジョブ・ライブラリの末尾にデータセットを追加します。(略語: B) |
DELETE |
ジョブ・ライブラリからデータセットを解放します。(略語: D) |
LIST |
現在有効なジョブ・ライブラリのデータセットを表示します。 |
PUSH |
ジョブ・ライブラリの先頭にデータセットを追加します。(略語: PU) |
POP |
ジョブ・ライブラリからデータセットを解放します。(略語: PO) |
使用例
以下は、LIBRARY文の使用例です。
LIBRARY (LIB1.LOAD,LIB2.LOAD)
45. LISTCAT文
カタログに定義されている項目の名前と関連情報を出力します。
使用法


| 項目 | 説明 |
|---|---|
catalog |
表示する項目が登録されているカタログを指定します。 |
outfile |
出力データセットを指定します。 |
creation |
指定された日付より前に作成した項目を表示します。OpenFrameでは構文エラーのみチェックします。 |
expiration |
指定日が過ぎて有効期限に達している項目を表示します。OpenFrameでは構文エラーのみチェックします。 |
file |
ボリュームを定義したDD名を指定します。OpenFrameでは構文エラーのみチェックします。 |
entry |
表示する項目名を指定します。 |
level |
表示する項目名のレベルを指定します。OpenFrameでは構文エラーのみチェックします。 |
オペランド
以下は、オペランドについての説明です。
| オペランド | 説明 |
|---|---|
CATALOG |
表示する項目が登録されているカタログを指定します。(略語: CAT) |
OUTFILE |
出力データセットを指定します。(略語: OFILE) |
ENTRIES |
表示する項目名を指定します。(略語: ENT) |
DSNAME |
表示する項目名を指定します。(略語: DS) |
DATASET |
表示する項目名を指定します。 |
LEVEL |
表示する項目名のレベルを指定します。OpenFrameでは構文エラーのみチェックします。(略語: LVL) |
CREATION |
指定された日付より前に作成した項目を表示します。OpenFrameでは構文エラーのみチェックします。(略語: CREAT) |
EXPIRATION |
指定日が過ぎて有効期限に達している項目を表示します。OpenFrameでは構文エラーのみチェックします。(略語: EXPIR) |
NOTUSABLE |
使用できない項目を表示します。OpenFrameでは構文エラーのみチェックします。(略語: NUS) |
CLUSTER |
クラスターを表示します。(略語: CL) |
DATA |
データの構成要素を表示します。 |
INDEX |
索引の構成要素を表示します。(略語: IX) |
ALIAS |
エイリアスを表示します。OpenFrameでは構文エラーのみチェックします。 |
SPACE |
カタログに定義されているデータ・スペースを含むボリューム項目を表示します。OpenFrameでは構文エラーのみチェックします。(略語: SPC) |
NONVSAM |
非VSAMのデータセットを表示します。(略語: NVSAM) |
USERCATALOG |
ユーザー・カタログを表示します。OpenFrameでは構文エラーのみチェックします。(略語: UCAT) |
GENERATIONDATA GROUP |
世代別データ・グループを表示します。OpenFrameでは構文エラーのみチェックします。(略語: GDG) |
PAGESPACE |
ページ・スペースを表示します。OpenFrameでは構文エラーのみチェックします。(略語: PGSPC) |
ALTERNATEINDEX |
代替索引クラスターを表示します。OpenFrameでは構文エラーのみチェックします。(略語: AIX) |
PATH |
パスを表示します。OpenFrameでは構文エラーのみチェックします。 |
ALL |
すべての情報を表示します。 |
NAME |
項目名を表示します。 |
HISTORY |
項目名、所有者の識別名、作成日、満了日を表示します。OpenFrameでは構文エラーのみチェックします。(略語: HIST) |
VOLUME |
項目名、項目のタイプ、割り当てられた装置のタイプ、ボリュームのシリアル番号を表示します。OpenFrameでは構文エラーのみチェックします。(略語: VOL) |
ALLOCATION |
ボリューム情報および割り当てに関する情報を表示します。OpenFrameでは構文エラーのみチェックします。(略語: ALLOC) |
FILE |
ボリュームを定義したDD名を指定します。OpenFrameでは構文エラーのみチェックします。 |
SUMMARY |
データセット名、タイプ、日付などを表示します。(略語: SUM) |
使用例
以下は、LISTCAT文の使用例です。
LISTCAT CATALOG('SYS1.MASTER.ICFCAT'),ENTRIES('SYS1.JCLLIB')
46. LOGOFF文
TSOセッションを終了します。
使用法
オペランド
以下は、オペランドについての説明です。
| オペランド | 説明 |
|---|---|
DISCONNECT |
接続を切断します。OpenFrameでは構文エラーのみチェックします。(略語: D) |
HOLD |
接続を維持します。OpenFrameでは構文エラーのみチェックします。(略語: H) |
使用例
以下は、LOGOFF文の使用例です。
LOGOFF
47. LPALLOC文
SYSOUTデータセットを割り当てて、プリンターの出力情報を設定します。
使用法
















| 項目 | 説明 |
|---|---|
ddname |
SYSOUTデータセットのDD名を指定します。 |
sysout |
SYSOUTデータセットの出力クラスを指定します。 |
attr_list |
使用する属性リスト名を指定します。 |
code |
用紙の書式番号を指定します。 |
fcb |
用紙制御するイメージの識別名を指定します。 |
copies |
コピー回数を指定します。 |
ucs |
文字セットの識別名を指定します。 |
pgm |
出力プログラム名を指定します。 |
overlayname |
フォーム・オーバーレイ・モジュールの識別名を指定します。 |
flashcount |
フォーム・オーバーレイ・パターンのコピー部数を指定します。 |
outlim |
出力する論理レコード数の上限値を指定します。OpenFrameでは構文エラーのみチェックします。 |
dest |
SYSOUTデータセットの出力先を指定します。OpenFrameでは構文エラーのみチェックします。 |
modify |
修正するコピー・モジュールの識別名を指定します。 |
modtrc |
修正されたデータを印刷する際に使用するテーブル参照番号を指定します。 |
cs |
文字配列テーブルと追加文字セットの識別名を指定します。 |
group |
ページ単位のコピー回数を指定します。 |
オペランド
以下は、オペランドについての説明です。
| オペランド | 説明 |
|---|---|
REUSE |
データセットが既に割り当てられている場合、解放後に再度割り当てます。OpenFrameでは構文エラーのみチェックします。(略語: REU, R) |
SYSOUT |
SYSOUTデータセットの出力クラスを指定します。(略語: SY) |
USING |
使用する属性リスト名を指定します。(略語: US) |
CODE |
用紙の書式番号を指定します。(略語: COD) |
FCB |
用紙制御するイメージの識別名を指定します。(略語: FC) |
COPIES |
コピー回数を指定します。(略語: COP) |
UCS |
文字セットの識別名を指定します。(略語: UC) |
PGM |
出力プログラム名を指定します。(略語: P) |
OVERLAYNAME |
フォーム・オーバーレイ・モジュールの識別名を指定します。(略語: OV) |
FLASHCOUNT |
フォーム・オーバーレイ・パターンのコピー部数を指定します。(略語: FL) |
OUTLIM |
出力する論理レコード数の上限値を指定します。OpenFrameでは構文エラーのみチェックします。(略語: OU) |
DEST |
SYSOUTデータセットの出力先を指定します。OpenFrameでは構文エラーのみチェックします。(略語: D) |
HOLD |
データセットの解放時にそのデータセットを出力保留キューに登録します。OpenFrameでは構文エラーのみチェックします。(略語: H) |
NOHOLD |
データセットの解放時にそのデータセットを出力保留キューに登録しません。OpenFrameでは構文エラーのみチェックします。(略語: NOH) |
BURST |
印刷済みの出力用紙をBTSに入れます。(略語: BU) |
NOBURST |
印刷済みの出力用紙をCFSに入れます。(略語: NOB) |
MODIFY |
修正されたコピー・モジュールの識別名を指定します。(略語: MODI) |
MODTRC |
修正されたデータを印刷する際に使用するテーブルの参照番号を指定します。(略語: MODT) |
CHARS |
文字配列テーブルと追加文字セットの識別名を指定します。(略語: CH) |
GROUPVALUE |
ページ単位のコピー回数を指定します。(略語: G) |
LANDSCAPE |
SYSOUTデータセットに対し、OPR(オフィス・プリンター)の属性のうち、横書式モードで印刷します。(略語: LA)
|
LINEPRINTER |
SYSOUTデータセットに対し、OPR(オフィス・プリンター)の属性のうち、LP(ライン・プリンター)モードで印刷します。(略語: LI)
|
PORTRAIT |
SYSOUTデータセットに対し、OPR(オフィス・プリンター)の属性のうち、縦書式モードで印刷します。(略語: PO)
|
LZOOM |
SYSOUTデータセットに対し、OPR(オフィス・プリンター)の属性のうち、横書式モードで80%に縮小して印刷します。(略語: LZ)
|
PZOOM |
SYSOUTデータセットに対し、OPR(オフィス・プリンター)の属性のうち、縦書式モードで80%に縮小して印刷します。(略語: PZ)
|
ORIGINAL |
プログラムに設計済みの出力帳票のサイズを指定します。(略語: OR)
|
LAYOUT |
用紙1枚に配置される出力スライドのページ数を指定します。(略語: LAY)
|
BIND |
用紙をバインドする位置を指定します。(略語: BI)
|
SIDE |
印刷したい用紙の面を指定します。(略語: SI)
|
PRTAREA |
印字不可領域の有無を指定します。(略語: PR)
|
HOPPER |
給紙口の位置を指定します。(略語: HOP)
|
STACKER |
排紙口を指定します。(略語: ST)
|
PRTYPE |
出力データのレコード書式を指定します。(略語: PRTY)
|
使用例
以下は、LPALLOC文の使用例です。
LPALLOC LIST1 USING(ATTRLIST)
48. LSTFILE文
データセットの内容と属性を端末やプリンターに出力します。
使用法








| 項目 | 説明 |
|---|---|
dsname |
指定したデータセットの内容または属性を出力します。PDSのメンバーを指定する場合は、PDS名の後ろにメンバー名を括弧で囲んで指定します。 |
level |
GEMファイルのメンバー・レベルを指定します。OpenFrameでは構文エラーのみチェックします。 |
pos |
絶対行の番号を指定した場合、出力するデータセットの行番号の位置を指定します。OpenFrameでは構文エラーのみチェックします。 |
len |
絶対行の番号を指定した場合、出力するデータセットの行番号の長さを指定します。OpenFrameでは構文エラーのみチェックします。 |
lcount |
1ページに出力される行数を指定します。OpenFrameでは構文エラーのみチェックします。 |
ccount |
1行に出力される桁数を指定します。OpenFrameでは構文エラーのみチェックします。 |
mpassword |
GEMファイル・メンバーのパスワードを指定します。OpenFrameでは構文エラーのみチェックします。 |
fpassword |
データセットのパスワードを指定します。OpenFrameでは構文エラーのみチェックします。 |
volume |
データセットが存在するボリュームのシリアル番号を指定します。OpenFrameでは構文エラーのみチェックします。 |
sysprint |
データセットの内容または属性を指定した出力クラスでスプールに出力します。 |
pddname |
指定したDD名を持つデータセットにデータセットの内容または属性を出力します。OpenFrameでは構文エラーのみチェックします。 |
title |
出力リストの各ページの上部にタイトルを出力します。OpenFrameでは構文エラーのみチェックします。 |
ntitle |
出力リストの各ページの上部に日本語のタイトルを出力します。OpenFrameでは構文エラーのみチェックします。 |
r_start |
指定した相対行番号から出力を開始します。OpenFrameでは構文エラーのみチェックします。 |
r_end |
指定した相対行番号まで出力します。OpenFrameでは構文エラーのみチェックします。 |
a_start |
指定した絶対行番号から出力を開始します。OpenFrameでは構文エラーのみチェックします。 |
a_end |
指定した絶対行番号まで出力します。OpenFrameでは構文エラーのみチェックします。 |
オペランド
以下は、オペランドについての説明です。
| オペランド | 説明 |
|---|---|
LEVEL |
GEMファイルのメンバー・レベルを指定します。OpenFrameでは構文エラーのみチェックします。(略語: LE) |
SFIELD |
絶対行番号を指定した場合、出力するデータセットの行番号の位置と長さを指定します。OpenFrameでは構文エラーのみチェックします。(略語: SF) |
LCOUNT |
1ページに出力される行数を指定します。OpenFrameでは構文エラーのみチェックします。(略語: LC) |
CCOUNT |
1行に出力される桁数を指定します。OpenFrameでは構文エラーのみチェックします。(略語: C) |
MPASSWORD |
GEMファイル・メンバーのパスワードを指定します。OpenFrameでは構文エラーのみチェックします。(略語: M) |
HOLD |
SYSPRINTオペランドが存在する場合、出力を保留状態にします。OpenFrameでは構文エラーのみチェックします。(略語: HO) |
FPASSWORD |
データセットのパスワードを指定します。OpenFrameでは構文エラーのみチェックします。(略語: F) |
VOLUME |
データセットが存在するボリュームのシリアル番号を指定します。OpenFrameでは構文エラーのみチェックします。(略語: V) |
DATA |
データセットの内容を出力します。(略語: D) |
ATTRIBUTE |
データセットの属性を出力します。OpenFrameでは構文エラーのみチェックします。(略語: AT) |
SYSPRINT |
データセットの内容または属性をスプールに出力します。(略語: SY) |
PDDNAME |
データセットの内容または属性をデータセットに出力します。OpenFrameでは構文エラーのみチェックします。(略語: P) |
TITLE |
出力リストの各ページの上部にタイトルを出力します。OpenFrameでは構文エラーのみチェックします。(略語: TI) |
NTITLE |
出力リストの各ページの上部に日本語のタイトルを出力します。OpenFrameでは構文エラーのみチェックします。(略語: NT) |
NOTITLE |
出力リストの各ページの上部にタイトルを出力しません。OpenFrameでは構文エラーのみチェックします。(略語: NOTI) |
EBCDIC |
データセットの内容をそのまま出力します。OpenFrameでは構文エラーのみチェックします。(略語: E) |
HEXADECIMAL |
データセットの内容を16進数で出力します。OpenFrameでは構文エラーのみチェックします。(略語: HE) |
RNUMBER |
指定した相対行番号の範囲のみ出力します。OpenFrameでは構文エラーのみチェックします。(略語: R) |
ANUMBER |
指定した絶対行番号の範囲のみ出力します。OpenFrameでは構文エラーのみチェックします。(略語: AN) |
NFIELD |
出力リストの左端に行番号を出力するかどうかを指定します。OpenFrameでは構文エラーのみチェックします。(略語: NF) |
NOTRUNCATE |
行を切り詰めません。OpenFrameでは構文エラーのみチェックします。(略語: NOTR) |
TRUNCATE |
行を切り詰めます。OpenFrameでは構文エラーのみチェックします。(略語: TR) |
使用例
以下は、LSTFILE文の使用例です。
LSTFILE 'USER01.PAR.FILE(MEMBER1)' SY(A)
51. OCOPY文
データセットのメンバーまたはUNIXファイルを他のデータセットのメンバーあるいはファイルにコピーします。
使用法





| 項目 | 説明 |
|---|---|
src_ddname |
入力データセットまたは入力ファイルのDD名を指定します。 |
dst_ddname |
出力データセットまたは出力ファイルのDD名を指定します。 |
オペランド
以下は、オペランドについての説明です。
| オペランド | 説明 |
|---|---|
INDD |
入力データセットまたは入力ファイルのDD名を指定します。 |
OUTDD |
出力データセットまたは出力ファイルのDD名を指定します。 |
BINARY|TEXT |
コピーされるデータ(バイナリ・ファイルまたはテキスト・ファイル)を指定します。 |
CONVERT |
変換に使用する文字変換表を指定します。OpenFrameでは構文エラーのみチェックします。 |
PATHOPTS |
OCOPYが、割り当て中に指定されるPATHOPTS値を使用するかまたは変更するかを指定します。OpenFrameでは構文エラーのみチェックします。 |
TO1047|FROM 1047 |
文字変換表のTOまたはFROMセクションを使用するように指定します。OpenFrameでは構文エラーのみチェックします。 |
使用例
以下は、OCOPY文の使用例です。
OCOPY INDD(HFSXML) OUTDD(MVSXML) TEXT
53. PANEL 文
PSAMマップを使って画面を処理します。
使用法



| 項目 | 説明 |
|---|---|
panel_id |
画面に出力するマップ・ファイル名を指定します。 |
var_name |
項目の変数名を指定します。 |
オペランド
以下は、オペランドについての説明です。
| オペランド | 説明 |
|---|---|
CURSOR |
画面に出力されるカーソルの位置をフィールド名で指定します。 |
LOW |
画面の明るさを暗く指定します。指定値がなければ、デフォルト値が使われます。 |
HIGH |
画面の明るさを明るく指定します。 |
NOPRIMARY |
画面を表示中にRETURNキーが入力されると画面表示をせずに終了します。OpenFrameでは構文エラーのみチェックします。 |
PRIMARY |
画面を表示中にRETURNキーが入力されれも画面を表示しつづけます。OpenFrameでは構文エラーのみチェックします。 |
使用例
以下は、PANEL文の使用例です
PANEL GHBM0010 CURSOR(SN,LOW)
54. PRINTOFF文
SYSOUTデータセットを割り当てて、出力するデータセットの内容をSYSOUTデータセットにコピーし、プリンターに印刷します。出力するデータセットがあらかじめ割り当てられていない場合は、直接割り当てます。
使用法




| 項目 | 説明 |
|---|---|
dataset_name |
出力するデータセットの名前を指定します。 |
ddname |
出力するデータセットのDD名を指定します。 |
unit-type |
出力するデータセットを割り当てる印刷装置を指定します。ボリュームが指定されている場合にのみ有効であり、指定されていない場合は無視されます。 |
volser |
出力するデータセットが存在するボリュームのシリアル番号を指定します。 |
class |
SYSOUTデータセットの出力クラスを指定します。(デフォルト値: A) |
destination |
SYSOUTデータセットの出力先を指定します。1~8文字のプリンター名のみ指定できます。 |
nnn(copies) |
コピー回数を指定します。(デフォルト値: 1) |
form |
印刷用紙を指定します。OpenFrameでは構文エラーのみチェックします。(デフォルト値: $TST) |
fcb |
用紙制御バッファーを指定します。1~4文字で指定します。 |
image |
印刷時に使用するイメージ名を指定します。1~4文字で指定します。OpenFrameでは構文エラーのみチェックします。 |
nnn(linelength) |
印刷する行の文字数を指定します。1~208文字まで指定できます。(デフォルト値: 132) |
nnn(pagelength) |
印刷するページの行数を指定します。1~120行まで指定できます。(デフォルト値: 60) |
flash-name |
フォーム・フラッシュ・オーバーレイの名前を指定します。 |
charset-name |
印刷時に使用する文字セットを指定します。 |
progname |
SYSOUTデータセットを移すエクスターナル・ライターの名前を指定します。OpenFrameでは構文エラーのみチェックします。 |
font-name |
SYSOUTデータセットを印刷時に使用するフォントを指定します。OpenFrameでは構文エラーのみチェックします。 |
|
dataset_nameとDDNAME(FILE)のいずれか1つは必ず指定する必要があります。両方を指定する場合は、必ずdataset_nameを先に指定してください。DDNAME(FILE)のみ指定する場合は、当該DDが割り当てられている必要があり、DDNAME(FILE)とdataset_nameの両方を指定する場合は、すでに割り当てられているDDのdsnameと同じであるかを確認します。 |
オペランド
以下は、オペランドについての説明です。
| オペランド | 説明 |
|---|---|
UNIT |
データセットを割り当てる印刷装置を指定します。ボリュームが指定されている場合にのみ有効であり、指定されていない場合は無視されます。 |
VOLUME |
データセットが存在するボリュームのシリアル番号を指定します。 |
NOMESSAGES |
エラーメッセージ以外は出力しない場合に指定します。(略語 : NOMSGS) |
CLASS |
SYSOUTデータセットの出力クラスを指定します。 |
DEST |
SYSOUTデータセットの出力先を指定します。 |
COPIES |
コピー回数を指定します。 |
HOLD |
データセットを解放する際に出力保留キューに登録します。OpenFrameでは構文エラーのみチェックします。 |
NOHOLD |
データセットを解放する際に出力保留キューに登録しません。OpenFrameでは構文エラーのみチェックします。 |
LIST |
データセットを印刷する際に別途作成された処理済みメンバー名のリストを一緒に出力する場合に指定します。OpenFrameでは構文エラーのみチェックします。 |
NOLIST |
データセットを印刷する際にメンバー名リストを別途作成しない場合に指定します。OpenFrameでは構文エラーのみチェックします。 |
メンバー名を印刷する場合に指定します。OpenFrameでは構文エラーのみチェックします。 |
|
NOPRINT |
メンバー名を印刷しない場合に指定します。OpenFrameでは構文エラーのみチェックします。 |
FORMS |
印刷用紙を指定します。OpenFrameでは構文エラーのみチェックします。 |
FCB |
用紙制御バッファーを指定します。 |
TRAIN |
印刷時に使用するイメージ名を指定します。 |
UCS |
印刷時に使用するイメージ名を指定します。 |
HEADING |
データセット名を含むタイトルを一緒に印刷する場合に指定します。OpenFrameでは構文エラーのみチェックします。 |
NOHEADING |
タイトルを一緒に印刷しない場合に指定します。OpenFrameでは構文エラーのみチェックします。 |
CAPS |
大文字に変換して印刷する場合に指定します。 |
ASIS |
大文字に変換せずに印刷する場合に指定します。 |
FOLD |
CAPSのエイリアスです。 |
NOFOLD |
ASISのエイリアスです。 |
NOCC |
SINGLESPACEのエイリアスです。OpenFrameでは構文エラーのみチェックします。 |
SINGLESPACE |
シングルスペースで印刷する場合に指定します。NOCCのエイリアスです。OpenFrameでは構文エラーのみチェックします。(略語 : SS) |
DOUBLESPACE |
ダブルスペースで印刷する場合に指定します。OpenFrameでは構文エラーのみチェックします。(略語 : DS) |
ASA |
データセットの各レコードの最初のバイトにASA制御文字を印刷する場合に指定します。 |
LINELENGTH |
印刷する行の文字数を指定します。(略語 : LL) |
PAGELENGTH |
印刷するページの行数を指定します。OpenFrameでは構文エラーのみチェックします。(略語 : PL) |
BURST |
連続用紙に印刷しない場合に指定します。OpenFrameでは構文エラーのみチェックします。 |
NOBURST |
連続用紙に印刷する場合に指定します。OpenFrameでは構文エラーのみチェックします。 |
FLASH |
フォーム・フラッシュ・オーバーレイの名前を指定します。 |
CHARS |
印刷時に使用する文字セットを指定します。 |
PROG |
SYSOUTデータセットを移すエクスターナル・ライターの名前を指定します。OpenFrameでは構文エラーのみチェックします。 |
UDKFONT |
SYSOUTデータセットを印刷時に使用するフォントを指定します。OpenFrameでは構文エラーのみチェックします。 |
使用例
以下は、すでに割り当て済みのTEST.SDS.PRINTOデータセットを出力クラスAで印刷するPRINTOFF文の使用例です。
ALLOC FI(TESTDS) DA('TEST.SDS.PRINTO') SHR KEEP
PRINTOFF 'TEST.SDS.PRINTO' CLASS(A)
FREE FI(TESTDS)
以下は、TEST.SDS.PRINTOデータセットを直接割り当てて、出力クラスAで印刷するPRINTOFF文の使用例です。コマンドが実行されたら、割り当てられたデータセットの解放も行われます。上記例と動作は同じです。
PRINTOFF 'TEST.SDS.PRINTO' CLASS(A)
55. PROFILE文
各ユーザーの端末運用に関する属性を設定します。
使用法














| 項目 | 説明 |
|---|---|
tlang |
端末出力メッセージの言語を指定します。OpenFrameでは構文エラーのみチェックします。 |
slang |
SYSOUT出力メッセージの言語を指定します。OpenFrameでは構文エラーのみチェックします。 |
char |
文字の削除キーを指定します。OpenFrameでは構文エラーのみチェックします。 |
line |
行の削除キーを指定します。OpenFrameでは構文エラーのみチェックします。 |
prefix |
データセット名に付ける接頭語を指定します。 |
library |
拡張ライブラリの索引を指定します。OpenFrameでは構文エラーのみチェックします。 |
proc |
コマンド・プロシージャのデータセットを指定します。OpenFrameでは構文エラーのみチェックします。 |
cprof |
コマンド・プロファイル・データセットを指定します。OpenFrameでは構文エラーのみチェックします。 |
オペランド
以下は、オペランドについての説明です。
| オペランド | 説明 |
|---|---|
CHAR |
文字の削除キーを指定します。OpenFrameでは構文エラーのみチェックします。(略語: C) |
NOCHAR |
文字の削除キーを解放します。OpenFrameでは構文エラーのみチェックします。(略語: NOC) |
LINE |
行の削除キーを指定します。OpenFrameでは構文エラーのみチェックします。(略語: LIN) |
NOLINE |
行の削除キーを解放します。OpenFrameでは構文エラーのみチェックします。(略語: NOLIN) |
INTERCOM |
他の端末からのメッセージを受信します。OpenFrameでは構文エラーのみチェックします。(略語: I) |
NOINTERCOM |
他の端末からのメッセージの受信を拒否します。OpenFrameでは構文エラーのみチェックします。(略語: NOI) |
PAUSE |
詳細メッセージの表示の可否を問います。OpenFrameでは構文エラーのみチェックします。(略語: PA) |
NOPAUSE |
詳細メッセージの表示の可否を問いません。OpenFrameでは構文エラーのみチェックします。(略語: NOPA) |
MSGID |
メッセージIDを含んでメッセージを出力します。OpenFrameでは構文エラーのみチェックします。(略語: MS) |
NOMSGID |
メッセージIDを含まずにメッセージを出力します。OpenFrameでは構文エラーのみチェックします。(略語: NOMS) |
MODE |
モードの変更に関係なくモード・メッセージを出力します。OpenFrameでは構文エラーのみチェックします。(略語: MO) |
NOMODE |
モードを変更する際にモード・メッセージを出力します。OpenFrameでは構文エラーのみチェックします。(略語: NOMO) |
PROMPT |
パラメータが正しくない場合、ユーザーに通知します。OpenFrameでは構文エラーのみチェックします。(略語: PROM) |
NOPROMPT |
パラメータが正しくない場合もユーザーに通知しません。OpenFrameでは構文エラーのみチェックします。(略語: NOPROM) |
PREFIX |
データセット名に付ける接頭語を指定します。(略語: PRE) |
NOPREFIX |
データセット名に接頭語を付けません(略語: NOPRE) |
WTPMSG |
WTOマクロのルートコード11のメッセージを端末に出力します。OpenFrameでは構文エラーのみチェックします。(略語: W) |
NOWTPMSG |
WTOマクロのルートコード11のメッセージを端末に出力しません。OpenFrameでは構文エラーのみチェックします。(略語: NOW) |
RECOVER |
EDITコマンドのチェック・ポイントのリカバリー機能を使用します。OpenFrameでは構文エラーのみチェックします。(略語: R) |
NORECOVER |
EDITコマンドのチェック・ポイントのリカバリー機能を使用しません。OpenFrameでは構文エラーのみチェックします。(略語: NOR) |
LIBRARY |
拡張ライブラリを使用します。OpenFrameでは構文エラーのみチェックします。(略語: LIB) |
NOLIBRARY |
拡張ライブラリを使用しません。OpenFrameでは構文エラーのみチェックします。(略語: NOLIB) |
PROC |
コマンド・プロシージャがあるデータセットをライブラリに割り当てます。OpenFrameでは構文エラーのみチェックします。 |
NOPROC |
コマンド・プロシージャがあるデータセットをライブラリに割り当てません。OpenFrameでは構文エラーのみチェックします。 |
CPROF |
コマンド・プロファイル・データセットを指定します。OpenFrameでは構文エラーのみチェックします。(略語: CP) |
LIST |
ユーザー・プロファイルの設定情報を端末に表示します。OpenFrameでは構文エラーのみチェックします。(略語: LIS) |
TLANG |
端末出力メッセージの言語を指定します。OpenFrameでは構文エラーのみチェックします。(略語: TL) |
SLANG |
SYSOUT出力メッセージの言語を指定します。OpenFrameでは構文エラーのみチェックします。(略語: SL) |
使用例
以下は、PROFILE文の使用例です。
PROFILE NOPREFIX
56. PRTFILE文
データセットの内容をプリンターに出力します。
使用法






















| 項目 | 説明 |
|---|---|
file |
出力するデータセット名を指定します。 |
ddname |
出力するデータセットのDD名を指定します。 |
terminal |
プリンター装置に対応する記憶装置名を指定します。 |
addr_1 |
プリンターのネットワーク・アドレスを指定します。OpenFrameでは構文エラーのみチェックします。 |
addr_2 |
CFCIII記憶装置名を指定します。OpenFrameでは構文エラーのみチェックします。 |
reqname |
出力要求の識別名を指定します。OpenFrameでは構文エラーのみチェックします。 |
EXTRA |
20MB以上のデータを処理します。OpenFrameでは構文エラーのみチェックします。 |
l_from |
指定した行から出力します。OpenFrameでは構文エラーのみチェックします。 |
l_to |
指定した行まで出力します。OpenFrameでは構文エラーのみチェックします。 |
overlay |
フォーム・オーバーレイの識別名を指定します。 |
ovcopies |
フォーム・オーバーレイの出力回数を指定します。OpenFrameでは構文エラーのみチェックします。 |
copies |
コピー回数を指定します。OpenFrameでは構文エラーのみチェックします。 |
skip |
行間隔を指定します。OpenFrameでは構文エラーのみチェックします。 |
note |
指定したコメントを区切り文字に加えて出力します。 |
c_from |
指定した列から出力します。OpenFrameでは構文エラーのみチェックします。 |
c_to |
出力する列の範囲を指定します。OpenFrameでは構文エラーのみチェックします。 |
form |
改行を制御するイメージの識別名を指定します。OpenFrameでは構文エラーのみチェックします。 |
p_lines |
1ページ当たりの最大行数を指定します。OpenFrameでは構文エラーのみチェックします。 |
p_lpi |
LPI(1インチに印刷する行数)を指定します。OpenFrameでは構文エラーのみチェックします。 |
pl_from |
データ出力先の行範囲の左枠を指定します。OpenFrameでは構文エラーのみチェックします。 |
pl_to |
データ出力先の行範囲の右枠を指定します。OpenFrameでは構文エラーのみチェックします。 |
pc_from |
データ出力先の列範囲の左枠を指定します。OpenFrameでは構文エラーのみチェックします。 |
pc_to |
データ出力先の列範囲の右枠を指定します。OpenFrameでは構文エラーのみチェックします。 |
m_top |
上部の余白を指定します。OpenFrameでは構文エラーのみチェックします。 |
m_bottom |
下部の余白を指定します。OpenFrameでは構文エラーのみチェックします。 |
cs |
UCS、文字セット、追加文字セット、文字配列テーブルなどの識別名を指定します。OpenFrameでは構文エラーのみチェックします。 |
bind_w |
製本幅を指定します。OpenFrameでは構文エラーのみチェックします。 |
bind_x |
出力基本位置のX方向を指定します。OpenFrameでは構文エラーのみチェックします。 |
bind_y |
出力基本位置のY方向を指定します。OpenFrameでは構文エラーのみチェックします。 |
group |
回線グループ番号を指定します。OpenFrameでは構文エラーのみチェックします。 |
オペランド
以下は、オペランドについての説明です。
| オペランド | 説明 |
|---|---|
FILE |
出力するデータセット名を指定します。 |
DDNAME |
出力するデータセットのDD名を指定します。 |
TERMINAL |
プリンター装置に対応する記憶装置名を指定します。 OpenFrame環境設定のtsoサブジェクトのTERM_CLASSセクションを参照して、このオペランドに対応する出力クラスが決まります。 |
ADDRESS |
プリンターのネットワーク・アドレスとCFCIII記憶装置名を指定します。OpenFrameでは構文エラーのみチェックします。 |
REQNAME |
出力要求の識別名を指定します。OpenFrameでは構文エラーのみチェックします。 |
EXTRA |
20MB以上のデータを処理します。OpenFrameでは構文エラーのみチェックします。 |
LINE |
出力する行の範囲を指定します。OpenFrameでは構文エラーのみチェックします。 |
OVERLAY |
フォーム・オーバーレイの識別名を指定します。 |
OVCOPIES |
フォーム・オーバーレイの出力回数を指定します。OpenFrameでは構文エラーのみチェックします。 |
COPIES |
コピー回数を指定します。OpenFrameでは構文エラーのみチェックします。 |
SKIP |
行間隔を指定します。OpenFrameでは構文エラーのみチェックします。 |
NOCONVERT |
無効な文字を空白に変換しません。OpenFrameでは構文エラーのみチェックします。 |
IMAGEDENSITY |
CFCIIIの保有ピクセルの密度を指定します。OpenFrameでは構文エラーのみチェックします。 |
NOTE |
指定したコメントを区切り文字に加えて出力します。 |
STANDARD |
入力データを変換しません。OpenFrameでは構文エラーのみチェックします。 |
HEX |
入力データを16進数のデータに変換して出力します。OpenFrameでは構文エラーのみチェックします。 |
CHAR |
出力可能な文字サイズを大きくします。OpenFrameでは構文エラーのみチェックします。 |
VECTOR |
32KB以上のベクター・データを出力します。OpenFrameでは構文エラーのみチェックします。 |
COLUMN |
出力する列の範囲を指定します。OpenFrameでは構文エラーのみチェックします。 |
FORM |
改行を制御するイメージの識別名を指定します。OpenFrameでは構文エラーのみチェックします。 |
PAGELEN |
1ページ当たりの最大行数とLPIを指定します。OpenFrameでは構文エラーのみチェックします。 |
PLINE |
データ出力先の行の範囲を指定します。OpenFrameでは構文エラーのみチェックします。 |
PCOLUMN |
データ出力先の列の範囲を指定します。OpenFrameでは構文エラーのみチェックします。 |
KEEP |
データが指定した出力桁数を超えた場合、次の行に出力します。OpenFrameでは構文エラーのみチェックします。 |
NOKEEP |
データが指定した出力桁数を超えても、次の行に出力しません。OpenFrameでは構文エラーのみチェックします。 |
MARGIN |
上下余白を指定します。OpenFrameでは構文エラーのみチェックします。 |
CHARSET |
UCS、文字セット、追加文字セット、文字配列テーブルなどの識別名を指定します。OpenFrameでは構文エラーのみチェックします。 |
SEPARATOR |
区切り子の位置を指定します。OpenFrameでは構文エラーのみチェックします。 |
SHEETSIZE |
用紙サイズを指定します。
|
PRINTMODE |
印刷モードを指定します。
|
ORGN |
縮小して出力する場合、縮小前の用紙サイズを指定します。OpenFrameでは構文エラーのみチェックします。 |
LAYOUT |
縮小して出力する場合、用紙1枚にレイアウトするスライド数を指定します。OpenFrameでは構文エラーのみチェックします。 |
PRTAREA |
出力禁止領域での動作を指定します。OpenFrameでは構文エラーのみチェックします。 |
BIND |
製本の方向と幅および出力の基本位置を指定します。OpenFrameでは構文エラーのみチェックします。 |
SIDE |
印刷したい用紙の面を指定します。
|
MANUAL |
手動で給紙します。OpenFrameでは構文エラーのみチェックします。 |
HOPPER |
給紙口を指定します。OpenFrameでは構文エラーのみチェックします。 |
STACKER |
用紙排出口を指定します。OpenFrameでは構文エラーのみチェックします。 |
NETWORK |
CFCIII装置が使用する回線の種類を指定します。OpenFrameでは構文エラーのみチェックします。 |
COMPRESS |
CFCIII装置からファックス装置に送信するデータの圧縮方式を指定します。OpenFrameでは構文エラーのみチェックします。 |
MSG |
出力開始と終了メッセージを出力します。OpenFrameでは構文エラーのみチェックします。 |
NOMSG |
出力開始と終了メッセージを出力しません。OpenFrameでは構文エラーのみチェックします。 |
使用例
以下は、PRTFILE文の使用例です。
PRTFILE FILE('USER01.SEQ.FILE') TERMINAL(WTR1)
59. RENAME文
データセット名またはPDSのメンバー名を変更します。
使用法
| 項目 | 説明 |
|---|---|
old_name |
入力データセット名を指定します。PDSのメンバー名を変更する場合は、PDS名の後ろにメンバー名を括弧で囲んで指定します。 |
new_name |
出力データセット名を指定します。 |
オペランド
以下は、オペランドについての説明です。
| オペランド | 説明 |
|---|---|
ALIAS |
PDSのメンバーにエイリアスを追加します。OpenFrameでは構文エラーのみチェックします。 |
使用例
以下は、RENAMEの使用例です。
RENAME 'USER01.SEQ.IFILE' 'USER01.SEQ.OFILE'
60. RNMFILE文
データセット名あるいはPDSのメンバー名を変更します。
使用法


| 項目 | 説明 |
|---|---|
src_dsname |
入力データセット名を指定します。PDSのメンバー名を変更する場合は、PDS名の後ろにメンバー名を括弧で囲んで指定します。 |
dst_dsname |
出力データセット名を指定します。 |
mpassword |
GEMファイルのメンバーにアクセスするためのパスワードを指定します。OpenFrameでは構文エラーのみチェックします。 |
volume |
データセットが含まれているボリュームのシリアル番号を指定します。 |
オペランド
以下は、オペランドについての説明です。
| オペランド | 説明 |
|---|---|
MPASSWORD |
GEMファイルのメンバーにアクセスするためのパスワードを指定します。OpenFrameでは構文エラーのみチェックします。(略語: M) |
VOLUME |
データセットが含まれているボリュームのシリアル番号を指定します。データセットがカタログに存在しない場合のみ有効です。(略語: V) |
NOALIAS |
データセットまたはPDSのメンバー名を変更します。(略語: N) |
ALIAS |
PDSのメンバーにエイリアスを追加します。OpenFrameでは構文エラーのみチェックします。(略語: A) |
使用例
以下は、RNMFILEの使用例です。
RNMFILE 'USER01.SEQ.IFILE' 'USER01.SEQ.OFILE' VOLUME(VOL1)
61. RUN文
DSNのサブコマンドとして、ユーザー・アプリケーションを実行します。
|
RUN文の詳細については、OpenFrame Batch『ユーティリティリファレンスガイド』の「IKJEFT01」のコマンドの設定を参照してください。 |
62. SEND文
システムのコンソールにメッセージを送信します。
使用法
| 項目 | 説明 |
|---|---|
parameters |
コンソールに送信するメッセージを指定します。 |
使用例
以下は、SENDの使用例です。
SEND 'TEST MESSAGE'
63. SMCOPY文
ストリーム、またはデータセットの全体または一部を他のストリームまたはデータセットにコピーします。
使用法








| 項目 | 説明 |
|---|---|
sysout_class |
SYSOUTクラスを指定します。OpenFrameでは構文エラーのみチェックします。 |
start_line |
コピーを開始する行を指定します。OpenFrameでは構文エラーのみチェックします。 |
stop_line |
コピーを終了する行を指定します。OpenFrameでは構文エラーのみチェックします。 |
fstream_name |
入力ストリームの名前を指定します。OpenFrameでは構文エラーのみチェックします。 |
fdsname |
コピーするデータセットの名前を指定します。 |
tstream_name |
出力ストリームの名前を指定します。OpenFrameでは構文エラーのみチェックします。 |
tdsname |
コピー先のデータセットの名前を指定します。 |
オペランド
以下は、オペランドについての説明です。
| オペランド | 説明 |
|---|---|
FROMSTREAM |
OpenFrameでは構文エラーのみチェックします。(略語: FS) |
FROMDATASET |
コピーする情報を含んでいるデータセットの名前を指定します。(略語: FDS) |
TSOOUT |
OpenFrameでは構文エラーのみチェックします。 |
OpenFrameでは構文エラーのみチェックします。 |
|
TODATASET |
コピー先のデータセットの名前を指定します。(略語: TDS) |
TOSTREAM |
OpenFrameでは構文エラーのみチェックします。(略語: TS) |
CAPS |
OpenFrameでは構文エラーのみチェックします。 |
ASIS |
OpenFrameでは構文エラーのみチェックします。 |
NOTRANS |
OpenFrameでは構文エラーのみチェックします。 |
FORMAT |
OpenFrameでは構文エラーのみチェックします。(略語: FMT) |
NOFORMAT |
OpenFrameでは構文エラーのみチェックします。(略語: NOFMT) |
PREFORMAT |
OpenFrameでは構文エラーのみチェックします。(略語: PREFMT) |
LINE |
OpenFrameでは構文エラーのみチェックします。 |
使用例
以下は、SMCOPY文の使用例です。
SMCOPY FROMDATASET(TEST1(MEM1)) TODATASET(TEST2(MEM2))
64. SNDTMSG文
アプリケーション・プログラムまたはAIMに接続されている特定のワークステーションにメッセージを伝送します。
使用法

| 項目 | 説明 |
|---|---|
ws |
AIMに接続されているワークステーションの名前です。 |
apl |
アプリケーション・プログラムの名前です。 |
msg |
伝送するメッセージです。 |
オペランド
以下は、オペランドについての説明です。
| オペランド | 説明 |
|---|---|
WS |
AIMに接続されているメッセージを伝送するワークステーションを指定します。 |
ACTWS |
AIMに接続されているすべてのワークステーションにメッセージを伝送するときに指定します。 |
APL |
メッセージを伝送するアプリケーション・プログラムを指定します。OpenFrameでは構文エラーのみチェックします。 |
MSG |
伝送するメッセージを単一引用符(‘ ’)で囲んで指定します。 |
MODE |
メッセージのタイプを指定します。
|
使用例
以下は、SNDTMSG文の使用例です。
SNDTMSG WS(OIVPWS01) MSG('TESTMSG_001')
SNDTMSG WS(OIVPWS01) MODE(URG) MSG('TESTMSG_002')
SNDTMSG ACTWS MSG('TESTMSG_003')
SNDTMSG ACTWS MODE(EMG) MSG('TESTMSG_004')
65. SRTDS文
入力データセットを並べ替えするか、特定のレコードを選択するなどのジョブを実行し、その結果を出力データセットに保存します。
使用法





| 項目 | 説明 |
|---|---|
idsname |
入力データセット名を指定します。 |
iddname |
入力データセットのDD名を指定します。 |
odsname |
出力データセット名を指定します。 |
ovolume |
出力データセットが含まれているボリュームのシリアル番号を指定します。 |
oddname |
出力データセットのDD名を指定します。 |
region |
並べ替えに使われるメモリ容量を指定します。OpenFrameでは構文エラーのみチェックします。 |
sort |
SORT文のオペランドを指定します。詳細については、OpenFrame Batch『SORTユーティリティ参照ガイド』を参照してください。 |
record |
RECORD文のオペランドを指定します。詳細については、OpenFrame Batch『SORTユーティリティ参照ガイド』を参照してください。 |
include |
INCLUDE文のオペランドを指定します。詳細については、OpenFrame Batch『SORTユーティリティ参照ガイド』を参照してください。 |
omit |
INCLUDE文のオペランドを指定します。詳細については、OpenFrame Batch『SORTユーティリティ参照ガイド』を参照してください。 |
outrec |
OUTREC文のオペランドを指定します。詳細については、OpenFrame Batch『SORTユーティリティ参照ガイド』を参照してください。 |
sum |
SUM文のオペランドを指定します。詳細については、OpenFrame Batch『SORTユーティリティ参照ガイド』を参照してください。 |
altseq |
ALTSEQ文のオペランドを指定します。詳細については、OpenFrame Batch『SORTユーティリティ参照ガイド』を参照してください。 |
avblock |
出力データセットが含まれているブロックの平均の長さを指定します。 |
quantity |
出力データセットを作成する際に最初に割り当てる空間の量を指定します。 |
increment |
出力データセットの作成中にスペースが不足して追加する必要がある場合に、一度に追加する値を指定します。 |
メッセージを出力するファイルを指定します。OpenFrameでは構文エラーのみチェックします。 |
|
sysprint |
メッセージの出力クラスを指定します。 |
オペランド
以下は、オペランドについての説明です。
| オペランド | 説明 |
|---|---|
IDSNAME |
入力データセット名を指定します。(略語: IDSN) |
IDDNAME |
入力データセットのDD名を指定します。(略語: IDDN、IDD) |
ODSNAME |
出力データセット名を指定します。(略語: ODSN) |
OVOLUME |
出力データセットが含まれているボリュームのシリアル番号を指定します。(略語: OVOL) |
ODDNAME |
出力データセットのDD名を指定します。(略語: ODDN、ODD) |
REGION |
並べ替えに使われるメモリ容量を指定します。OpenFrameでは構文エラーのみチェックします。 |
SORT |
SORT文のオペランドを指定します。 詳細については、OpenFrame Batch『SORTユーティリティ参照ガイド』を参照してください。 |
RECORD |
RECORD文のオペランドを指定します。 詳細については、OpenFrame Batch『SORTユーティリティ参照ガイド』を参照してください。 |
INCLUDE |
INCLUDE文のオペランドを指定します。 詳細については、OpenFrame Batch『SORTユーティリティ参照ガイド』を参照してください。 |
OMIT |
OMIT文のオペランドを指定します。詳細については、OpenFrame Batch『SORTユーティリティ参照ガイド』を参照してください。 |
OUTREC |
OUTREC文のオペランドを指定します。詳細については、OpenFrame Batch『SORTユーティリティ参照ガイド』を参照してください。 |
SUM |
SUM文のオペランドを指定します。詳細については、OpenFrame Batch『SORTユーティリティ参照ガイド』を参照してください。 |
ALTSEQ |
ALTSEQ文のオペランドを指定します。詳細については、OpenFrame Batch『SORTユーティリティ参照ガイド』を参照してください。 |
AVBLOCK |
出力データセットが含まれているブロックの平均の長さを指定します。(略語: AVB) |
SPACE |
出力データセットへのスペースの割当量を指定します。(略語: SPA) |
メッセージを出力するファイルを指定します。OpenFrameでは構文エラーのみチェックします。 |
|
SYSPRINT |
メッセージの出力クラスを指定します。 |
NOPRINT |
メッセージを出力しません。OpenFrameでは構文エラーのみチェックします。 |
JEF |
漢字の並べ替え機能を使用します。OpenFrameでは構文エラーのみチェックします。 |
NOJEF |
漢字の並べ替え機能を使用しません。OpenFrameでは構文エラーのみチェックします。 |
使用例
以下は、SRTDS文の使用例です
SRTDS * IDDN(INPUT) ODDN(OUTPUT) SORT('FIELDS=(12,4,ZD,D)')
66. STATUS文
端末にバッチ・ジョブの状態を出力します。OpenFrameでは構文エラーのみチェックします。
使用法

| 項目 | 説明 |
|---|---|
jobname |
状態を出力するバッチ・ジョブの名前を指定します。OpenFrameでは構文エラーのみチェックします。 |
jobid |
状態を出力するバッチ・ジョブのIDを指定します。OpenFrameでは構文エラーのみチェックします。 |
使用例
以下は、STATUS文の使用例です。
STATUS TEST(JOB00001)
69. SUBMIT文
バッチ・ジョブをTJESシステムにサブミットします。TJESシステムについては、OpenFrame Batch『TJESガイド』を参照してください。
使用法



| 項目 | 説明 |
|---|---|
dataset |
実行するJCLデータセット名を指定します。 |
オペランド
以下は、オペランドについての説明です。
| オペランド | 説明 |
|---|---|
NOTIFY |
ジョブの終了を端末に通知します。OpenFrameでは構文エラーのみチェックします。(略語: NOT) |
NONOTIFY |
ジョブの終了を端末に通知しません。OpenFrameでは構文エラーのみチェックします。(略語: NON) |
RUN |
ジョブの実行を保留しません。OpenFrameでは構文エラーのみチェックします。(略語: R) |
NORUN |
ジョブの実行を保留します。OpenFrameでは構文エラーのみチェックします。(略語: NOR) |
使用例
以下は、SUBMIT文の使用例です。
SUBMIT 'SYS1.JCLLIB(SORT01)'
70. VERIFY文
VSAMデータセットのカタログ情報を更新します。
使用法
| 項目 | 説明 |
|---|---|
dsname |
クラスターあるいは構成要素の名前を指定します。 |
ddname |
クラスターの構成要素のDD名を指定します。 |
オペランド
以下は、オペランドについての説明です。
| オペランド | 説明 |
|---|---|
DATASET |
クラスターあるいは構成要素の名前を指定します。(略語: DS) |
FILE |
クラスターあるいは構成要素のDD名を指定します。(略語: F) |
使用例
以下は、VERIFY文の使用例です。
VERIFY FILE(IN)
71. WAIT文
EVENT文によって監視されているイベントに対してWAIT文を実行する場合、監視の開始点を基準にして監視対象のイベントが発生するまで待機します。
WAIT文で指定したイベントがEVENT文によって監視されていない場合、現在の時点を基準にして監視対象のイベントが発生するまで待機します。すなわち、WAIT文の直前にEVENT文が指定されたかのように動作します。この場合、EVENT文にSTACK(NO)が指定されたのと同様に動作します。
WAIT文は、イベントの発生履歴(スタックで実装されている)を照会します。イベントを登録するとき、STACK(YES)が指定されていると、スタックから項目を取り出します。また、STACK(NO)に指定されている場合は、スタック項目の照会のみ行います。
WAIT文でスタックの項目を取り出したり照会したりすると、イベントの情報が制御変数(例: &SYS#EVENT)に保存されます。制御変数については、コマンド・プロシージャを参照してください。
使用法











| 項目 | 説明 |
|---|---|
time |
指定した時刻まで待機します。hh.mm形式で指定します。
|
date |
指定日まで待機します。OpenFrameでは構文エラーのみチェックします。 |
week |
指定の曜日まで待機します。OpenFrameでは構文エラーのみチェックします。 |
message |
指定したメッセージが出力されるまで待機します。指定した文字列とメッセージの先頭が一致すれば対象となります。「%.文字列」形式で指定した場合は、メッセージの中間部分が指定した文字列と一致すれば対象となります。 |
dspmessage |
イベント待機状態画面に表示するメッセージを指定します。OpenFrameでは構文エラーのみチェックします。 |
sss |
指定した期間の間待機します。(秒単位) |
mmm |
指定した期間の間待機します。(分単位) |
readyjobname |
指定したジョブが開始するまで待機します。OpenFrameでは構文エラーのみチェックします。 |
endjobname |
指定したジョブが終了するまで待機します。 |
msgid |
指定した識別番号を持つメッセージが出力されるまで待機します。 |
system |
指定したシステム・イベントが発生するまで待機します。OpenFrameでは構文エラーのみチェックします。 |
userevent |
指定したユーザー・イベントが発生するまで待機します。OpenFrameでは構文エラーのみチェックします。 |
dataset |
指定したデータセットが作成されるまで待機します。OpenFrameでは構文エラーのみチェックします。 |
mount |
指定したボリュームがマウントされるまで待機します。OpenFrameでは構文エラーのみチェックします。 |
ondevice |
指定したフロッピーディスク装置が準備されるまで待機します。OpenFrameでは構文エラーのみチェックします。 |
sysout |
指定したジョブの出力が終了するまで待機します。OpenFrameでは構文エラーのみチェックします。 |
オペランド
以下は、オペランドについての説明です。
| オペランド | 説明 |
|---|---|
TIME |
指定した時刻まで待機します。 |
DATE |
指定日まで待機します。OpenFrameでは構文エラーのみチェックします。 |
WEEK |
指定の曜日まで待機します。OpenFrameでは構文エラーのみチェックします。 |
MESSAGE |
指定したメッセージが出力されるまで待機します。 |
DSPMESSAGE |
イベント待機状態画面に表示するメッセージを指定します。OpenFrameでは構文エラーのみチェックします。 |
INTERVAL |
指定した期間の間待機します。 |
READYJOBNAME |
指定したジョブが開始するまで待機します。OpenFrameでは構文エラーのみチェックします。 |
ENDJOBNAME |
指定したジョブが終了するまで待機します。(略語: END) |
MSGID |
指定した識別番号を持つメッセージが出力されるまで待機します。 |
SYSTEM |
指定したシステム・イベントが発生するまで待機します。OpenFrameでは構文エラーのみチェックします。 |
USEREVENT |
指定したユーザー・イベントが発生するまで待機します。OpenFrameでは構文エラーのみチェックします。 |
DATASET |
指定したデータセットが作成されるまで待機します。OpenFrameでは構文エラーのみチェックします。 |
MOUNT |
指定したボリュームがマウントされるまで待機します。OpenFrameでは構文エラーのみチェックします。 |
ONDEVICE |
指定したフロッピーディスク装置が準備されるまで待機します。OpenFrameでは構文エラーのみチェックします。 |
SYSOUT |
指定したジョブの出力が終了するまで待機します。OpenFrameでは構文エラーのみチェックします。 |
使用例
以下は、WAIT文の例です。
WAIT MSGID(XDX1000I) INTERVAL(5S)