TSO 명령어
본 장에서는 TSO의 명령어의 사용법에 대해서 설명한다.
1. 개요
다음은 TSO 명령문에 대한 목록이다.
| TSO 명령문 | 설명 |
|---|---|
지정한 워크스테이션을 활성화시킨다. |
|
PED 및 자원을 할당한다. |
|
PED 및 자원을 해제한다. |
|
프로그램 실행에 필요한 데이터셋을 할당한다. |
|
현재 날짜를 변경한다. |
|
작업의 속성을 변경한다. |
|
프로그램 실행에 필요한 데이터셋을 할당한다. |
|
SYSOUT 용 데이터셋을 할당하고, 프린터 출력 정보를 설정한다. |
|
데이터셋의 속성을 정의한다. |
|
외부 프로그램을 실행한다. |
|
실행된 작업을 취소한다. |
|
AIM에 접속되어 있는 특정 워크스테이션의 연결을 종료한다. |
|
데이터셋을 복사한다. |
|
데이터셋이나 데이터셋의 멤버를 복사한다. |
|
테잎 볼륨 간 복제를 한다. |
|
데이터셋을 생성하거나 카탈로그에 등록한다. |
|
작업 시작을 예약한다. |
|
플로피 디스크의 파일을 일반 볼륨으로 복사하거나 일반 볼륨의 파일을 플로피 디스크로 복사한다. OpenFrame에서는 문법 오류만 검사한다. |
|
테잎 볼륨의 파일을 일반 볼륨으로 복사하거나 일반 볼륨의 파일을 테잎 볼륨으로 복사한다. |
|
순서 데이터셋이나 구분 데이터셋의 멤버를 카탈로그에서 제거하고 삭제한다. |
|
데이터셋의 속성을 정의한다. |
|
데이터셋의 상태를 표시한다. OpenFrame에서는 문법 오류만 검사한다. |
|
데이터셋을 삭제하거나 데이터셋의 멤버를 삭제한다. |
|
데이터셋을 삭제하거나 데이터셋의 멤버를 삭제하거나 데이터셋을 카탈로그에서 등록해제한다. |
|
플로피 디스크의 파일을 삭제한다. OpenFrame에서는 문법 오류만 검사한다. |
|
실행된 작업을 취소 및 삭제한다. |
|
EVENT 문과 WAIT 문에서 지정한 이벤트 감시를 해제한다. |
|
새로운 DSN(DB2 Command Processor) 세션을 시작한다. |
|
이벤트 감시를 시작한다. |
|
Command Procedure를 호출한다. |
|
PSAM 맵을 통해 화면 처리를 한다. |
|
PSAM 맵을 호출한다. |
|
외부 프로그램을 실행한다. |
|
Command Procedure를 호출한다. |
|
fexport를 실행한다. |
|
외부 프로그램을 실행한다. |
|
fimport를 실행한다. |
|
ALLOCATE 문, ATTRIB 문 등에 의해 할당된 데이터셋을 해제한다. |
|
ASCFILE 문, DFNFATR 문 등에 의해 할당된 데이터셋을 해제한다. |
|
지정한 워크스테이션을 비활성화시킨다. |
|
플로피 디스크를 초기화한다. OpenFrame에서는 문법 오류만 검사한다. |
|
테잎 볼륨을 초기화한다. |
|
작업 라이브러리에 데이터셋을 등록 및 해제한다. |
|
카탈로그 정보를 출력한다. |
|
TSO 세션을 종료한다. |
|
SYSOUT용 데이터셋을 할당하고, 프린터 출력 정보를 설정한다. |
|
데이터셋의 내용이나 속성을 터미널이나 프린터에 출력한다. |
|
볼륨 정보와 볼륨 내 파일 정보를 출력한다. OpenFrame에서는 문법 오류만 검사한다. |
|
아무 것도 하지 않는다. 일반적으로 IF 문이나 GOTO 문이 분기할 위치에 레이블과 함께 기술한다. |
|
데이터셋 멤버 또는 UNIX 파일을 다른 데이터셋 멤버 또는 파일에 복사한다. |
|
출력을 제어한다. OpenFrame에서는 문법 오류만 검사한다. |
|
PSAM 맵을 통해 화면 처리를 한다. |
|
SYSOUT용 데이터셋을 할당하고, 데이터셋의 내용을 프린터에 출력한다. |
|
각 사용자의 터미널 운영과 관련된 속성을 설정한다. |
|
데이터셋의 내용을 프린터에 출력한다. |
|
데이터셋으로부터 폼 오버레이 패턴을 취득한다. OpenFrame에서는 문법 오류만 검사한다. |
|
실행 보류 상태인 작업의 처리를 재개한다. OpenFrame에서는 문법 오류만 검사한다. |
|
데이터셋의 이름을 변경하거나 PDS의 멤버명을 변경한다. |
|
데이터셋의 이름을 변경하거나 PDS의 멤버명을 변경한다. |
|
DSN의 서브 명령어로서 사용자 애플리케이션을 실행한다. |
|
시스템의 콘솔에 메시지를 전송한다. |
|
스트림 또는 데이터셋의 전체나 일부를 다른 스트림 또는 데이터셋에 복사한다. |
|
응용 프로그램 또는 AIM에 접속되어 있는 특정 워크스테이션으로 메시지를 전달한다. |
|
입력 데이터셋을 정렬하거나 특정 레코드를 선택하는 등의 작업을 수행하고, 그 결과를 출력 데이터셋에 저장한다. |
|
터미널에 배치 JOB 의 상태를 출력한다. OpenFrame에서는 문법 오류만 검사한다. |
|
출력 중, 작업 대기 상태 또는 일시 정지 상태의 라이터를 정지한다. OpenFrame에서는 문법 오류만 검사한다. |
|
정지 상태의 라이터를 기동한다. OpenFrame에서는 문법 오류만 검사한다. |
|
작업을 실행한다. |
|
VSAM 데이터셋의 카탈로그 정보를 갱신한다. |
|
지정된 이벤트 중 적어도 하나가 발생할 때까지 대기한다. |
기종별 기능 지원 여부
다음은 각 명령어의 MVS, VOS3, MSP, XSP에서의 지원 여부이다.
| TSO 명령문 | MVS | VOS3 | MSP | XSP |
|---|---|---|---|---|
ACTNET |
O |
O |
O |
O |
AIMALLOC |
X |
X |
O |
O |
AIMFREE |
X |
X |
O |
O |
ALLOCATE |
O |
O |
O |
O |
ALTDATE |
X |
X |
X |
O |
ALTJOB |
X |
X |
X |
O |
ASCFILE |
X |
X |
X |
O |
ASCLP |
X |
X |
X |
O |
ATTRIB |
O |
O |
O |
O |
CALL |
O |
O |
O |
O |
CANCEL |
O |
O |
O |
O |
CLSTWS |
X |
X |
X |
O |
COPY |
O |
O |
O |
O |
CPYFILE |
O |
O |
O |
O |
CPYTAP |
X |
X |
X |
O |
CRTFILE |
O |
O |
O |
O |
CRTJOBS |
X |
X |
X |
O |
CVTFPD |
X |
X |
X |
O |
CVTTAP |
X |
X |
X |
O |
DELETE |
O |
O |
O |
O |
DFNFATR |
X |
X |
X |
O |
DISPLAY |
O |
O |
O |
O |
DLTDS |
X |
X |
X |
O |
DLTFILE |
O |
O |
O |
O |
DLTFPD |
X |
X |
X |
O |
DLTJOB |
X |
X |
X |
O |
DROP |
X |
X |
X |
O |
DSN |
O |
O |
O |
O |
EVENT |
X |
X |
X |
O |
EXCCL |
X |
X |
X |
O |
EXCEFI |
X |
X |
X |
O |
EXCEFW |
X |
X |
X |
O |
EXCPGM |
X |
X |
X |
O |
EXEC |
O |
O |
O |
O |
FEXPORT |
X |
X |
O |
O |
FETCH |
△ |
X |
X |
X |
FIMPORT |
X |
X |
O |
O |
FREE |
O |
O |
O |
O |
FREFILE |
X |
X |
X |
O |
INANET |
X |
X |
O |
O |
INTFPD |
X |
X |
X |
O |
INTTAP |
X |
X |
X |
O |
LIBRARY |
O |
O |
O |
O |
LISTCAT |
O |
O |
O |
O |
LOGOFF |
O |
O |
O |
O |
LPALLOC |
X |
X |
X |
O |
LSTFILE |
X |
X |
O |
O |
LSTVOL |
X |
X |
O |
O |
NOP |
X |
X |
X |
O |
OCOPY |
O |
X |
X |
X |
OUTPUT |
O |
O |
O |
O |
PANEL |
X |
X |
X |
O |
PRINTOFF |
O |
O |
O |
O |
PROFILE |
O |
O |
O |
O |
PRTFILE |
X |
X |
O |
O |
PUTOVL |
X |
X |
O |
O |
RELEASE |
X |
X |
O |
O |
RENAME |
O |
O |
O |
O |
RNMFILE |
X |
X |
O |
O |
RUN |
O |
O |
O |
O |
SEND |
O |
O |
O |
O |
SMCOPY |
O |
X |
X |
X |
SNDTMSG |
X |
X |
X |
O |
SRTDS |
X |
X |
X |
O |
STATUS |
O |
X |
X |
X |
STPWTR |
X |
X |
O |
O |
STRWTR |
X |
X |
O |
O |
SUBMIT |
O |
O |
O |
O |
VERIFY |
X |
X |
O |
O |
WAIT |
X |
X |
X |
O |
|
FETCH 명령어는 MVS의 ISPF service를 통해 CLIST를 수행할 때만 동작하고, TSO Batch 모드에서는 동작하지 않는다. |
2. ACTNET 문
지정한 워크스테이션을 활성화시킨다.
사용법



| 항목 | 설명 |
|---|---|
id |
활성화시킬 워크스테이션의 이름이다. |
오퍼랜드
다음은 앞에서 언급한 오퍼랜드에 대한 설명이다.
| 오퍼랜드 | 설명 |
|---|---|
ID |
활성화시킬 워크스테이션을 지정한다. |
SCOPE |
활성화시킬 워크스테이션의 범위를 지정한다. OpenFrame에서는 ALL에 대한 동작만 지원하며 나머지는 문법 오류만 검사한다. |
LOAD |
활성화시킬 워크스테이션의 로딩 조건을 지정한다. OpenFrame에서는 문법 오류만 검사한다. |
예제
다음은 ACTNET 문 사용 예제이다.
ACTNET ID(OIVPWS01) ACTNET ID(OIVPWS01) SCOPE(ALL)
3. AIMALLOC 문
PED 및 PED에서 정의한 자원(데이터베이스, 확장 인덱스 데이터셋 등)의 할당을 실시하고, 동시에 APG와의 결합도 실시한다.
사용법
| 항목 | 설명 |
|---|---|
ped_name |
할당할 PED의 이름이다. |
apg_name |
결합하는 APG의 이름이다. |
dir_id |
PED가 등록된 AIM Directory ID이다. |
오퍼랜드
다음은 앞에서 언급한 오퍼랜드에 대한 설명이다.
| 오퍼랜드 | 설명 |
|---|---|
PED |
할당할 PED를 지정한다. |
APG |
결합하는 APG를 지정한다. |
DID |
PED가 등록된 AIM Directory ID를 지정한다. |
예제
다음은 TSO 작업에 PED1을 할당하면서 APG1을 결합하는 예제이다.
AIMALLOC PED(PED1) APG(APG1)
4. AIMFREE 문
AIMALLOC 명령을 사용하여 할당된 PED와 관련 자원들의 지정을 해제하고 APG와의 결합도 해제한다.
사용법
| 항목 | 설명 |
|---|---|
ped_name |
해제할 PED의 이름이다. |
오퍼랜드
다음은 앞에서 언급한 오퍼랜드에 대한 설명이다.
| 오퍼랜드 | 설명 |
|---|---|
PED |
해제할 PED를 지정한다. |
예제
AIMFREE 명령을 사용하여 할당된 PED1을 해제하는 예제이다.
AIMFREE PED(PED1)
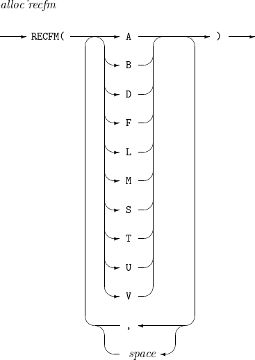
5. ALLOCATE 문
프로그램 실행에 필요한 데이터셋을 동적으로 할당한다. 각종 오퍼랜드를 이용해 데이터셋의 속성을 지정할 수도 있다.
사용법









| 항목 | 설명 |
|---|---|
rec_len |
데이터셋의 레코드의 길이를 지정한다. |
serial |
데이터셋이 있는 볼륨의 일련번호를 지정한다. |
quantity |
데이터셋 생성할 때 최초에 할당할 공간의 양을 지정한다. |
increment |
데이터셋의 작성 중에 스페이스가 부족해서 추가를 해야 하는 경우 한 번에 추가할 값을 지정한다. |
dir_blocks |
구분 데이터셋(PDS)을 작성할 때 디렉터리 영역의 스페이스 할당량을 지정한다. OpenFrame에서는 문법 오류만 검사한다. |
destination |
SYSOUT 데이터셋의 출력처를 지정한다. OpenFrame에서는 문법 오류만 검사한다. |
unit |
데이터셋을 할당할 장치를 지정한다. |
attr_list |
사용할 속성 리스트의 이름을 기술한다. |
writer |
External writer의 이름을 지정한다. OpenFrame에서는 문법 오류만 검사한다. |
dsname |
데이터셋의 이름을 지정한다. PDS인 경우 괄호 안에 멤버명을 기술한다. |
ddname |
데이터셋의 DD 이름을 지정한다. |
sysout_class |
SYSOUT 데이터셋의 출력 클래스를 지정한다. OpenFrame에서는 문법 오류만 검사한다. |
block_size |
블록의 길이를 Byte 단위로 지정한다. OpenFrame에서는 문법 오류만 검사한다. |
오퍼랜드
다음은 앞에서 언급한 오퍼랜드에 대한 설명이다.
| 오퍼랜드 | 설명 |
|---|---|
BLKSIZE |
블록의 길이를 Byte 단위로 지정한다. (약어: BLK, BL) |
CATALOG |
데이터셋을 카탈로그에 추가한다. (약어: CAT, CA) |
CYLINDERS |
스페이스 할당량의 초기값 및 추가값의 단위가 실린더인 것을 의미한다. (약어: CYLINDER, CYL, CY) |
DATASET |
데이터셋의 이름을 지정한다. (약어: DA) |
DDNAME |
데이터셋의 DD 이름을 지정한다. (약어: DDN, DD) |
DELETE |
작업 종료 후 데이터셋을 삭제한다. (약어: DEL) |
DEST |
SYSOUT 데이터셋의 출력처를 지정한다. OpenFrame에서는 문법 오류만 검사한다. |
DIR |
구분 데이터셋(PDS)을 작성할 때 디렉터리 영역의 스페이스 할당량을 지정한다. OpenFrame에서는 문법 오류만 검사한다. |
DSNAME |
데이터셋의 이름을 지정한다. (약어: DSN, DS) |
DSORG |
데이터셋의 구조를 지정한다.
|
DUMMY |
해당하는 데이터셋이 DUMMY 데이터셋임을 의미한다. |
FILE |
DD 이름을 지정한다. (약어: FI, F) |
HOLD |
SYSOUT 데이터셋을 출력 보류 상태로 만든다. OpenFrame에서는 문법 오류만 검사한다. |
KEEP |
작업 종료 후 데이터셋을 보존한다. |
LRECL |
레코드 길이를 지정한다. |
MOD |
기존 데이터셋을 확장(추가 쓰기)한다. |
NEW |
새로운 데이터셋을 생성한다. (약어: NE) |
OLD |
기존 데이터셋을 읽는다. |
RECFM |
레코드의 형식과 특성을 지정한다.
|
RELEASE |
데이터셋을 close 할 때 미사용 스페이스를 해제한다. |
REUSE |
사용하려는 DD 이름이 이미 할당된 경우에는 해제 후 다시 할당한다. (약어: REU) 이미 할당된 DD의 disposition status가 OLD이고, 새로 할당하는 DD의 disposition status가 SHR 일 때는 REUSE 오퍼랜드를 사용할 수 없다. 이때는 FREE 명령어를 수행 후, 다시 ALLOCATE 명령어를 수행해야 한다. |
ROUND |
데이터셋의 초기 할당 및 추가 할당 시 실린더 단위로 공간을 할당한다. OpenFrame에서는 문법 오류만 검사한다. (약어: RO) |
SHR |
이미 존재하는 데이터셋이며, 다른 사용자로부터 동시에 사용되는 것을 허락한다. (약어: SH) |
SPACE |
신규 데이터셋의 공간 할당량을 지정한다. (약어: SP) |
SYSOUT |
SYSOUT 데이터셋의 출력 클래스를 지정한다. OpenFrame에서는 문법 오류만 검사한다. (약어: SY) |
TRACKS |
스페이스 할당량의 초기값 및 추가값의 단위가 트랙인 것을 의미한다. (약어: TRACK, TRA, TR, T) |
INPUT |
입력 처리를 한다. OpenFrame에서는 문법 오류만 검사한다. |
OUTPUT |
출력 처리를 한다. OpenFrame에서는 문법 오류만 검사한다. |
UNCATALOG |
데이터셋을 카탈로그에서 제거한다. |
UNIT |
데이터셋을 할당할 장치를 지정한다. |
USING |
사용할 속성 리스트의 이름을 기술한다. (약어: US) |
VOLUME |
데이터셋이 있는 볼륨의 일련번호를 지정한다. (약어: VOL, VO) |
VSEQ |
데이터셋이 있는 볼륨의 일련번호를 지정한다. OpenFrame에서는 문법 오류만 검사한다. (약어: VSE) |
WRITER |
External writer의 이름을 지정한다. OpenFrame에서는 문법 오류만 검사한다. |
예제
다음은 ALLOCATE 문 사용 예제이다.
ALLOC DSN(NEW.DATA),NEW,USING(ATTR1),VOL(VOL1)
6. ALTDATE 문
현재 날짜를 변경한다. 본 명령은 TSO 세션 내에서만 유효하다.
사용법
| 항목 | 설명 |
|---|---|
yymmdd |
현재 날짜를 yy년 mm월 dd일로 변경한다. YYMMDD 형식으로 지정한다. 본 항목을 지정하지 않으면 변경된 날짜를 다음과 같이 되돌린다.
|
오퍼랜드
다음은 앞에서 언급한 오퍼랜드에 대한 설명이다.
| 오퍼랜드 | 설명 |
|---|---|
STANDARD |
서기 연월일을 기술한다. |
DOMESTIC |
일본식 날짜를 기술한다. OpenFrame에서는 지원하지 않는다. |
예제
다음은 ALTDATE 문 사용 예제로서, 현재 날짜를 2016년 3월 1일로 변경한다.
ALTDATE STANDARD(160301)
7. ALTJOB 문
사용자가 지정한 조건을 만족하는 작업의 속성을 변경한다.
사용법


| 항목 | 설명 |
|---|---|
jobname |
지정된 작업명을 가진 작업들의 속성을 변경한다. 애스터리스크(*)를 기술한 경우엔 작업명이 무엇이든 상관없이 속성을 변경한다. |
newclass |
작업의 출력 클래스를 지정된 값으로 변경한다. |
newogroup |
작업의 출력 작업 그룹을 지정된 값으로 변경한다. OpenFrame에서는 문법 오류만 검사한다. |
newjgroup |
작업의 작업 그룹을 지정된 값으로 변경한다. OpenFrame에서는 문법 오류만 검사한다. |
priority |
작업의 우선순위를 지정된 값으로 변경한다. OpenFrame에서는 문법 오류만 검사한다. |
jobcode |
지정된 작업 코드를 가진 작업들의 속성을 변경한다. OpenFrame에서는 문법 오류만 검사한다. |
user |
지정된 사용자가 소유한 작업들의 속성을 변경한다. 애스터리스크(*)를 기술한 경우엔 작업의 소유자가 누구이든 상관없이 속성을 변경한다. |
class |
지정된 출력 클래스에 속한 작업들의 속성을 변경한다. |
ogroup |
지정된 출력 작업 그룹에 속한 작업들의 속성을 변경한다. OpenFrame에서는 문법 오류만 검사한다. |
jgroup |
지정된 작업 그룹에 속한 작업들의 속성을 변경한다. OpenFrame에서는 문법 오류만 검사한다. |
오퍼랜드
다음은 앞에서 언급한 오퍼랜드에 대한 설명이다.
| 오퍼랜드 | 설명 |
|---|---|
NEWCLASS |
작업의 출력 클래스를 지정된 값으로 변경한다. 이 오퍼랜드를 지정하면 출력 대기 중인 작업들만 변경 대상이 된다. |
NEWOGROUP |
작업의 출력 작업 그룹을 지정된 값으로 변경한다. OpenFrame에서는 문법 오류만 검사한다. |
NEWJGROUP |
작업의 작업 그룹을 지정된 값으로 변경한다. OpenFrame에서는 문법 오류만 검사한다. |
PRIORITY |
작업의 우선순위를 지정된 값으로 변경한다. OpenFrame에서는 문법 오류만 검사한다. |
JOBCODE |
지정된 작업 코드를 가진 작업들의 속성을 변경한다. OpenFrame에서는 문법 오류만 검사한다. |
USER |
지정된 사용자가 소유한 작업들의 속성을 변경한다. |
CLASS |
지정된 출력 클래스에 속한 작업들의 속성을 변경한다. 이 오퍼랜드를 지정하면 출력 대기 중인 작업들만 변경 대상이 된다. |
OGROUP |
지정된 출력 작업 그룹에 속한 작업들의 속성을 변경한다. OpenFrame에서는 문법 오류만 검사한다. |
JGROUP |
지정된 작업 그룹에 속한 작업들의 속성을 변경한다. OpenFrame에서는 문법 오류만 검사한다. |
IN |
대기 중인 작업들만 변경 대상으로 삼는다. |
EXEC |
실행 중인 작업들만 변경 대상으로 삼는다. |
OUT |
출력 대기 중인 작업들만 변경 대상으로 삼는다. |
예제
다음은 ALTJOB 문 사용 예제이다.
ALTJOB * NEWCLASS(B) OUT CLASS(A)
8. ASCFILE 문
프로그램 실행에 필요한 데이터셋을 동적으로 할당한다. 각종 오퍼랜드를 이용해 데이터셋의 속성을 지정할 수도 있다.
사용법











| 항목 | 설명 |
|---|---|
dir_blocks |
구분 데이터셋(PDS)을 작성할 때 디렉터리 영역의 스페이스 할당량을 지정한다. OpenFrame에서는 문법 오류만 검사한다. |
attr_list |
사용할 속성 리스트의 이름을 기술한다. |
unit |
데이터셋을 할당할 장치를 지정한다. |
ucount |
데이터셋을 할당할 장치의 최대 개수를 지정한다. OpenFrame에서는 문법 오류만 검사한다. |
vposition |
데이터셋이 여러 볼륨에 걸쳐 있을 경우 가장 먼저 처리할 볼륨의 일련번호를 지정한다. OpenFrame에서는 문법 오류만 검사한다. |
ddname |
데이터셋의 DD 이름을 지정한다. |
dsname |
데이터셋의 이름을 지정한다. PDS인 경우 괄호 안에 멤버명을 기술한다. |
quantity |
데이터셋 생성할 때 최초에 할당할 공간의 양을 지정한다. |
increment |
데이터셋의 작성 중에 스페이스가 부족해서 추가를 해야 하는 경우 한 번에 추가할 값을 지정한다. |
avblock |
블록의 평균 길이를 Byte 단위로 지정한다. |
block_size |
블록의 길이를 Byte 단위로 지정한다. |
serial |
데이터셋이 있는 볼륨의 일련번호를 지정한다. |
position |
자기 테잎 볼륨에 있는 파일의 순서 번호를 지정한다. OpenFrame에서는 문법 오류만 검사한다. |
오퍼랜드
다음은 앞에서 언급한 오퍼랜드에 대한 설명이다.
| 오퍼랜드 | 설명 |
|---|---|
REUSE |
사용하려는 DD 이름이 이미 할당(allocate)된 경우에는 해제 후 다시 할당한다. OpenFrame에서는 문법 오류만 검사한다. |
DIR |
구분 데이터셋(PDS)을 작성할 때 디렉터리 영역의 스페이스 할당량을 지정한다. OpenFrame에서는 문법 오류만 검사한다. |
USING |
사용할 속성 리스트의 이름을 기술한다. |
RELEASE |
데이터셋을 close 할 때 미사용 스페이스를 해제한다. |
LABEL |
레이블의 종류를 지정한다.
|
UNIT |
데이터셋을 할당할 장치를 지정한다. |
UCOUNT |
데이터셋을 할당할 장치의 최대 개수를 지정한다. OpenFrame에서는 문법 오류만 검사한다. |
VPOSITION |
데이터셋이 여러 볼륨에 걸쳐 있을 경우 가장 먼저 처리할 볼륨의 일련번호를 지정한다. OpenFrame에서는 문법 오류만 검사한다. |
DEFER |
데이터셋을 open 할 때 자기 테잎 볼륨을 장치에 장착한다. OpenFrame에서는 문법 오류만 검사한다. |
DDNAME |
데이터셋의 DD 이름을 지정한다. (약어: DDN, DD) |
DSNAME |
데이터셋의 이름을 지정한다. (약어: DSN, DS) |
DUMMY |
해당하는 데이터셋이 DUMMY 데이터셋임을 의미한다. |
NEW |
새로운 데이터셋을 생성한다. |
OLD |
기존 데이터셋을 읽는다. |
SHR |
이미 존재하는 데이터셋이며, 다른 사용자로부터 동시에 사용되는 것을 허락한다. |
MOD |
기존 데이터셋을 확장(추가 쓰기)한다. |
KEEP |
작업 종료 후 데이터셋을 보존한다. |
DELETE |
작업 종료 후 데이터셋을 삭제한다. |
CATALOG |
데이터셋을 카탈로그에 추가한다. |
UNCATALOG |
데이터셋을 카탈로그에서 제거한다. |
SPACE |
신규 데이터셋의 공간 할당량을 지정한다. (약어: SPA) |
AVBLOCK |
블록의 평균 길이를 Byte 단위로 지정한다. (약어: AVB) |
BLKSIZE |
블록의 길이를 Byte 단위로 지정한다. |
BLOCK |
블록의 길이를 Byte 단위로 지정한다. |
VOLUME |
데이터셋이 있는 볼륨의 일련번호를 지정한다. (약어: VOL) |
POSITION |
자기 테잎 볼륨에 있는 파일의 순서 번호를 지정한다. OpenFrame에서는 문법 오류만 검사한다. |
ADD |
자기 테잎 볼륨에 파일을 추가로 생성한다. OpenFrame에서는 문법 오류만 검사한다. |
RETAIN |
데이터셋을 해제(unallocate)할 때 자기 테잎 볼륨을 장치에서 분리하지 않는다. OpenFrame에서는 문법 오류만 검사한다. |
UNLOAD |
데이터셋을 close 할 때 자기 테잎 볼륨을 장치에서 분리한다. OpenFrame에서는 문법 오류만 검사한다. |
예제
다음은 ASCFILE 문 사용 예제이다.
ASCFILE DSN(NEW.DATA),NEW,USING(ATTR1),VOL(VOL1)
9. ASCLP 문
SYSOUT용 데이터셋을 할당하고, 프린터 출력 정보를 설정한다.
사용법















| 항목 | 설명 |
|---|---|
ddname |
SYSOUT 데이터셋의 DD 이름을 지정한다. |
sysout |
SYSOUT 데이터셋의 출력 클래스를 지정한다. |
attr_list |
사용할 속성 리스트의 이름을 기술한다. |
code |
용지 서식 번호를 지정한다. |
lpci |
용지 제어 이미지 식별명을 지정한다. |
copies |
출력 부수를 지정한다. |
ucs |
문자 셋 식별명을 지정한다. |
pgm |
출력 프로그램명을 지정한다. |
overlayname |
폼 오버레이 모듈 식별명을 지정한다. |
flashcount |
폼 오버레이 패턴 복사 부수를 지정한다. |
modify |
복제 수정 모듈의 식별명을 지정한다. |
modtrc |
수정 데이터 인쇄 시 사용하는 테이블 참조 번호를 지정한다. |
page |
지정된 페이지 수에 도달했을 때 출력이 분할되어, 새로운 출력 목록으로서 출력을 대기한다. OpenFrame에서는 문법 오류만 검사한다. |
ogroup |
출력 작업 그룹명을 지정한다. OpenFrame에서는 문법 오류만 검사한다. |
quantity |
데이터셋 생성할 때 최초에 할당할 공간의 양을 지정한다. |
increment |
데이터셋의 작성 중에 스페이스가 부족해서 추가를 해야 하는 경우 한 번에 추가할 값을 지정한다. |
avblock |
블록의 평균 길이를 Byte 단위로 지정한다. |
cs |
문자 배열 테이블과 추가 문자 셋 식별명을 지정한다. |
group |
페이지 단위의 출력 부수를 지정한다. |
오퍼랜드
다음은 앞에서 언급한 오퍼랜드에 대한 설명이다.
| 오퍼랜드 | 설명 |
|---|---|
SYSOUT |
SYSOUT 데이터셋의 출력 클래스를 지정한다. |
USING |
사용할 속성 리스트의 이름을 기술한다. |
CODE |
용지 서식 번호를 지정한다. |
LPCI |
용지 제어 이미지 식별명을 지정한다. |
COPIES |
출력 부수를 지정한다. (약어: COP) |
UCS |
문자 셋 식별명을 지정한다. |
PGM |
출력 프로그램명을 지정한다. |
OVERLAYNAME |
폼 오버레이 모듈 식별명을 지정한다. |
FLASHCOUNT |
폼 오버레이 패턴 복사 부수를 지정한다. |
MODIFY |
복제 수정 모듈의 식별명을 지정한다. |
MODTRC |
수정 데이터 인쇄 시 사용하는 테이블 참조 번호를 지정한다. |
PAGE |
지정된 페이지 수에 도달했을 때 출력이 분할되어, 새로운 출력 목록으로서 출력을 대기한다. OpenFrame에서는 문법 오류만 검사한다. |
REPEAT |
출력한 목록을 재출력한다. |
OGROUP |
출력 작업 그룹명을 지정한다. OpenFrame에서는 문법 오류만 검사한다. |
SPACE |
SYSOUT 데이터셋의 공간 할당량을 지정한다. |
AVBLOCK |
블록의 평균 길이를 지정한다. (약어: AVB) |
CHARS |
문자 배열 테이블과 추가 문자 셋 식별명을 지정한다. |
GROUPVALUE |
페이지 단위의 출력 부수를 지정한다. |
LANDSCAPE |
SYSOUT 데이터셋을 가로 모드로 인쇄한다.
|
LINEPRINTER |
SYSOUT 데이터셋을 LP 모드로 인쇄한다.
|
PORTRAIT |
SYSOUT 데이터셋을 세로 모드로 인쇄한다.
|
LZOOM |
SYSOUT 데이터셋을 가로 모드에서 80% 축소해서 인쇄한다.
|
PZOOM |
SYSOUT 데이터셋을 세로 모드에서 80% 축소해서 인쇄한다.
|
BIND |
용지 제본 위치를 지정한다.
|
SIDE |
인쇄할 면을 지정한다.
|
PRTAREA |
인쇄 금지 영역의 처리를 지정한다.
|
HOPPER |
용지 공급구 위치를 지정한다.
|
STACKER |
용지 배출구 위치를 지정한다.
|
예제
다음은 ASCLP 문 사용 예제이다.
ASCLP LIST1 USING(ATTRLIST)
10. ATTRIB 문
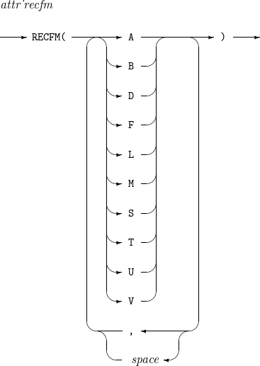
ALLOCATE 문에서 사용 가능한 데이터셋 속성 목록을 정의한다. ALLOCATE 문에서는 여기서 정의된 속성 목록을 USING 오퍼랜드를 이용해 사용할 수 있다.
사용법









| 항목 | 설명 |
|---|---|
name |
속성 리스트의 이름을 지정한다. |
rec_len |
레코드의 길이를 지정한다. |
blksz |
블록의 크기를 지정한다. |
buflen |
버퍼의 크기를 지정한다. OpenFrame에서는 문법 오류만 검사한다. |
bufno |
사용하는 버퍼의 개수를 지정한다. OpenFrame에서는 문법 오류만 검사한다. |
ncp |
CHECK 수행 전 READ/WRITE의 최대 개수를 지정한다. OpenFrame에서는 문법 오류만 검사한다. |
limct |
검색할 트랙/블록 수를 지정한다. OpenFrame에서는 문법 오류만 검사한다. |
expdt |
데이터셋의 만료일자를 지정한다. |
retpd |
데이터셋의 보존 기한을 일수로 지정한다. |
bufoff |
블록 접두어의 길이를 지정한다. OpenFrame에서는 문법 오류만 검사한다. |
den |
테잎의 기록 밀도를 지정한다. OpenFrame에서는 문법 오류만 검사한다. |
keylen |
키의 길이를 지정한다. |
오퍼랜드
다음은 앞에서 언급한 오퍼랜드에 대한 설명이다.
| 오퍼랜드 | 설명 |
|---|---|
DSORG |
데이터셋의 구조를 지정한다. (약어: DS)
|
RECFM |
레코드의 형식과 특성을 지정한다. (약어: REC)
|
LRECL |
레코드의 길이를 지정한다. (약어: LR) |
BLKSIZE |
블록의 크기를 지정한다. (약어: BLK, BL) |
BUFL |
버퍼의 크기를 지정한다. OpenFrame에서는 문법 오류만 검사한다. |
BUFNO |
사용하는 버퍼의 개수를 지정한다. OpenFrame에서는 문법 오류만 검사한다. (약어: BUFN) |
INPUT |
입력 처리를 한다. OpenFrame에서는 문법 오류만 검사한다. (약어: I) |
OUTPUT |
출력 처리를 한다. OpenFrame에서는 문법 오류만 검사한다. (약어: OU) |
NCP |
CHECK 수행 전 READ/WRITE의 최대 개수를 지정한다. OpenFrame에서는 문법 오류만 검사한다. (약어: N) |
BFALN |
버퍼의 경계를 맞춘다. OpenFrame에서는 문법 오류만 검사한다. (약어: BFA) |
BFTEK |
버퍼 제어 방법을 지정한다. OpenFrame에서는 문법 오류만 검사한다. (약어: BFT) |
LIMCT |
검색할 트랙/블록 수를 지정한다. OpenFrame에서는 문법 오류만 검사한다. (약어: LI) |
EROPT |
데이터 에러를 검출할 때 처리 방법을 지정한다. OpenFrame에서는 문법 오류만 검사한다. (약어: ER) |
DIAGNS |
작업 영역과 DCB 내용을 추적한다. OpenFrame에서는 문법 오류만 검사한다. (약어: DI) |
EXPDT |
데이터셋의 만료 일자를 지정한다. (약어: EX) |
RETPD |
데이터셋의 보관 기간을 지정한다. (약어: RET) |
OPTCD |
옵션 기능을 지정한다. OpenFrame에서는 문법 오류만 검사한다. (약어: OP) |
BUFOFF |
블록 접두어의 길이를 지정한다. OpenFrame에서는 문법 오류만 검사한다. (약어: BUFO) |
DEN |
테잎의 기록 밀도를 지정한다. OpenFrame에서는 문법 오류만 검사한다. (약어: DE) |
KEYLEN |
키의 길이를 지정한다. (약어: K) |
MODE |
한자 프린터 사용 모드를 지정한다. OpenFrame에서는 문법 오류만 검사한다. (약어: M) |
TRTCH |
테잎의 기록 방식을 지정한다. OpenFrame에서는 문법 오류만 검사한다. (약어: T) |
REUSE |
사용하려는 DD 이름이 이미 할당된 경우에는 해제하고 다시 할당한다. (약어: REU) |
예제
다음은 ATTRIB 문 사용 예제이다.
ATTRIB DCB1 RECFM(F,B),LRECL(80),DSORG(PO)
11. CALL 문
응용 프로그램이나 동적 라이브러리를 실행한다. 프로그램의 종료 코드가 CALL 명령의 반환 코드로 설정된다.
사용법

| 항목 | 설명 |
|---|---|
dsname |
데이터셋 이름을 기술한다. PDS인 경우 괄호 안에 멤버명을 기술한다. |
call_param |
프로그램에 전달할 파라미터값을 기술한다. |
second |
제한 시간을 초 단위로 지정한다. OpenFrame에서는 문법 오류만 검사한다. |
오퍼랜드
다음은 앞에서 언급한 오퍼랜드에 대한 설명이다.
| 오퍼랜드 | 설명 |
|---|---|
TIME |
CPU 시간을 제한한다. OpenFrame에서는 문법 오류만 검사한다. (약어: T) |
CAPS |
파라미터 목록을 대문자로 변환한다. |
ASIS |
파라미터 목록을 대문자로 변환하지 않는다. |
예제
다음은 CALL 문 사용 예제이다.
CALL 'SYS1.LINKLIB(JLAASSY)' '12,ALL',ASIS
12. CANCEL 문
SUBMIT 문 등에 의해 제출된 작업을 취소한다.
사용법


| 항목 | 설명 |
|---|---|
jobname |
취소할 작업의 이름을 기술한다. |
jobid |
취소할 작업의 ID를 기술한다. |
오퍼랜드
다음은 앞에서 언급한 오퍼랜드에 대한 설명이다.
| 오퍼랜드 | 설명 |
|---|---|
NOPURGE |
실행 취소된 작업의 출력 데이터셋을 삭제하지 않는다. (약어: N) |
PURGE |
실행 취소된 작업의 출력 데이터셋을 삭제한다. (약어: P) |
예제
다음은 CANCEL 문 사용 예제이다.
CANCEL (D58BOBTA,D58BOBTB(JOB00051),D58BOBTC)
13. CLSTWS 문
AIM에 접속되어 있는 특정 워크스테이션의 연결을 종료한다.
사용법
| 항목 | 설명 |
|---|---|
ws |
AIM으로부터 종료할 워크스테이션의 이름이다. |
오퍼랜드
다음은 앞에서 언급한 오퍼랜드에 대한 설명이다.
| 오퍼랜드 | 설명 |
|---|---|
WS |
AIM으로부터 종료할 워크스테이션의 이름을 지정한다. |
MODE |
종료 유형을 지정한다.
|
예제
다음은 CLSTWS 문 사용 예제이다.
CLSTWS WS(OIVPWS01) CLSTWS WS(OIVPWS01) MODE(EMG)
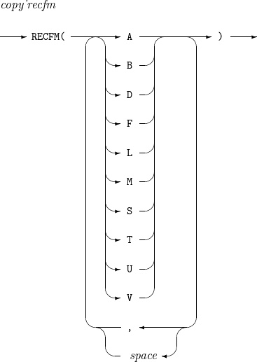
14. COPY 문
순서 데이터셋이나 구분 데이터셋의 멤버를 또다른 순서 데이터셋이나 구분 데이터셋의 멤버로 복사한다.
사용법


| 항목 | 설명 |
|---|---|
src_dsname |
입력 데이터셋 이름을 지정한다. |
dst_dsname |
출력 데이터셋 이름을 지정한다. |
blksz |
출력 데이터셋의 블록 길이를 지정한다. OpenFrame에서는 문법 오류만 검사한다. |
rec_len |
출력 데이터셋의 레코드 길이를 지정한다. OpenFrame에서는 문법 오류만 검사한다. |
src_pos |
입력 데이터셋의 행 번호 필드의 시작 위치를 지정한다. OpenFrame에서는 문법 오류만 검사한다. |
src_len |
입력 데이터셋의 행 번호 필드의 길이를 지정한다. OpenFrame에서는 문법 오류만 검사한다. |
dst_pos |
출력 데이터셋의 행 번호 필드의 시작 위치를 지정한다. OpenFrame에서는 문법 오류만 검사한다. |
dst_len |
출력 데이터셋의 행 번호 필드의 길이를 지정한다. OpenFrame에서는 문법 오류만 검사한다. |
start |
행 번호의 초기값을 지정한다. OpenFrame에서는 문법 오류만 검사한다. |
incr |
행 번호의 증가량을 지정한다. OpenFrame에서는 문법 오류만 검사한다. |
오퍼랜드
다음은 앞에서 언급한 오퍼랜드에 대한 설명이다.
| 오퍼랜드 | 설명 |
|---|---|
BLOCK |
출력 데이터셋의 블록 길이를 지정한다. OpenFrame에서는 문법 오류만 검사한다. (약어: B) |
BLKSIZE |
출력 데이터셋의 블록 길이를 지정한다. OpenFrame에서는 문법 오류만 검사한다. |
LRECL |
출력 데이터셋의 레코드 길이를 지정한다. OpenFrame에서는 문법 오류만 검사한다. (약어: L) |
RECFM |
출력 데이터셋의 레코드 형식을 지정한다. OpenFrame에서는 문법 오류만 검사한다. (약어: REC) |
NUM |
입력 데이터셋의 행 번호 필드를 지정한다. OpenFrame에서는 문법 오류만 검사한다. |
NONUM |
입력 데이터셋의 행 번호를 표시하지 않는다. OpenFrame에서는 문법 오류만 검사한다. (약어: NO) |
NUM2 |
출력 데이터셋의 행 번호 필드를 지정한다. OpenFrame에서는 문법 오류만 검사한다. |
RENUM |
행 번호의 초기값과 증가량을 지정한다. OpenFrame에서는 문법 오류만 검사한다. (약어: REN) |
CONVERT |
각 레코드의 내용을 라벨 없이 테잎에 출력한다. OpenFrame에서는 문법 오류만 검사한다. (약어: C) |
ASCII |
각 레코드의 내용을 라벨 없이 테잎에 출력한다. OpenFrame에서는 문법 오류만 검사한다. (약어: AS) |
ALIAS |
PDS의 멤버를 복사할 때 별명도 함께 복사한다. OpenFrame에서는 문법 오류만 검사한다. (약어: AL) |
ERCODE |
입력 데이터셋의 블록 길이가 출력 데이터셋의 블록 길이보다 크면 에러 코드를 리턴한다. OpenFrame에서는 문법 오류만 검사한다. (약어: E) |
예제
다음은 COPY 문 사용 예제이다.
COPY TEST1(MEM1) TEST2(MEM2)
15. CPYFILE 문
데이터셋이나 데이터셋의 멤버를 복사한다.
사용법






| 항목 | 설명 |
|---|---|
src_dsname |
입력 데이터셋 이름을 지정한다. PDS의 멤버를 복사하려면 PDS 이름 뒤에 멤버명을 괄호와 함께 기술한다. |
dst_dsname |
출력 데이터셋 이름을 지정한다. PDS의 멤버를 복사하려면 PDS 이름 뒤에 멤버명을 괄호와 함께 기술한다. |
mpassword |
GEM 파일 멤버에 접근하기 위한 비밀번호를 지정한다. OpenFrame에서는 문법 오류만 검사한다. |
infpassword |
입력 데이터셋에 접근하기 위한 비밀번호를 지정한다. OpenFrame에서는 문법 오류만 검사한다. |
outfpassword |
출력 데이터셋에 접근하기 위한 비밀번호를 지정한다. OpenFrame에서는 문법 오류만 검사한다. |
involume |
입력 데이터셋이 속한 볼륨의 일련 번호를 지정한다. |
outvolume |
출력 데이터셋이 속한 볼륨의 일련 번호를 지정한다. |
i_pos |
입력 데이터셋의 행 번호 위치를 지정한다. OpenFrame에서는 문법 오류만 검사한다. |
i_len |
입력 데이터셋의 행 번호 길이를 지정한다. OpenFrame에서는 문법 오류만 검사한다. |
o_pos |
출력 데이터셋의 행 번호 위치를 지정한다. OpenFrame에서는 문법 오류만 검사한다. |
o_len |
출력 데이터셋의 행 번호 길이를 지정한다. OpenFrame에서는 문법 오류만 검사한다. |
오퍼랜드
다음은 앞에서 언급한 오퍼랜드에 대한 설명이다.
| 오퍼랜드 | 설명 |
|---|---|
MPASSWORD |
GEM 파일 멤버에 접근하기 위한 비밀번호를 지정한다. OpenFrame에서는 문법 오류만 검사한다. (약어: MP) |
INFPASSWORD |
입력 데이터셋에 접근하기 위한 비밀번호를 지정한다. OpenFrame에서는 문법 오류만 검사한다. (약어: INF) |
OUTFPASSWORD |
출력 데이터셋에 접근하기 위한 비밀번호를 지정한다. OpenFrame에서는 문법 오류만 검사한다. (약어: OUTF) |
INVOLUME |
입력 데이터셋이 속한 볼륨의 일련 번호를 지정한다. 입력 데이터셋이 카탈로그에 없는 경우에만 유효하다. (약어: INV) |
OUTVOLUME |
출력 데이터셋이 속한 볼륨의 일련 번호를 지정한다. 출력 데이터셋이 카탈로그에 없는 경우에만 유효하다. (약어: OUTV) |
MOVE |
데이터셋이나 PDS 멤버를 이동한다. OpenFrame에서는 문법 오류만 검사한다. (약어: MO) |
NOREPLACE |
출력 데이터셋이나 PDS 멤버가 이미 존재하면 에러를 발생시킨다. (약어: NOR) |
REPLACE |
출력 데이터셋이나 PDS 멤버가 이미 존재하면 덮어쓰기를 수행한다. (약어: REP, R) |
NOALIAS |
멤버의 본명이 지정된 경우, 별명은 복사하지 않는다. OpenFrame에서는 문법 오류만 검사한다. (약어: NOA) |
ALIAS |
멤버의 본명이 지정된 경우, 별명도 복사한다. OpenFrame에서는 문법 오류만 검사한다. (약어: A) |
NOINSFIELD |
입력 데이터셋의 행 번호가 존재하지 않는다. OpenFrame에서는 문법 오류만 검사한다. (약어: NOI) |
INSFIELD |
입력 데이터셋의 행 번호 위치와 길이를 지정한다. OpenFrame에서는 문법 오류만 검사한다. (약어: I) |
NOOUTSFIELD |
출력 데이터셋의 행 번호가 존재하지 않는다. OpenFrame에서는 문법 오류만 검사한다. (약어: NOO) |
OUTSFIELD |
출력 데이터셋의 행 번호 위치와 길이를 지정한다. OpenFrame에서는 문법 오류만 검사한다. (약어: O) |
NOTRUNCATE |
입력 데이터셋의 레코드 길이가 출력 데이터셋의 레코드 길이보다 크면 에러를 발생시킨다. OpenFrame에서는 문법 오류만 검사한다. (약어: NOT) |
TRUNCATE |
출력 데이터셋의 레코드 길이에 맞게 레코드 뒷부분을 제거한다. OpenFrame에서는 문법 오류만 검사한다. (약어: TR) |
예제
다음은 CPYFILE 문 사용 예제이다.
CPYFILE 'USER01.SEQ.IFILE' 'USER01.SEQ.OFILE' REPLACE
16. CPYTAP 문
테잎 볼륨 간 복제를 한다.
사용법

| 항목 | 설명 |
|---|---|
ivolume |
입력 테잎 볼륨의 일련 번호를 지정한다. |
ovolume |
출력 테잎 볼륨의 일련 번호를 지정한다. |
iunit |
입력 테잎 장치의 장치명 또는 모델명을 지정한다. OpenFrame에서는 문법 오류만 검사한다. |
ounit |
출력 테잎 장치의 장치명 또는 모델명을 지정한다. OpenFrame에서는 문법 오류만 검사한다. |
den |
출력 테잎 볼륨의 기록 밀도를 지정한다. OpenFrame에서는 문법 오류만 검사한다. |
오퍼랜드
다음은 앞에서 언급한 오퍼랜드에 대한 설명이다.
| 오퍼랜드 | 설명 |
|---|---|
REP |
입력 테잎 볼륨의 파일들을 출력 테잎 볼륨의 선두에 덮어쓴다. |
ADD |
입력 테잎 볼륨의 파일들을 출력 테잎 볼륨의 끝에 추가한다. |
IVOLUME |
입력 테잎 볼륨의 일련 번호를 지정한다. |
INL |
입력 테잎 볼륨이 라벨 없는 형식이다. OpenFrame에서는 문법 오류만 검사한다. |
OVOLUME |
출력 테잎 볼륨의 일련 번호를 지정한다. |
ONL |
출력 테잎 볼륨이 라벨 없는 형식이다. OpenFrame에서는 문법 오류만 검사한다. |
IUNIT |
입력 테잎 장치의 장치명 또는 모델명을 지정한다. OpenFrame에서는 문법 오류만 검사한다. |
OUNIT |
출력 테잎 장치의 장치명 또는 모델명을 지정한다. OpenFrame에서는 문법 오류만 검사한다. |
DEN |
출력 테잎 볼륨의 기록 밀도를 지정한다. OpenFrame에서는 문법 오류만 검사한다. |
COMPRESS |
출력 테잎 볼륨을 압축한다. OpenFrame에서는 문법 오류만 검사한다. |
BYPASS |
출력 테잎 볼륨의 선두 파일의 만료 날짜를 체크하지 않는다. OpenFrame에서는 문법 오류만 검사한다. |
예제
다음은 CPYTAP 문 사용 예제이다.
CPYTAP REP IVOLUME(VOL1) OVOLUME(VOL2) IUNIT(UNIT1) OUNIT(UNIT2)
17. CRTFILE 문
데이터셋을 생성하거나 카탈로그에 등록한다.
사용법






| 항목 | 설명 |
|---|---|
volume |
데이터셋이 있는 볼륨의 일련번호를 지정한다. |
quantity |
데이터셋 생성할 때 최초에 할당할 공간의 양을 지정한다. |
increment |
데이터셋의 작성 중에 스페이스가 부족해서 추가를 해야 하는 경우 한 번에 추가할 값을 지정한다. |
rlength |
최대 레코드 길이를 지정한다. |
blength |
블록 길이를 지정한다. |
like |
지정된 데이터셋의 속성에 따라 파일을 생성한다. OpenFrame에서는 문법 오류만 검사한다. |
partitioned |
구분 데이터셋의 디렉터리 블록 수를 지정한다. |
gem |
GEM 파일을 작성하도록 지정한다. OpenFrame에서는 문법 오류만 검사한다. |
오퍼랜드
다음은 앞에서 언급한 오퍼랜드에 대한 설명이다.
| 오퍼랜드 | 설명 |
|---|---|
VOLUME |
데이터셋이 있는 볼륨의 일련번호를 지정한다. (약어: VOL, V) |
SPACE |
신규 데이터셋의 공간 할당량을 지정한다. (약어: SPA, SP) |
RLENGTH |
최대 레코드 길이를 지정한다. (약어: RL, R) |
BLENGTH |
블록 길이를 지정한다. (약어: BLE) |
LIKE |
지정된 데이터셋의 속성에 따라 파일을 생성한다. OpenFrame에서는 문법 오류만 검사한다. (약어: L) |
CATALOG |
데이터셋을 카탈로그에 등록한다. (약어: CAT, CA) |
SEQUENTIAL |
순서 데이터셋을 작성하도록 지정한다. (약어: SEQ, SE) |
PARTITIONED |
구분 데이터셋을 작성하도록 지정한다. (약어: P) |
GEM |
GEM 파일을 작성하도록 지정한다. OpenFrame에서는 문법 오류만 검사한다. (약어: G) |
DFORMAT |
구분 데이터셋의 디렉터리 형식을 지정한다. OpenFrame에서는 문법 오류만 검사한다. (약어: D) |
BLOCKS |
스페이스 할당량의 초기값 및 추가값의 단위가 블록인 것을 의미한다. (약어: BLO) |
TRACKS |
스페이스 할당량의 초기값 및 추가값의 단위가 트랙인 것을 의미한다. (약어: TR) |
CYLINDERS |
스페이스 할당량의 초기값 및 추가값의 단위가 실린더인 것을 의미한다. (약어: CY) |
FORMAT |
레코드의 형식을 지정한다. (약어: F)
|
CONTROL |
제어 문자를 지정한다. OpenFrame에서는 문법 오류만 검사한다. (약어: CO) |
예제
다음은 CRTFILE 문 사용 예제이다.
CRTFILE 'USER001.SEQ.FILE' VOL(VOL01) CA
18. CRTJOBS 문
특정 이벤트 발생과 연동해 작업 시작을 예약한다.
사용법





| 항목 | 설명 |
|---|---|
jobname |
시작할 작업의 이름을 지정한다. |
dsname |
시작할 작업이 저장되어 있는 PDS 명을 지정한다. |
time |
지정된 시각에 작업을 시작한다. HH.MM 형식으로 기술한다. |
date |
지정된 날짜에 작업을 시작한다. OpenFrame에서는 문법 오류만 검사한다. |
week |
지정된 요일에 작업을 시작한다. OpenFrame에서는 문법 오류만 검사한다. |
message |
지정된 메시지를 출력하는 경우 작업을 시작한다. OpenFrame에서는 문법 오류만 검사한다. |
system |
지정된 시스템 이벤트가 발생하는 경우 작업을 시작한다. OpenFrame에서는 문법 오류만 검사한다. |
endjobname |
지정된 작업을 종료하는 경우 작업을 시작한다. OpenFrame에서는 문법 오류만 검사한다. |
msgid |
지정된 식별번호를 갖는 메시지를 출력하는 경우 작업을 시작한다. OpenFrame에서는 문법 오류만 검사한다. |
waitdsname |
지정된 데이터셋을 생성하는 경우 작업을 시작한다. OpenFrame에서는 문법 오류만 검사한다. |
오퍼랜드
다음은 앞에서 언급한 오퍼랜드에 대한 설명이다.
| 오퍼랜드 | 설명 |
|---|---|
JOBNAME |
시작할 작업의 이름을 지정한다. (약어: JOBN) |
DSNAME |
시작할 작업이 저장되어 있는 PDS 명을 지정한다. (약어: DSN) |
TIME |
지정된 시각에 작업을 시작한다. |
DATE |
지정된 날짜에 작업을 시작한다. OpenFrame에서는 문법 오류만 검사한다. |
WEEK |
지정된 요일에 작업을 시작한다. OpenFrame에서는 문법 오류만 검사한다. |
MESSAGE |
지정된 메시지를 출력하는 경우 작업을 시작한다. OpenFrame에서는 문법 오류만 검사한다. |
SYSTEM |
지정된 시스템 이벤트가 발생하는 경우 작업을 시작한다. OpenFrame에서는 문법 오류만 검사한다. |
ENDJOBNAME |
지정된 작업을 종료하는 경우 작업을 시작한다. OpenFrame에서는 문법 오류만 검사한다. |
MSGID |
지정된 식별번호를 갖는 메시지를 출력하는 경우 작업을 시작한다. OpenFrame에서는 문법 오류만 검사한다. |
DATASET |
지정된 데이터셋을 생성하는 경우 작업을 시작한다. OpenFrame에서는 문법 오류만 검사한다. |
KEEP |
이벤트가 발생해도 예약을 유지한다. OpenFrame에서는 문법 오류만 검사한다. |
ONCE |
이벤트가 발생하면 예약을 해제한다. |
예제
다음은 CRTJOBS 문 사용 예제이다.
CRTJOBS JOBN(JOB01) DSN('SYS1.JCLLIB') TIME(18.00) ONCE
20. CVTTAP 문
테잎 볼륨의 파일을 일반 볼륨으로 복사하거나 일반 볼륨의 파일을 테잎 볼륨으로 복사한다.
사용법


| 항목 | 설명 |
|---|---|
mtdsname |
테잎 볼륨에 속한 입력 파일명을 지정한다. |
dsname |
직접 액세스 볼륨에 속한 입력 파일명을 지정한다. |
odsname |
출력 파일명을 지정한다. |
iunit |
입력 파일이 속한 테잎 볼륨의 장치명 또는 모델명을 지정한다. |
ounit |
출력 파일이 속한 테잎 볼륨의 장치명 또는 모델명을 지정한다. |
ivolume |
입력 파일이 속한 테잎 볼륨의 일련번호를 지정한다. |
ovolume |
출력 파일이 속한 테잎 볼륨의 일련번호를 지정한다. |
irecfm |
입력 파일의 레코드 형식을 지정한다. OpenFrame에서는 문법 오류만 검사한다. |
irecl |
입력 파일의 레코드 길이를 지정한다. OpenFrame에서는 문법 오류만 검사한다. |
iblksize |
입력 파일의 블록 길이를 지정한다. OpenFrame에서는 문법 오류만 검사한다. |
position |
테잎 볼륨 내 파일의 순서 번호를 지정한다. OpenFrame에서는 문법 오류만 검사한다. |
oblksize |
출력 파일의 블록 길이를 지정한다. OpenFrame에서는 문법 오류만 검사한다. |
oretpd |
출력 파일의 저장 기간을 지정한다. OpenFrame에서는 문법 오류만 검사한다. |
ddname |
DD명을 지정한다. OpenFrame에서는 문법 오류만 검사한다. |
sysprint |
메시지 출력 클래스를 지정한다. OpenFrame에서는 문법 오류만 검사한다. |
메시지를 출력할 파일을 지정한다. OpenFrame에서는 문법 오류만 검사한다. |
오퍼랜드
다음은 앞에서 언급한 오퍼랜드에 대한 설명이다.
| 오퍼랜드 | 설명 |
|---|---|
MTDSNAME |
테잎 볼륨에 속한 입력 파일명을 지정한다. |
DSNAME |
직접 액세스 볼륨에 속한 입력 파일명을 지정한다. |
ODSNAME |
출력 파일명을 지정한다. |
IUNIT |
입력 파일이 속한 테잎 볼륨의 장치명 또는 모델명을 지정한다. |
OUNIT |
출력 파일이 속한 테잎 볼륨의 장치명 또는 모델명을 지정한다. |
IVOLUME |
입력 파일이 속한 테잎 볼륨의 일련번호를 지정한다. |
INL |
입력 파일이 속한 테잎 볼륨이 레이블이 없는 형식이다. OpenFrame에서는 문법 오류만 검사한다. |
OVOLUME |
출력 파일이 속한 테잎 볼륨의 일련번호를 지정한다. |
ONL |
출력 파일이 속한 테잎 볼륨이 레이블이 없는 형식이다. OpenFrame에서는 문법 오류만 검사한다. |
IRECFM |
입력 파일의 레코드 형식을 지정한다. OpenFrame에서는 문법 오류만 검사한다. |
IRECL |
입력 파일의 레코드 길이를 지정한다. OpenFrame에서는 문법 오류만 검사한다. |
IBLKSIZE |
입력 파일의 블록 길이를 지정한다. OpenFrame에서는 문법 오류만 검사한다. |
POSITION |
테잎 볼륨 내 파일의 순서 번호를 지정한다. OpenFrame에서는 문법 오류만 검사한다. |
OBLKSIZE |
출력 파일의 블록 길이를 지정한다. OpenFrame에서는 문법 오류만 검사한다. |
ORETPD |
출력 파일의 저장 기간을 지정한다. OpenFrame에서는 문법 오류만 검사한다. |
ADD |
출력 파일이 테잎 볼륨에 속한 경우 이미 테잎 볼륨에 존재하는 파일의 뒤에 복사한다. 본 오퍼랜드를 생략할 때 테잎 볼륨의 선두에 복사한다. |
RETAIN |
처리를 종료할 때 테잎 볼륨의 자동 분리를 우회한다. OpenFrame에서는 문법 오류만 검사한다. |
DDNAME |
DD명을 지정한다. OpenFrame에서는 문법 오류만 검사한다. |
SYSPRINT |
메시지 출력 클래스를 지정한다. OpenFrame에서는 문법 오류만 검사한다. |
메시지를 출력할 파일을 지정한다. OpenFrame에서는 문법 오류만 검사한다. |
|
NOPRINT |
메시지를 출력하지 않는다. OpenFrame에서는 문법 오류만 검사한다. |
예제
다음은 CVTTAP 문 사용 예제이다.
CVTTAP MTDSNAME('A.MT') IUNIT(U1) ODSNAME('A.OUT')
21. DELETE 문
순서 데이터셋이나 구분 데이터셋의 멤버를 카탈로그에서 제거하고 삭제한다.
사용법







| 항목 | 설명 |
|---|---|
dsname |
데이터셋 이름을 기술한다. |
catalog |
제거할 항목이 등록되어 있는 카탈로그를 지정한다. |
ddname |
제거할 항목을 포함하는 볼륨의 DD 이름을 기술한다. OpenFrame에서는 문법 오류만 검사한다. |
오퍼랜드
다음은 앞에서 언급한 오퍼랜드에 대한 설명이다.
| 오퍼랜드 | 설명 |
|---|---|
CATALOG |
제거할 항목이 등록되어 있는 카탈로그를 지정한다. (약어: CAT) |
FILE |
제거할 항목을 포함하는 볼륨의 DD 이름을 지정한다. OpenFrame에서는 문법 오류만 검사한다. |
PURGE |
보존 기간이 남아있어도 삭제한다. OpenFrame에서는 문법 오류만 검사한다. (약어: PU) |
NOPURGE |
보존 기간이 남아있으면 삭제하지 않는다. OpenFrame에서는 문법 오류만 검사한다. (약어: NPRG) |
ERASE |
클러스터 제거할 때 데이터 컴포넌트를 0x00으로 채운다. OpenFrame에서는 문법 오류만 검사한다. (약어: ERAS) |
NOERASE |
클러스터 제거할 때 데이터 컴포넌트를 0x00으로 채우지 않는다. OpenFrame에서는 문법 오류만 검사한다. (약어: NERAS) |
SCRATCH |
카탈로그 해제할 때 볼륨 공간도 삭제한다. OpenFrame에서는 문법 오류만 검사한다. |
NOSCRATCH |
카탈로그 해제할 때 볼륨 공간은 삭제하지 않는다. OpenFrame에서는 문법 오류만 검사한다. (약어: NSCR) |
FORCE |
VSAM 데이터 공간에 항목이 있어도 강제로 삭제한다. OpenFrame에서는 문법 오류만 검사한다. (약어: FRC) |
NOFORCE |
VSAM 데이터 공간에 항목이 있으면 삭제하지 않는다. OpenFrame에서는 문법 오류만 검사한다. (약어: NFRC) |
WITHSECURITY |
NOSCRATCH가 지정된 경우 TRUST 안전 정보를 삭제한다. OpenFrame에서는 문법 오류만 검사한다. (약어: WSEC) |
WITHOUTSECURITY |
NOSCRATCH가 지정된 경우 TRUST 안전 정보를 삭제하지 않는다. OpenFrame에서는 문법 오류만 검사한다. (약어: WOSEC) |
PATH |
보조 인덱스 접근 경로를 삭제한다. OpenFrame에서는 문법 오류만 검사한다. |
ALTERNATEINDEX |
보조 인덱스 클러스터 및 구성 요소를 삭제한다. OpenFrame에서는 문법 오류만 검사한다. (약어: AIX) |
CLUSTER |
클러스터 및 구성 요소를 삭제한다. (약어: CL) |
PAGESPACE |
페이지 공간의 클러스터 및 구성 요소를 삭제한다. (약어: PGSPC) |
NONVSAM |
NON-VSAM인 데이터셋을 삭제한다. (약어: NVSAM) |
ALIAS |
ALIAS를 삭제한다. |
GENERATIONDATAGROUP |
세대 데이터 그룹을 삭제한다. (약어: GDG) |
SPACE |
VSAM 데이터 공간을 삭제한다. OpenFrame에서는 문법 오류만 검사한다. (약어: SPC) |
USERCATALOG |
사용자 카탈로그를 제거한다. (약어: UCAT) |
예제
다음은 DELETE 문 사용 예제이다.
DELETE (DS1,DS2)
22. DFNFATR 문
ASCFILE 문이나 ASCLP 문에서 사용 가능한 데이터셋 속성 목록을 정의한다. ASCFILE 문이나 ASCLP 문에서는 여기서 정의된 속성 목록을 USING 오퍼랜드를 이용해 사용할 수 있다.
사용법






| 항목 | 설명 |
|---|---|
name |
속성 리스트의 이름을 지정한다. |
blksz |
블록의 크기를 지정한다. |
rec_len |
레코드의 길이를 지정한다. |
expdt |
데이터셋의 만료일자를 지정한다. |
retpd |
데이터셋의 보존 기한을 일수로 지정한다. |
bufno |
사용하는 버퍼의 개수를 지정한다. OpenFrame에서는 문법 오류만 검사한다. |
keylen |
키의 길이를 지정한다. |
ptcode |
종이 테잎 식별명을 지정한다. OpenFrame에서는 문법 오류만 검사한다. |
오퍼랜드
다음은 앞에서 언급한 오퍼랜드에 대한 설명이다.
| 오퍼랜드 | 설명 |
|---|---|
BLKSIZE |
블록의 크기를 지정한다. |
LRECL |
레코드의 길이를 지정한다. |
EXPDT |
데이터셋의 만료 일자를 지정한다. |
RETPD |
데이터셋의 보관 기간을 지정한다. |
BUFNO |
사용하는 버퍼의 개수를 지정한다. OpenFrame에서는 문법 오류만 검사한다. |
KEYLEN |
키의 길이를 지정한다. |
PTCODE |
종이 테잎 식별명을 지정한다. OpenFrame에서는 문법 오류만 검사한다. |
DSORG |
데이터셋의 구조를 지정한다.
|
RECFM |
레코드의 형식과 특성을 지정한다.
|
BFALN |
버퍼의 경계를 맞춘다. OpenFrame에서는 문법 오류만 검사한다. |
OPTCD |
옵션 기능을 지정한다. OpenFrame에서는 문법 오류만 검사한다. |
EROPT |
데이터 에러를 검출할 때 처리 방법을 지정한다. OpenFrame에서는 문법 오류만 검사한다. |
예제
다음은 DFNFATR 문 사용 예제이다.
DFNFATR DCB1 RECFM(F),LRECL(80),DSORG(PS)
24. DLTDS 문
데이터셋을 삭제하거나 데이터셋의 멤버를 삭제한다.
사용법
| 항목 | 설명 |
|---|---|
dsname |
데이터셋의 이름을 지정한다. PDS의 멤버를 삭제하려면 괄호 안에 멤버명을 기술한다. |
예제
다음은 DLTDS 문 사용 예제이다.
DLTDS 'A.PDS(MEMBER1)'
25. DLTFILE 문
데이터셋을 삭제하거나 데이터셋의 멤버를 삭제하거나 데이터셋을 카탈로그에서 등록 해제한다.
사용법

| 항목 | 설명 |
|---|---|
dsname |
데이터셋의 이름을 지정한다. PDS의 멤버를 삭제하려면 괄호 안에 멤버명을 기술한다. |
mpassword |
GEM 파일 멤버의 암호를 지정한다. OpenFrame에서는 문법 오류만 검사한다. |
volume |
데이터셋이 속한 볼륨의 일련번호를 지정한다. |
오퍼랜드
다음은 앞에서 언급한 오퍼랜드에 대한 설명이다.
| 오퍼랜드 | 설명 |
|---|---|
NOALIAS |
지정된 멤버만 삭제한다. OpenFrame에서는 문법 오류만 검사한다. (약어: N) |
ALIAS |
지정된 멤버의 별명도 함께 삭제한다. OpenFrame에서는 문법 오류만 검사한다. (약어: A) |
CATALOG |
카탈로그 정보만 삭제한다. (약어: C) |
MPASSWORD |
GEM 파일 멤버의 암호를 지정한다. OpenFrame에서는 문법 오류만 검사한다. (약어: M) |
VOLUME |
데이터셋이 속한 볼륨의 일련번호를 지정한다. (약어: V) |
예제
다음은 DLTFILE 문 사용 예제이다.
DLTFILE 'USER001.SEQ.FILE'
27. DLTJOB 문
실행 중인 작업을 중지하고 실행 대기 중인 작업은 실행 취소한다. 또한 JOBQ에서 해당 작업을 삭제한다.
사용법



| 항목 | 설명 |
|---|---|
jobname |
지정된 작업명을 가진 작업들을 JOBQ에서 삭제한다. 애스터리스크(*)를 기술한 경우엔 작업명이 무엇이든 상관없이 JOBQ에서 삭제한다. |
jobcode |
지정된 작업 코드를 가진 작업들을 JOBQ에서 삭제한다. OpenFrame에서는 문법 오류만 검사한다. |
user |
지정된 사용자가 소유한 작업들을 JOBQ에서 삭제한다. 애스터리스크(*)를 기술한 경우엔 작업의 소유자가 누구이든 상관없이 JOBQ에서 삭제한다. |
class |
지정된 출력 클래스에 속한 작업들을 JOBQ에서 삭제한다. |
ogroup |
지정된 출력 작업 그룹에 속한 작업들을 JOBQ에서 삭제한다. OpenFrame에서는 문법 오류만 검사한다. |
jgroup |
지정된 작업 그룹에 속한 작업들을 JOBQ에서 삭제한다. OpenFrame에서는 문법 오류만 검사한다. |
오퍼랜드
다음은 앞에서 언급한 오퍼랜드에 대한 설명이다.
| 오퍼랜드 | 설명 |
|---|---|
JOBCODE |
지정된 작업 코드를 가진 작업들을 JOBQ에서 삭제한다. OpenFrame에서는 문법 오류만 검사한다. |
USER |
지정된 사용자가 소유한 작업들을 JOBQ에서 삭제한다. 애스터리스크(*)를 기술한 경우엔 작업의 소유자가 누구이든 상관없이 JOBQ에서 삭제한다. |
CLASS |
지정된 출력 클래스에 속한 작업들을 JOBQ에서 삭제한다. |
OGROUP |
지정된 출력 작업 그룹에 속한 작업들을 JOBQ에서 삭제한다. OpenFrame에서는 문법 오류만 검사한다. |
JGROUP |
지정된 작업 그룹에 속한 작업들을 JOBQ에서 삭제한다. OpenFrame에서는 문법 오류만 검사한다. |
IN |
대기 중인 작업들만 삭제 대상으로 삼는다. |
EXEC |
실행 중인 작업들만 삭제 대상으로 삼는다. |
OUT |
출력 대기 중인 작업들만 삭제 대상으로 삼는다. |
STEP |
현재 작업 단계만 삭제한다. OpenFrame에서는 문법 오류만 검사한다. |
NOSTEP |
작업 전체를 삭제한다. |
예제
다음은 DLTJOB 문 사용 예제이다.
DLTJOB JOBA USER(USER01) EXEC
28. DROP 문
현재 감시 중인 특정 이벤트를 더 이상 감시하지 않도록 한다.
사용법









| 항목 | 설명 |
|---|---|
message |
특정 메시지의 출력을 감시하고 있는 경우에 그 감시를 해제한다. 메시지의 앞부분이 지정된 문자열과 같으면 일치하는 것으로 간주한다. '%.문자열' 형식으로 기술한 경우 메시지의 중간 부분이 지정된 문자열과 같으면 일치하는 것으로 간주한다. |
readyjobname |
특정 작업이 시작하는 것을 감시하고 있는 경우에 그 감시를 해제한다. OpenFrame에서는 문법 오류만 검사한다. |
endjobname |
특정 작업이 종료하는 것을 감시하고 있는 경우에 그 감시를 해제한다. |
msgid |
특정 식별번호를 갖는 메시지의 출력을 감시하고 있는 경우에 그 감시를 해제한다. |
system |
특정 시스템 이벤트 발생을 감시하고 있는 경우에 그 감시를 해제한다. OpenFrame에서는 문법 오류만 검사한다. |
userevent |
특정 사용자 이벤트 발생을 감시하고 있는 경우에 그 감시를 해제한다. OpenFrame에서는 문법 오류만 검사한다. |
dataset |
특정 데이터셋 생성을 감시하고 있는 경우에 그 감시를 해제한다. OpenFrame에서는 문법 오류만 검사한다. |
mount |
특정 볼륨이 마운트되는 것을 감시하고 있는 경우에 그 감시를 해제한다. OpenFrame에서는 문법 오류만 검사한다. |
sysout |
특정 작업의 출력 종료를 감시하고 있는 경우에 그 감시를 해제한다. OpenFrame에서는 문법 오류만 검사한다. |
오퍼랜드
다음은 앞에서 언급한 오퍼랜드에 대한 설명이다.
| 오퍼랜드 | 설명 |
|---|---|
MESSAGE |
특정 메시지의 출력을 감시하고 있는 경우에 그 감시를 해제한다. |
READYJOBNAME |
특정 작업이 시작하는 것을 감시하고 있는 경우에 그 감시를 해제한다. OpenFrame에서는 문법 오류만 검사한다. |
ENDJOBNAME |
특정 작업이 종료하는 것을 감시하고 있는 경우에 그 감시를 해제한다. |
MSGID |
특정 식별번호를 갖는 메시지의 출력을 감시하고 있는 경우에 그 감시를 해제한다. |
SYSTEM |
특정 시스템 이벤트 발생을 감시하고 있는 경우에 그 감시를 해제한다. OpenFrame에서는 문법 오류만 검사한다. |
USEREVENT |
특정 사용자 이벤트 발생을 감시하고 있는 경우에 그 감시를 해제한다. OpenFrame에서는 문법 오류만 검사한다. |
DATASET |
특정 데이터셋 생성을 감시하고 있는 경우에 그 감시를 해제한다. OpenFrame에서는 문법 오류만 검사한다. |
MOUNT |
특정 볼륨이 마운트되는 것을 감시하고 있는 경우에 그 감시를 해제한다. OpenFrame에서는 문법 오류만 검사한다. |
SYSOUT |
특정 작업의 출력 종료를 감시하고 있는 경우에 그 감시를 해제한다. OpenFrame에서는 문법 오류만 검사한다. |
예제
다음은 DROP 문 사용 예제이다.
DROP ENDJOBNAME(JOBA JOBB)
29. DSN 문
새로운 DSN(DB2 Command Processor) 세션을 시작한다.
|
DSN 문에 대한 자세한 내용은 OpenFrame Batch "유틸리티 참조 안내서"의 "IKJEFT01"에 명령어 설정 설명을 참고한다. |
30. EVENT 문
특정 이벤트의 감시를 시작한다. 이벤트 발생 이력은 내부적으로 저장되며, STACK 오퍼랜드 지정 시 이벤트 발생 이력을 쌓아둘 수도 있다. 이후 동일한 이벤트에 대한 WAIT 문을 수행하면 해당 이벤트가 발생할 때까지 대기한다.
사용법










| 항목 | 설명 |
|---|---|
message |
특정 메시지의 출력을 감시한다. 메시지의 앞부분이 지정된 문자열과 같으면 일치하는 것으로 간주한다. '%.문자열' 형식으로 기술한 경우 메시지의 중간 부분이 지정된 문자열과 같으면 일치하는 것으로 간주한다. |
readyjobname |
특정 작업이 시작하는 것을 감시한다. OpenFrame에서는 문법 오류만 검사한다. |
endjobname |
특정 작업이 종료하는 것을 감시한다. |
msgid |
특정 식별번호를 갖는 메시지의 출력을 감시한다. |
system |
특정 시스템 이벤트 발생을 감시한다. OpenFrame에서는 문법 오류만 검사한다. |
userevent |
특정 사용자 이벤트 발생을 감시한다. OpenFrame에서는 문법 오류만 검사한다. |
dataset |
특정 데이터셋 생성을 감시한다. OpenFrame에서는 문법 오류만 검사한다. |
mount |
특정 볼륨이 마운트되는 것을 감시한다. OpenFrame에서는 문법 오류만 검사한다. |
sysout |
특정 작업의 출력 종료를 감시한다. OpenFrame에서는 문법 오류만 검사한다. |
오퍼랜드
다음은 앞에서 언급한 오퍼랜드에 대한 설명이다.
| 오퍼랜드 | 설명 |
|---|---|
MESSAGE |
특정 메시지의 출력을 감시한다. |
READYJOBNAME |
특정 작업이 시작하는 것을 감시한다. OpenFrame에서는 문법 오류만 검사한다. |
ENDJOBNAME |
특정 작업이 종료하는 것을 감시한다. (약어: END) |
MSGID |
특정 식별번호를 갖는 메시지의 출력을 감시한다. |
SYSTEM |
특정 시스템 이벤트 발생을 감시한다. OpenFrame에서는 문법 오류만 검사한다. |
USEREVENT |
특정 사용자 이벤트 발생을 감시한다. OpenFrame에서는 문법 오류만 검사한다. |
DATASET |
특정 데이터셋 생성을 감시한다. OpenFrame에서는 문법 오류만 검사한다. |
MOUNT |
특정 볼륨이 마운트되는 것을 감시한다. OpenFrame에서는 문법 오류만 검사한다. |
SYSOUT |
특정 작업의 출력 종료를 감시한다. OpenFrame에서는 문법 오류만 검사한다. |
STACK |
이벤트가 발생하는 경우 이벤트 발생 이력을 어떻게 처리할지 지정한다.
|
예제
다음은 EVENT 문 사용 예제이다.
EVENT ENDJOBNAME(JOBA JOBB) STACK(YES)
31. EXCCL 문
Command Procedure를 호출한다.
사용법





| 항목 | 설명 |
|---|---|
member |
Command Procedure가 저장되어 있는 멤버명을 지정한다. |
pdsname |
Command Procedure가 저장되어 있는 PDS명을 지정한다. |
param |
Command Procedure 내에 PROC 문으로 정의되어 있는 기호 파라미터에 넣을 문자열을 지정한다. |
jobname |
Command Procedure를 배치 환경에서 실행할 경우의 작업명을 지정한다. OpenFrame에서는 문법 오류만 검사한다. |
account |
Command Procedure를 배치 환경에서 실행할 경우의 계정명을 지정한다. OpenFrame에서는 문법 오류만 검사한다. |
region |
Command Procedure를 배치 환경에서 실행할 경우의 메모리 사용량을 지정한다. OpenFrame에서는 문법 오류만 검사한다. |
time |
Command Procedure를 배치 환경에서 실행할 경우의 작업을 종료하는 시간을 지정한다. OpenFrame에서는 문법 오류만 검사한다. |
spoolprty |
Command Procedure를 배치 환경에서 실행할 경우의 작업 출력 우선순위를 지정한다. OpenFrame에서는 문법 오류만 검사한다. |
execprty |
Command Procedure를 배치 환경에서 실행할 경우의 작업 실행 우선순위를 지정한다. OpenFrame에서는 문법 오류만 검사한다. |
jobgroup |
Command Procedure를 배치 환경에서 실행할 경우의 작업 그룹명을 지정한다. OpenFrame에서는 문법 오류만 검사한다. |
date |
Command Procedure를 배치 환경에서 실행할 경우의 응용 프로그램 프린터 출력 리스트 날짜를 지정한다. OpenFrame에서는 문법 오류만 검사한다. |
ogroup |
출력 작업 그룹명을 지정한다. OpenFrame에서는 문법 오류만 검사한다. |
msgclass |
Command Procedure를 배치 환경에서 실행할 경우의 출력 클래스를 지정한다. OpenFrame에서는 문법 오류만 검사한다. |
오퍼랜드
다음은 앞에서 언급한 오퍼랜드에 대한 설명이다.
| 오퍼랜드 | 설명 |
|---|---|
FILE |
Command Procedure가 저장되어 있는 PDS명을 지정한다. (약어: F) |
PARAM |
Command Procedure 내에 PROC 문으로 정의되어 있는 기호 파라미터에 넣을 문자열을 지정한다. (약어: P) |
JOBNAME |
Command Procedure를 배치 환경에서 실행할 경우의 작업명을 지정한다. OpenFrame에서는 문법 오류만 검사한다. |
ACCOUNT |
Command Procedure를 배치 환경에서 실행할 경우의 계정명을 지정한다. OpenFrame에서는 문법 오류만 검사한다. |
REGION |
Command Procedure를 배치 환경에서 실행할 경우의 메모리 사용량을 지정한다. OpenFrame에서는 문법 오류만 검사한다. |
TIME |
Command Procedure를 배치 환경에서 실행할 경우의 작업을 종료하는 경우간을 지정한다. OpenFrame에서는 문법 오류만 검사한다. |
SPOOLPRTY |
Command Procedure를 배치 환경에서 실행할 경우의 작업 출력 우선순위를 지정한다. OpenFrame에서는 문법 오류만 검사한다. |
EXECPRTY |
Command Procedure를 배치 환경에서 실행할 경우의 작업 실행 우선순위를 지정한다. OpenFrame에서는 문법 오류만 검사한다. |
JOBGROUP |
Command Procedure를 배치 환경에서 실행할 경우의 작업 그룹명을 지정한다. OpenFrame에서는 문법 오류만 검사한다. |
DATE |
Command Procedure를 배치 환경에서 실행할 경우의 응용 프로그램 프린터 출력 리스트 날짜를 지정한다. OpenFrame에서는 문법 오류만 검사한다. |
OGROUP |
출력 작업 그룹명을 지정한다. OpenFrame에서는 문법 오류만 검사한다. |
CAPS |
파라미터 목록을 대문자로 변환한다. OpenFrame에서는 문법 오류만 검사한다. |
ASIS |
파라미터 목록을 대문자로 변환하지 않는다. OpenFrame에서는 문법 오류만 검사한다. |
DIRECT |
Command Procedure를 직접 실행한다. OpenFrame에서는 문법 오류만 검사한다. |
INDIRECT |
Command Procedure를 배치 환경에서 실행한다. OpenFrame에서는 문법 오류만 검사한다. (약어: IND) |
MSGCLASS |
Command Procedure를 배치 환경에서 실행할 경우의 출력 클래스를 지정한다. OpenFrame에서는 문법 오류만 검사한다. |
NOMSGCLASS |
Command Procedure를 배치 환경에서 실행할 경우의 출력 클래스를 지정하지 않는다. OpenFrame에서는 문법 오류만 검사한다. |
SLANG |
Command Procedure를 배치 환경에서 실행할 경우의 출력 메시지 언어를 지정한다. OpenFrame에서는 문법 오류만 검사한다. |
예제
다음은 EXCCL 문 사용 예제이다.
EXCCL EX1 FILE('SYS1.PROCLIB') PARAM('''ABC''')
32. EXCEFI 문
PSAM 맵을 통해 화면 처리를 한다. 화면의 입력 필드에서 입력값을 받을 수 있고 받은 값은 CLIST에서 처리된다.
사용법
EXCEFI에서는 다음의 메인 파라미터를 통해 화면 처리를 실시한다.

| 항목 | 설명 |
|---|---|
INIT |
화면 처리를 위한 환경 및 변수들을 초기화한다. |
OPEN |
초기화된 값들을 가지고 화면 처리를 시작한다. |
PUT |
CLIST에서 선언된 값들을 지정된 변수에 할당한다. |
WRITE |
지정된 화면과 변수들을 출력 필드에 출력한다. |
READ |
화면을 통해 입력 필드에 입력된 값들을 읽어들인다. |
GET |
입력 받은 값들을 CLIST의 지정된 변수에 할당한다. |
CLOSE |
화면 처리를 종료한다. |
END |
화면 처리를 위한 환경 및 변수들을 정리한다. |
다음은 각 파라미터의 사용법과 오퍼랜드에 대한 설명이다.
-
INIT

항목 설명 var_name
해당 항목에 대한 변수명을 지정한다.
다음은 오퍼랜드에 대한 설명이다.
오퍼랜드 설명 MESSAGE
메시지 리턴 값을 저장한다. OpenFrame에서는 문법 오류만 검사한다. (약어 : M)
DIRECT|NODIRECT
-
DIRECT : 화면 출력 기능이 호출된 시점에 화면을 출력한다.
-
NODIRECT : 화면 입력 기능이 호출되는 시점까지 화면을 출력하지 않는다.
생략 가능하며 OpenFrame에서는 문법 오류만 검사한다.
MENU
출력할 맵 파일이 할당된 DD명을 지정한다. 생략 가능하다.
-
-
OPEN

항목 설명 ddname
출력할 맵 파일이 할당된 DD명을 지정한다.
var_name
해당 항목에 대한 변수명을 지정한다.
다음은 오퍼랜드에 대한 설명이다.
오퍼랜드 설명 MESSAGE
메시지 리턴 값을 저장한다. OpenFrame에서는 문법 오류만 검사한다. (약어 : M)
-
PUT


항목 설명 ddname
출력할 맵 파일이 할당된 DD명을 지정한다.
menu_name
출력할 맵 파일 이름을 지정한다.
var_name
해당 항목에 대한 변수명을 지정한다.
다음은 오퍼랜드에 대한 설명이다.
오퍼랜드 설명 MESSAGE
메시지 리턴 값을 저장한다. OpenFrame에서는 문법 오류만 검사한다. (약어 : M)
VAR
화면의 입출력 필드에 대한 변수명을 지정한다.
-
WRITE

항목 설명 ddname
출력할 맵 파일이 할당된 DD명을 지정한다.
menu_name
출력할 맵 파일 이름을 지정한다.
var_name
해당 항목에 대한 변수명을 지정한다.
다음은 오퍼랜드에 대한 설명이다.
오퍼랜드 설명 MESSAGE
메시지 리턴 값을 저장한다. OpenFrame에서는 문법 오류만 검사한다. (약어 : M)
-
READ

항목 설명 ddname
출력할 맵 파일이 할당된 DD명을 지정한다.
menu_name
출력할 맵 파일 이름을 지정한다.
var_name
해당 항목에 대한 변수명을 지정한다.
다음은 오퍼랜드에 대한 설명이다.
오퍼랜드 설명 AID
function key 입력을 처리한다.
MESSAGE
메시지 리턴 값을 저장한다. OpenFrame에서는 문법 오류만 검사한다. (약어 : M)
-
GET


항목 설명 ddname
출력할 맵 파일이 할당된 DD명을 지정한다.
menu_name
출력할 맵 파일 이름을 지정한다.
var_name
해당 항목에 대한 변수명을 지정한다.
다음은 오퍼랜드에 대한 설명이다.
오퍼랜드 설명 MESSAGE
메시지 리턴 값을 저장한다. OpenFrame에서는 문법 오류만 검사한다. (약어 : M)
VAR
화면에서 입력 받은 값을 반환할 변수명을 지정한다.
-
CLOSE

항목 설명 ddname
종료할 맵 파일이 할당된 DD명을 지정한다.
var_name
해당 항목에 대한 변수명을 지정한다.
다음은 오퍼랜드에 대한 설명이다.
오퍼랜드 설명 MESSAGE
메시지 리턴 값을 저장한다. OpenFrame에서는 문법 오류만 검사한다. (약어 : M)
-
END

항목 설명 var_name
해당 항목에 대한 변수명을 지정한다.
다음은 오퍼랜드에 대한 설명이다.
오퍼랜드 설명 MESSAGE
메시지 리턴 값을 저장한다. OpenFrame에서는 문법 오류만 검사한다. (약어 : M)
예제
다음은 EXCEFI 문 사용 예제이다.
EXCEFI INIT MESSAGE(INM) DIRECT MENU(FGIFMT) EXCEFI OPEN FGIFMT MESSAGE(INM) EXCEFI PUT FGIFMT TMENU M(INM) VAR(NINUSI,KENSYU) EXCEFI WRITE FGIFMT TMENU M(INM) EXCEFI READ FGIFMT TMENU AID M(INM) EXCEFI GET FGIFMT TMENU M(INM) VAR(NINUSI,KENSYU) EXCEFI CLOSE FGIFMT MESSAGE(INM) EXCEFI END MESSAGE(INM)
33. EXCEFW 문
PSAM 맵을 통해 화면 처리를 한다. 입력값은 PSAM 맵에 반환되어 해당 값에 따라 다른 맵을 출력하거나, CLIST를 실행하거나, 코볼 등의 프로그램을 실행한다.
사용법






| 항목 | 설명 |
|---|---|
dsname |
화면에 표시할 PSAM 맵의 이름을 지정한다. |
param |
OpenFrame에서는 문법 오류만 검사한다. |
ped_name |
OpenFrame에서는 문법 오류만 검사한다. |
apg_name |
OpenFrame에서는 문법 오류만 검사한다. |
dir_id |
OpenFrame에서는 문법 오류만 검사한다. |
오퍼랜드
다음은 앞에서 언급한 오퍼랜드에 대한 설명이다.
| 오퍼랜드 | 설명 |
|---|---|
PED |
OpenFrame에서는 문법 오류만 검사한다. |
APG |
OpenFrame에서는 문법 오류만 검사한다. |
DID |
OpenFrame에서는 문법 오류만 검사한다. |
RDBII |
OpenFrame에서는 문법 오류만 검사한다. |
SEARCH |
OpenFrame에서는 문법 오류만 검사한다. |
DIRECT |
OpenFrame에서는 문법 오류만 검사한다. |
NODIRECT |
OpenFrame에서는 문법 오류만 검사한다. |
LOG |
OpenFrame에서는 문법 오류만 검사한다. |
APLTEST |
OpenFrame에서는 문법 오류만 검사한다. |
COMP |
OpenFrame에서는 문법 오류만 검사한다. |
NOCOMP |
OpenFrame에서는 문법 오류만 검사한다. |
DISP |
OpenFrame에서는 문법 오류만 검사한다. |
NODISP |
OpenFrame에서는 문법 오류만 검사한다. |
TRACE |
OpenFrame에서는 문법 오류만 검사한다. |
NOTRACE |
OpenFrame에서는 문법 오류만 검사한다. |
예제
다음은 EXCEFW 문 사용 예제이다.
EXCEFW GCMENU
34. EXCPGM 문
응용 프로그램이나 동적 라이브러리를 실행한다. 프로그램의 종료 코드가 EXCPGM 명령의 반환 코드로 설정된다.
사용법

| 항목 | 설명 |
|---|---|
member |
외부 프로그램이 저장되어 있는 멤버명을 지정한다. |
param |
프로그램에 전달할 파라미터값을 기술한다. |
pdsname |
외부 프로그램이 저장되어 있는 PDS명을 지정한다. |
오퍼랜드
다음은 앞에서 언급한 오퍼랜드에 대한 설명이다.
| 오퍼랜드 | 설명 |
|---|---|
FILE |
외부 프로그램이 저장되어 있는 PDS명을 지정한다. (약어: F) |
CAPS |
파라미터 목록을 대문자로 변환한다. |
ASIS |
파라미터 목록을 대문자로 변환하지 않는다. |
예제
다음은 EXCPGM 문 사용 예제이다.
EXCPGM JLAASSY '12,ALL' FILE(SYS1.LINKLIB) ASIS
35. EXEC 문
Command Procedure를 호출한다.
사용법

| 항목 | 설명 |
|---|---|
dataset |
Command Procedure 데이터셋의 이름을 지정한다. |
value |
기호 파라미터에 값을 지정한다. 명령어를 실행할 때 여러 개의 값을 지정할 경우 세미콜론(')으로 전체 값을 감싸주어야 한다. |
오퍼랜드
다음은 앞에서 언급한 오퍼랜드에 대한 설명이다.
| 오퍼랜드 | 설명 |
|---|---|
NOLIST |
명령을 표시하지 않는다. OpenFrame에서는 문법 오류만 검사한다. (약어: NOL) |
LIST |
명령을 표시한다. OpenFrame에서는 문법 오류만 검사한다. (약어: L) |
NOPROMPT |
터미널 프롬프팅을 사용하지 않는다. OpenFrame에서는 문법 오류만 검사한다. (약어: NOP) |
PROMPT |
터미널 프롬프팅을 사용한다. OpenFrame에서는 문법 오류만 검사한다. (약어: P) |
예제
다음은 EXEC 문 사용 예제이다.
EXEC 'TSO1.EX1.CLIST' 'ABC'
36. FEXPORT 문
FEXPORT 문은 다음 과정들을 수행한다.
-
fexport를 실행한다. fexport는 응용 프로그램 또는 셸 스크립트이며, 다음과 같이 매개변수와 함께 실행된다.
fexport [현재 연결된 단말기의 이름] [임시 파일명] [파라미터 파일명] [순번]
임시 파일명은 다음의 형식으로 저장되며, fexport에 의해 생성된다.
FEXPORT_[현재 연결된 단말기의 이름]_[데이터셋 이름]_[현재 시각]
-
임시 파일의 내용을 데이터셋에 기록한다.
사용법





| 항목 | 설명 |
|---|---|
dsname |
데이터셋 이름을 기술한다. |
using_filename |
fexport의 세 번째 매개변수이다. 파일의 경로는 OpenFrame 환경설정에 tso 서브젝트, COMMON 섹션의 PLF_DIRECTORY 키의 VALUE 항목을 참조한다. |
section |
fexport의 네 번째 매개변수이다. |
plist_parameter |
PLIST 파라미터에는 USING으로 지정한 파일에 기술되는 파라미터를 기술하며 콤마로 구분한다. |
오퍼랜드
다음은 앞에서 언급한 오퍼랜드에 대한 설명이다.
| 오퍼랜드 | 설명 |
|---|---|
REPLACE |
기존 데이터셋을 임시 파일의 내용으로 대체한다. (약어: R) |
ADD |
임시 파일의 내용을 기존 데이터셋에 추가한다. (약어: A) |
USING |
파라미터 파일명과 순번 등을 지정한다. 오퍼랜드가 지정되어 있지 않으면 OpenFrame 환경설정에 tso 서브젝트, COMMON 섹션의 DEFAULT_FEXPORT_PLF 키의 VALUE 항목을 참조한다. (약어: U) |
PLIST |
USING을 기술하지 않은 경우에 PLIST를 통해서 파라미터를 직접 기술할 수 있다. |
OPERATE |
파라미터 파일을 변경한다. OpenFrame에서는 문법 오류만 검사한다. (약어: O) |
NOOPERATE |
파라미터 파일을 변경하지 않는다. OpenFrame에서는 문법 오류만 검사한다. (약어: N) |
예제
다음은 FEXPORT 문 사용 예제이다.
FEXPORT MY.DATA ADD USING(PARMLIST 1)
37. FETCH 문
응용 프로그램이나 시스템 유틸리티, 동적 라이브러리를 실행한다. 프로그램의 종료 코드가 FETCH 명령의 반환 코드로 설정된다. FETCH 명령은 MVS의 ISPF service를 통해 CLIST를 수행할 때만 동작하고, TSO Batch 모드에서는 동작하지 않는다.
사용법
| 항목 | 설명 |
|---|---|
member |
실행하고자 하는 응용 프로그램명이나 유틸리티, 동적 라이브러리 이름을 지정한다. |
예제
다음은 FETCH 문 사용 예제이다.
ALLOC FI(SORTIN) DA('TEST.FETCH.SDS01') SHR
ALLOC FI(SORTOUT) DA('TEST.FETCH.SDS02') NEW CATALOG
ALLOC FI(SYSIN) DA('SYS1.PARMLIB(SORTCOMP)') SHR
ALLOC FI(SYSPRINT) DA('TEST.FETCH.OUTPUT01') SHR
FETCH SORT
FREE FI(SORTOUT SORTIN SYSPRINT SYSIN)
38. FIMPORT 문
FIMPORT 문은 다음 과정들을 수행한다.
-
데이터셋의 내용을 임시 파일에 기록한다. 임시 파일명은 다음의 형식으로 저장된다.
FIMPORT_[현재 연결된 단말기의 이름]_[데이터셋 이름]_[현재 시각]
-
fimport를 실행한다. fimport는 응용 프로그램 또는 셸 스크립트이며, 다음과 같이 매개변수와 함께 실행된다.
fimport [현재 연결된 단말기의 이름] [임시 파일명] [파라미터 파일명] [순번]
사용법



| 항목 | 설명 |
|---|---|
dsname |
데이터셋 이름을 기술한다. |
using_filename |
fimport의 세 번째 매개변수이다. 파일의 경로는 OpenFrame 환경설정에 tso 서브젝트, COMMON 섹션의 PLF_DIRECTORY 키의 VALUE 항목을 참조한다. |
section |
fimport의 네 번째 매개변수이다. |
plist_parameter |
PLIST 파라미터에는 USING으로 지정한 파일에 기술되는 파라미터를 기술하며 콤마로 구분한다. |
오퍼랜드
다음은 앞에서 언급한 오퍼랜드에 대한 설명이다.
| 오퍼랜드 | 설명 |
|---|---|
USING |
파라미터 파일명과 순번 등을 지정한다. 오퍼랜드가 지정되어 있지 않으면 OpenFrame 환경설정에 tso 서브젝트, COMMON 섹션의 DEFAULT_FIMPORT_PLF 키의 VALUE 항목을 참조한다. (약어: U) |
PLIST |
USING을 기술하지 않은 경우에 PLIST를 통해서 파라미터를 직접 기술할 수 있다. |
OPERATE |
파라미터 파일을 변경한다. OpenFrame에서는 문법 오류만 검사한다. (약어: O) |
NOOPERATE |
파라미터 파일을 변경하지 않는다. OpenFrame에서는 문법 오류만 검사한다. (약어: N) |
예제
다음은 FIMPORT 문 사용 예제이다.
FIMPORT MY.DATA USING(PARMLIST 1)
39. FREE 문
ALLOCATE 문, ATTRIB 문 등에 의해 할당된 데이터셋을 해제한다.
사용법


| 항목 | 설명 |
|---|---|
dsname |
데이터셋 이름을 기술한다. |
ddname |
DD 이름을 기술한다. |
listname |
ATTRIB 명령에 정의된 속성 목록 이름을 기술한다. |
destination |
SYSOUT 데이터셋의 출력처를 지정한다. OpenFrame에서는 문법 오류만 검사한다. |
sysout_class |
SYSOUT 데이터셋의 출력 클래스를 지정한다. OpenFrame에서는 문법 오류만 검사한다. |
오퍼랜드
다음은 앞에서 언급한 오퍼랜드에 대한 설명이다.
| 오퍼랜드 | 설명 |
|---|---|
DSNAME |
지정된 이름을 갖는 데이터셋을 해제한다. (약어: DS) |
DATASET |
지정된 이름을 갖는 데이터셋을 해제한다. (약어: DA) |
DDNAME |
지정된 DD 이름을 갖는 데이터셋을 해제한다. (약어: DDN, DD) |
FILE |
지정된 DD 이름을 갖는 데이터셋을 해제한다.(약어: FI, F) |
ATTRLIST |
ATTRIB 명령에 정의된 속성 목록을 삭제한다. (약어: ATTR, AT, A) |
ALL |
할당된 데이터셋을 모두 해제한다. (약어: AL) |
HOLD |
SYSOUT 데이터셋을 출력 보류 상태로 만든다. OpenFrame에서는 문법 오류만 검사한다. (약어: H) |
NOHOLD |
SYSOUT 데이터셋을 출력 보류 상태로 만들지 않는다. OpenFrame에서는 문법 오류만 검사한다. (약어: N) |
DEST |
SYSOUT 데이터셋의 출력처를 지정한다. OpenFrame에서는 문법 오류만 검사한다. (약어: DES) |
SYSOUT |
SYSOUT 데이터셋의 출력 클래스를 지정한다. OpenFrame에서는 문법 오류만 검사한다. (약어: S) |
KEEP |
데이터셋을 보존한다. (약어: K) |
DELETE |
데이터셋을 삭제한다. (약어: DEL) |
CATALOG |
데이터셋을 카탈로그한다. 카탈로그를 참조하여 데이터셋을 할당한 경우 재카탈로그한다. (약어: C) |
UNCATALOG |
데이터셋을 보존하지만 카탈로그로부터 카탈로그 정보를 삭제한다. (약어: U) |
예제
다음은 FREE 문 사용 예제이다.
FREE DA(FILE1.ASM)
40. FREFILE 문
ASCFILE 문, DFNFATR 문 등에 의해 할당된 데이터셋을 해제한다.
사용법


| 항목 | 설명 |
|---|---|
ddname |
DD 이름을 기술한다. |
dsname |
데이터셋 이름을 기술한다. |
listname |
DFNFATR 명령에 정의된 속성 목록 이름을 기술한다. |
sysout_class |
SYSOUT 데이터셋의 출력 클래스를 지정한다. OpenFrame에서는 문법 오류만 검사한다. |
오퍼랜드
다음은 앞에서 언급한 오퍼랜드에 대한 설명이다.
| 오퍼랜드 | 설명 |
|---|---|
ALL |
할당된 데이터셋을 모두 해제한다. |
DDNAME |
지정된 DD 이름을 갖는 데이터셋을 해제한다. (약어: DDN) |
DSNAME |
지정된 이름을 갖는 데이터셋을 해제한다. |
ATTRLIST |
DFNFATR 명령에 정의된 속성 목록을 해제한다. |
SYSOUT |
SYSOUT 데이터셋의 출력 클래스를 지정한다. OpenFrame에서는 문법 오류만 검사한다. |
KEEP |
데이터셋을 보존한다. |
DELETE |
데이터셋을 삭제한다. |
CATALOG |
데이터셋을 카탈로그한다. 카탈로그를 참조하여 데이터셋을 할당한 경우 재카탈로그한다. |
UNCATALOG |
데이터셋을 보존하지만 카탈로그로부터 카탈로그 정보를 삭제한다. |
예제
다음은 FREFILE 문 사용 예제이다.
FREFILE DDNAME(INDD)
41. INANET 문
지정한 워크스테이션을 비활성화시킨다.
사용법

| 항목 | 설명 |
|---|---|
id |
비활성화시킬 워크스테이션의 이름이다. |
오퍼랜드
다음은 앞에서 언급한 오퍼랜드에 대한 설명이다.
| 오퍼랜드 | 설명 |
|---|---|
ID |
비활성화시킬 워크스테이션을 지정한다. |
OPT |
비활성화하는 방법을 지정한다. OpenFrame에서는 F에 대한 동작만 지원하며 나머지는 문법 오류만 검사한다. |
예제
다음은 INANET 문 사용 예제이다.
INANET ID(OIVPWS01) INANET ID(OIVPWS01) OPT(F)
43. INTTAP 문
테잎 볼륨을 초기화한다.
사용법

| 항목 | 설명 |
|---|---|
volume |
초기화할 볼륨의 일련번호를 지정한다. |
unit |
테잎의 장치명을 지정한다. OpenFrame에서는 문법 오류만 검사한다. |
den |
초기화할 볼륨의 기록 밀도를 지정한다. OpenFrame에서는 문법 오류만 검사한다. |
owner |
볼륨 레이블에 소유자 이름을 설정한다. OpenFrame에서는 문법 오류만 검사한다. |
오퍼랜드
다음은 앞에서 언급한 오퍼랜드에 대한 설명이다.
| 오퍼랜드 | 설명 |
|---|---|
VOLUME |
초기화할 볼륨의 일련번호를 지정한다. |
NL |
레이블이 없는 형식으로 초기화한다. OpenFrame에서는 문법 오류만 검사한다. |
UNIT |
테잎의 장치명을 지정한다. OpenFrame에서는 문법 오류만 검사한다. |
DEN |
초기화할 볼륨의 기록 밀도를 지정한다. OpenFrame에서는 문법 오류만 검사한다. |
COMPRESS |
압축 매체로 초기화한다. OpenFrame에서는 문법 오류만 검사한다. |
AUTOMNT |
테잎 볼륨을 초기화한 후 테잎을 마운트 상태로 둔다. OpenFrame에서는 문법 오류만 검사한다. |
OWNER |
볼륨 레이블에 소유자 이름을 설정한다. OpenFrame에서는 문법 오류만 검사한다. |
ERASE |
초기화하기 전에 볼륨 전체를 지운다. OpenFrame에서는 문법 오류만 검사한다. |
예제
다음은 INTTAP 문 사용 예제이다.
INTTAP VOLUME(VOL1)
44. LIBRARY 문
작업 라이브러리로 사용할 라이브러리 데이터셋(PDS)을 등록 또는 해제한다.
사용법

| 항목 | 설명 |
|---|---|
pdsname |
PDS 이름을 기술한다. |
오퍼랜드
다음은 앞에서 언급한 오퍼랜드에 대한 설명이다.
| 오퍼랜드 | 설명 |
|---|---|
ADD |
작업 라이브러리에 데이터셋을 추가한다. ADD와 DELETE 오퍼랜드가 생략된 경우엔 이미 등록된 데이터셋을 모두 해제한 후 작업 라이브러리에 데이터셋을 등록한다. (약어: A) |
TOP |
작업 라이브러리의 처음에 데이터셋을 추가한다. TOP과 BOTTOM을 생략한 경우엔 TOP이 지정된 것처럼 동작한다. (약어: T) |
BOTTOM |
작업 라이브러리의 끝에 데이터셋을 추가한다. (약어: B) |
DELETE |
작업 라이브러리에서 데이터셋을 해제한다. (약어: D) |
LIST |
현재 유효한 작업 라이브러리 데이터셋을 표시한다. |
PUSH |
작업 라이브러리의 처음에 데이터셋을 추가한다. (약어: PU) |
POP |
작업 라이브러리에서 데이터셋을 해제한다. (약어: PO) |
예제
다음은 LIBRARY 문 사용 예제이다.
LIBRARY (LIB1.LOAD,LIB2.LOAD)
45. LISTCAT 문
카탈로그에 정의되어 있는 항목의 이름과 관련 정보를 출력한다.
사용법


| 항목 | 설명 |
|---|---|
catalog |
표시할 항목이 등록되어 있는 카탈로그를 지정한다. |
outfile |
출력 데이터셋을 지정한다. |
creation |
지정된 날짜보다 이전에 만든 항목을 표시한다. OpenFrame에서는 문법 오류만 검사한다. |
expiration |
지정된 날짜가 지난 다음에 보존 일자에 이르고 있는 항목을 표시한다. OpenFrame에서는 문법 오류만 검사한다. |
file |
볼륨을 정의한 DD 이름을 지정한다. OpenFrame에서는 문법 오류만 검사한다. |
entry |
표시할 항목의 이름을 지정한다. |
level |
표시할 항목 이름의 레벨을 지정한다. OpenFrame에서는 문법 오류만 검사한다. |
오퍼랜드
다음은 앞에서 언급한 오퍼랜드에 대한 설명이다.
| 오퍼랜드 | 설명 |
|---|---|
CATALOG |
표시할 항목이 등록되어 있는 카탈로그를 지정한다. (약어: CAT) |
OUTFILE |
출력 데이터셋을 지정한다. (약어: OFILE) |
ENTRIES |
표시할 항목의 이름을 지정한다. (약어: ENT) |
DSNAME |
표시할 항목의 이름을 지정한다. (약어: DS) |
DATASET |
표시할 항목의 이름을 지정한다. |
LEVEL |
표시할 항목 이름의 레벨을 지정한다. OpenFrame에서는 문법 오류만 검사한다. (약어: LVL) |
CREATION |
지정된 날짜보다 이전에 만든 항목을 표시한다. OpenFrame에서는 문법 오류만 검사한다. (약어: CREAT) |
EXPIRATION |
지정된 날짜가 지난 다음에 보존 일자에 이르고 있는 항목을 표시한다. OpenFrame에서는 문법 오류만 검사한다. (약어: EXPIR) |
NOTUSABLE |
사용 불가능한 항목을 표시한다. OpenFrame에서는 문법 오류만 검사한다. (약어: NUS) |
CLUSTER |
클러스터를 표시한다. (약어: CL) |
DATA |
데이터 구성 요소를 표시한다. |
INDEX |
인덱스 구성 요소를 표시한다. (약어: IX) |
ALIAS |
별명을 표시한다. OpenFrame에서는 문법 오류만 검사한다. |
SPACE |
카탈로그에 정의된 데이터 공간을 포함하는 볼륨 항목을 표시한다. OpenFrame에서는 문법 오류만 검사한다. (약어: SPC) |
NONVSAM |
NON-VSAM인 데이터셋을 표시한다. (약어: NVSAM) |
USERCATALOG |
사용자 카탈로그를 표시한다. OpenFrame에서는 문법 오류만 검사한다. (약어: UCAT) |
GENERATIONDATAGROUP |
세대 데이터 그룹을 표시한다. OpenFrame에서는 문법 오류만 검사한다. (약어: GDG) |
PAGESPACE |
페이지 스페이스를 표시한다. OpenFrame에서는 문법 오류만 검사한다. (약어: PGSPC) |
ALTERNATEINDEX |
교체 인덱스 클러스터를 표시한다. OpenFrame에서는 문법 오류만 검사한다. (약어: AIX) |
PATH |
경로를 표시한다. OpenFrame에서는 문법 오류만 검사한다. |
ALL |
모든 정보를 표시한다. |
NAME |
항목의 이름을 표시한다. |
HISTORY |
항목의 이름, 소유자 식별명, 만든 날짜, 만료 날짜를 표시한다. OpenFrame에서는 문법 오류만 검사한다. (약어: HIST) |
VOLUME |
항목의 이름, 항목의 타입, 할당된 장치 유형, 볼륨 일련번호를 표시한다. OpenFrame에서는 문법 오류만 검사한다. (약어: VOL) |
ALLOCATION |
볼륨 정보 및 할당에 대한 정보를 표시한다. OpenFrame에서는 문법 오류만 검사한다. (약어: ALLOC) |
FILE |
볼륨을 정의한 DD 이름을 지정한다. OpenFrame에서는 문법 오류만 검사한다. |
SUMMARY |
데이터셋의 이름, 유형, 날짜 등을 표시한다. (약어: SUM) |
예제
다음은 LISTCAT 문 사용 예제이다.
LISTCAT CATALOG('SYS1.MASTER.ICFCAT'),ENTRIES('SYS1.JCLLIB')
46. LOGOFF 문
TSO 세션을 종료한다.
사용법
오퍼랜드
다음은 앞에서 언급한 오퍼랜드에 대한 설명이다.
| 오퍼랜드 | 설명 |
|---|---|
DISCONNECT |
연결을 끊는다. OpenFrame에서는 문법 오류만 검사한다. (약어: D) |
HOLD |
연결을 유지한다. OpenFrame에서는 문법 오류만 검사한다. (약어: H) |
예제
다음은 LOGOFF 문 사용 예제이다.
LOGOFF
47. LPALLOC 문
SYSOUT용 데이터셋을 할당하고, 프린터 출력 정보를 설정한다.
사용법
















| 항목 | 설명 |
|---|---|
ddname |
SYSOUT 데이터셋의 DD 이름을 지정한다. |
sysout |
SYSOUT 데이터셋의 출력 클래스를 지정한다. |
attr_list |
사용할 속성 리스트의 이름을 기술한다. |
code |
용지 서식 번호를 지정한다. |
fcb |
용지 제어 이미지 식별명을 지정한다. |
copies |
복사 횟수를 지정한다. |
ucs |
문자 셋 식별명을 지정한다. |
pgm |
출력 프로그램명을 지정한다. |
overlayname |
폼 오버레이 모듈 식별명을 지정한다. |
flashcount |
폼 오버레이 패턴 복사 부수를 지정한다. |
outlim |
출력하는 논리 레코드 수의 상한값을 지정한다. OpenFrame에서는 문법 오류만 검사한다. |
dest |
SYSOUT 데이터셋의 출력처를 지정한다. OpenFrame에서는 문법 오류만 검사한다. |
modify |
복제 수정 모듈의 식별명을 지정한다. |
modtrc |
수정 데이터 인쇄 시 사용하는 테이블 참조 번호를 지정한다. |
cs |
문자 배열 테이블과 추가 문자 셋 식별명을 지정한다. |
group |
페이지 단위의 복사 횟수를 지정한다. |
오퍼랜드
다음은 앞에서 언급한 오퍼랜드에 대한 설명이다.
| 오퍼랜드 | 설명 |
|---|---|
REUSE |
지정된 데이터셋이 이미 할당된 경우 기존 할당을 해제하고 다시 할당한다. OpenFrame에서는 문법 오류만 검사한다. (약어: REU, R) |
SYSOUT |
SYSOUT 데이터셋의 출력 클래스를 지정한다. (약어: SY) |
USING |
사용할 속성 리스트의 이름을 기술한다. (약어: US) |
CODE |
용지 서식 번호를 지정한다. (약어: COD) |
FCB |
용지 제어 이미지 식별명을 지정한다. (약어: FC) |
COPIES |
복사 횟수를 지정한다. (약어: COP) |
UCS |
문자 셋 식별명을 지정한다. (약어: UC) |
PGM |
출력 프로그램명을 지정한다. (약어: P) |
OVERLAYNAME |
폼 오버레이 모듈 식별명을 지정한다. (약어: OV) |
FLASHCOUNT |
폼 오버레이 패턴 복사 부수를 지정한다. (약어: FL) |
OUTLIM |
출력하는 논리 레코드 수의 상한값을 지정한다. OpenFrame에서는 문법 오류만 검사한다. (약어: OU) |
DEST |
SYSOUT 데이터셋의 출력처를 지정한다. OpenFrame에서는 문법 오류만 검사한다. (약어: D) |
HOLD |
데이터셋 해제 시 출력 보류 큐에 등록한다. OpenFrame에서는 문법 오류만 검사한다. (약어: H) |
NOHOLD |
데이터셋 해제 시 출력 보류 큐에 등록하지 않는다. OpenFrame에서는 문법 오류만 검사한다. (약어: NOH) |
BURST |
인쇄된 출력 용지를 BTS에 넣는다. (약어: BU) |
NOBURST |
인쇄된 출력 용지를 CFS에 넣는다. (약어: NOB) |
MODIFY |
복제 수정 모듈의 식별명을 지정한다. (약어: MODI) |
MODTRC |
수정 데이터를 인쇄하는 경우 사용하는 테이블 참조 번호를 지정한다. (약어: MODT) |
CHARS |
문자 배열 테이블과 추가 문자 셋 식별명을 지정한다. (약어: CH) |
GROUPVALUE |
페이지 단위의 복사 횟수를 지정한다. (약어: G) |
LANDSCAPE |
SYSOUT 데이터셋을 OPR용 속성의 가로 모드에서 인쇄한다. (약어: LA)
|
LINEPRINTER |
SYSOUT 데이터셋을 OPR용 속성의 LP 모드에서 인쇄한다. (약어: LI)
|
PORTRAIT |
SYSOUT 데이터셋을 OPR용 속성의 세로 모드에서 인쇄한다. (약어: PO)
|
LZOOM |
SYSOUT 데이터셋을 OPR용 속성의 가로 모드에서 80% 축소해서 인쇄한다. (약어: LZ)
|
PZOOM |
SYSOUT 데이터셋을 OPR용 속성의 세로 모드에서 80% 축소해서 인쇄한다. (약어: PZ)
|
ORIGINAL |
프로그램에 설계된 출력 장표 크기를 지정한다. (약어: OR)
|
LAYOUT |
용지 한 페이지에 배치되는 출력 장표 페이지 수를 지정한다. (약어: LAY)
|
BIND |
용지 제본 위치를 지정한다. (약어: BI)
|
SIDE |
인쇄할 면을 지정한다. (약어: SI)
|
PRTAREA |
인쇄 금지 영역의 처리를 지정한다. (약어: PR)
|
HOPPER |
용지 공급구 위치를 지정한다. (약어: HOP)
|
STACKER |
용지 배출구 위치를 지정한다. (약어: ST)
|
PRTYPE |
출력 데이터 레코드 형식을 지정한다. (약어: PRTY)
|
예제
다음은 LPALLOC 문 사용 예제이다.
LPALLOC LIST1 USING(ATTRLIST)
48. LSTFILE 문
데이터셋의 내용 또는 속성을 출력한다.
사용법








| 항목 | 설명 |
|---|---|
dsname |
지정된 데이터셋의 내용 또는 속성을 출력한다. PDS의 멤버를 지정하려면 PDS 이름 뒤에 멤버명을 괄호와 함께 기술한다. |
level |
GEM 파일의 멤버 수준을 지정한다. OpenFrame에서는 문법 오류만 검사한다. |
pos |
절대 행 번호가 지정된 경우, 출력할 데이터셋의 행 번호 위치를 지정한다. OpenFrame에서는 문법 오류만 검사한다. |
len |
절대 행 번호가 지정된 경우, 출력할 데이터셋의 행 번호 길이를 지정한다. OpenFrame에서는 문법 오류만 검사한다. |
lcount |
한 페이지에 출력되는 행 수를 지정한다. OpenFrame에서는 문법 오류만 검사한다. |
ccount |
한 행에 출력되는 자릿수를 지정한다. OpenFrame에서는 문법 오류만 검사한다. |
mpassword |
GEM 파일의 멤버 암호를 지정한다. OpenFrame에서는 문법 오류만 검사한다. |
fpassword |
데이터셋의 암호를 지정한다. OpenFrame에서는 문법 오류만 검사한다. |
volume |
데이터셋이 위치한 볼륨의 일련번호를 지정한다. OpenFrame에서는 문법 오류만 검사한다. |
sysprint |
데이터셋의 내용 또는 속성을 지정된 출력 클래스로 스풀에 출력한다. |
pddname |
데이터셋의 내용 또는 속성을 지정된 DD명을 가진 데이터셋에 출력한다. OpenFrame에서는 문법 오류만 검사한다. |
title |
출력 목록의 각 페이지 상단에 제목을 출력한다. OpenFrame에서는 문법 오류만 검사한다. |
ntitle |
출력 목록의 각 페이지 상단에 일본어 제목을 출력한다. OpenFrame에서는 문법 오류만 검사한다. |
r_start |
지정된 상대 행 번호부터 출력을 시작한다. OpenFrame에서는 문법 오류만 검사한다. |
r_end |
지정된 상대 행 번호까지 출력한다. OpenFrame에서는 문법 오류만 검사한다. |
a_start |
지정된 절대 행 번호부터 출력을 시작한다. OpenFrame에서는 문법 오류만 검사한다. |
a_end |
지정된 절대 행 번호까지 출력한다. OpenFrame에서는 문법 오류만 검사한다. |
오퍼랜드
다음은 앞에서 언급한 오퍼랜드에 대한 설명이다.
| 오퍼랜드 | 설명 |
|---|---|
LEVEL |
GEM 파일의 멤버 수준을 지정한다. OpenFrame에서는 문법 오류만 검사한다. (약어: LE) |
SFIELD |
절대 행 번호가 지정된 경우, 출력할 데이터셋의 행 번호 위치와 길이를 지정한다. OpenFrame에서는 문법 오류만 검사한다. (약어: SF) |
LCOUNT |
한 페이지에 출력되는 행 수를 지정한다. OpenFrame에서는 문법 오류만 검사한다. (약어: LC) |
CCOUNT |
한 행에 출력되는 자릿수를 지정한다. OpenFrame에서는 문법 오류만 검사한다. (약어: C) |
MPASSWORD |
GEM 파일의 멤버 암호를 지정한다. OpenFrame에서는 문법 오류만 검사한다. (약어: M) |
HOLD |
SYSPRINT 오퍼랜드가 있으면 출력을 보류 상태로 한다. OpenFrame에서는 문법 오류만 검사한다. (약어: HO) |
FPASSWORD |
데이터셋의 암호를 지정한다. OpenFrame에서는 문법 오류만 검사한다. (약어: F) |
VOLUME |
데이터셋이 위치한 볼륨의 일련번호를 지정한다. OpenFrame에서는 문법 오류만 검사한다. (약어: V) |
DATA |
데이터셋의 내용을 출력한다. (약어: D) |
ATTRIBUTE |
데이터셋의 속성을 출력한다. OpenFrame에서는 문법 오류만 검사한다. (약어: AT) |
SYSPRINT |
데이터셋의 내용 또는 속성을 스풀에 출력한다. (약어: SY) |
PDDNAME |
데이터셋의 내용 또는 속성을 데이터셋에 출력한다. OpenFrame에서는 문법 오류만 검사한다. (약어: P) |
TITLE |
출력 목록의 각 페이지 상단에 제목을 출력한다. OpenFrame에서는 문법 오류만 검사한다. (약어: TI) |
NTITLE |
출력 목록의 각 페이지 상단에 일본어 제목을 출력한다. OpenFrame에서는 문법 오류만 검사한다. (약어: NT) |
NOTITLE |
출력 목록의 각 페이지 상단에 제목을 출력하지 않는다. OpenFrame에서는 문법 오류만 검사한다. (약어: NOTI) |
EBCDIC |
데이터셋의 내용을 그대로 출력한다. OpenFrame에서는 문법 오류만 검사한다. (약어: E) |
HEXADECIMAL |
데이터셋의 내용을 16진수로 출력한다. OpenFrame에서는 문법 오류만 검사한다. (약어: HE) |
RNUMBER |
지정된 상대 행 번호 범위만 출력한다. OpenFrame에서는 문법 오류만 검사한다. (약어: R) |
ANUMBER |
지정된 절대 행 번호 범위만 출력한다. OpenFrame에서는 문법 오류만 검사한다. (약어: AN) |
NFIELD |
출력 목록의 왼쪽 끝에 행 번호를 출력할지 여부를 지정한다. OpenFrame에서는 문법 오류만 검사한다. (약어: NF) |
NOTRUNCATE |
CCOUNT 값에 따라 행을 접는다. OpenFrame에서는 문법 오류만 검사한다. (약어: NOTR) |
TRUNCATE |
행을 접지 않는다. OpenFrame에서는 문법 오류만 검사한다. (약어: TR) |
예제
다음은 LSTFILE 문 사용 예제이다.
LSTFILE 'USER01.PAR.FILE(MEMBER1)' SY(A)
51. OCOPY 문
데이터셋 멤버 또는 UNIX 파일을 다른 데이터셋 멤버 또는 파일에 복사한다 .
사용법





| 항목 | 설명 |
|---|---|
src_ddname |
입력 데이터셋의 DD명 또는 입력 파일의 DD명을 지정한다. |
dst_ddname |
출력 데이터셋의 DD명 또는 출력 파일의 DD명을 지정한다. |
오퍼랜드
다음은 앞에서 언급한 오퍼랜드에 대한 설명이다.
| 오퍼랜드 | 설명 |
|---|---|
INDD |
입력 데이터셋의 DD명 또는 입력 파일의 DD명을 지정한다. |
OUTDD |
출력 데이터셋의 DD명 또는 출력 파일의 DD명을 지정한다. |
BINARY|TEXT |
복사할 데이터가 이진파일 또는 텍스트 파일임을 지정한다. |
CONVERT |
변환에 사용되는 문자 변환표를 지정한다. OpenFrame에서는 문법 오류만 검사한다. |
PATHOPTS |
OCOPY가 allocate 중에 지정된 PATHOPTS값을 사용할지 겹쳐 쓸지 여부를 지정한다. OpenFrame에서는 문법 오류만 검사한다. |
TO1047|FROM 1047 |
문자 변환 테이블의 TO|FROM 섹션을 사용하도록 지정한다. OpenFrame에서는 문법 오류만 검사한다. |
예제
다음은 OCOPY 문 사용 예제이다.
OCOPY INDD(HFSXML) OUTDD(MVSXML) TEXT
53. PANEL 문
PSAM 맵을 통해 화면 처리를 한다.
사용법



| 항목 | 설명 |
|---|---|
panel_id |
화면에 출력할 맵 파일 이름을 지정한다. |
var_name |
해당 항목에 대한 변수명을 지정한다. |
오퍼랜드
다음은 앞에서 언급한 오퍼랜드에 대한 설명이다.
| 오퍼랜드 | 설명 |
|---|---|
CURSOR |
화면에 출력될 커서의 위치를 필드명으로 지정한다. |
LOW |
화면의 밝기를 어둡게 지정한다. 지정이 없을 시 기본값이다. |
HIGH |
화면의 밝기를 밝게 지정한다. |
NOPRIMARY |
화면 표시 중 RETURN 키가 입력되면 화면 표시를 하지 않고 종료한다. OpenFrame에서는 문법 오류만 검사한다. |
PRIMARY |
화면 표시 중 RETURN 키가 입력되어도 계속 화면을 표시한다. OpenFrame에서는 문법 오류만 검사한다. |
예제
다음은 PANEL 문 사용 예제이다.
PANEL GHBM0010 CURSOR(SN,LOW)
54. PRINTOFF 문
SYSOUT 데이터셋을 할당하고, 출력할 데이터셋의 내용을 SYSOUT 데이터셋으로 복사하여 프린터에 출력한다. 이때 출력할 데이터셋이 미리 할당되어 있지 않다면, 직접 할당을 한다.
사용법




| 항목 | 설명 |
|---|---|
dataset_name |
출력할 데이터셋의 이름을 지정한다. |
ddname |
출력할 데이터셋의 DD 이름을 지정한다. |
unit-type |
출력할 데이터셋을 할당할 장치를 지정한다. VOLUME이 지정된 경우만 유효하고, 지정되지 않으면 무시된다. |
volser |
출력할 데이터셋이 있는 볼륨의 일련번호를 지정한다. |
class |
SYSOUT 데이터셋의 출력 클래스를 지정한다. (기본값: A) |
destination |
SYSOUT 데이터셋의 출력처를 지정한다. 1~8자의 프린터의 이름만 가능하다. |
nnn(copies) |
복사 횟수를 지정한다. (기본값: 1) |
form |
출력할 때 사용할 양식을 지정한다. OpenFrame에서는 문법 오류만 검사한다. (기본값: $TST) |
fcb |
출력할 때 사용할 양식 제어 버퍼를 지정한다. 1~4자의 문자로 지정한다. |
image |
출력할 때 사용할 이미지 이름을 지정한다. 1~4자의 문자로 지정한다. OpenFrame에서는 문법 오류만 검사한다. |
nnn(linelength) |
출력할 라인의 문자 수를 지정한다. 1~208자까지 가능하다. (기본값: 132) |
nnn(pagelength) |
출력할 페이지의 라인 수를 지정한다. 1~120행까지 가능하다. (기본값: 60) |
flash-name |
양식 플래시 오버레이의 이름을 지정한다. |
charset-name |
출력할 때 사용할 character set 이름을 지정한다. |
progname |
출력을 처리하는 external writer의 이름을 지정한다. OpenFrame에서는 문법 오류만 검사한다. |
font-name |
SYSOUT 데이터셋을 출력할 때 사용할 글꼴 이름을 지정한다. OpenFrame에서는 문법 오류만 검사한다. |
|
dataset_name과 DDNAME(FILE) 중 하나는 반드시 기술되어야 하고, 둘 다 기술할 경우 반드시 dataset_name을 먼저 기술해야 한다. DDNAME(FILE)만 기술할 경우 해당 DD는 allocate되어 있어야 하고, DDNAME(FILE)과 dataset_name 둘 다 기술할 경우 이미 allocate된 DD의 dsname과 같은지 확인한다. |
오퍼랜드
다음은 앞에서 언급한 오퍼랜드에 대한 설명이다.
| 오퍼랜드 | 설명 |
|---|---|
UNIT |
데이터셋을 할당할 장치를 지정한다. VOLUME이 지정된 경우만 유효하고, 지정되지 않으면 무시된다. |
VOLUME |
데이터셋이 있는 볼륨의 일련번호를 지정한다. |
NOMESSAGES |
Error가 아닌 메시지는 출력하지 않고자 할 때 지정한다. (약어 : NOMSGS) |
CLASS |
SYSOUT 데이터셋의 출력 클래스를 지정한다. |
DEST |
SYSOUT 데이터셋의 출력처를 지정한다. |
COPIES |
복사 횟수를 지정한다. |
HOLD |
데이터셋 해제 시 출력 보류 큐에 등록한다. OpenFrame에서는 문법 오류만 검사한다. |
NOHOLD |
데이터셋 해제 시 출력 보류 큐에 등록하지 않는다. OpenFrame에서는 문법 오류만 검사한다. |
LIST |
데이터셋을 출력할 때 별도로 작성된 처리된 멤버 이름의 목록을 함께 출력할 때 지정한다. OpenFrame에서는 문법 오류만 검사한다. |
NOLIST |
별도로 멤버 이름 목록을 작성하지 않을 때 지정한다. OpenFrame에서는 문법 오류만 검사한다. |
멤버 이름을 출력할 때 지정한다. OpenFrame에서는 문법 오류만 검사한다. |
|
NOPRINT |
멤버 이름을 출력하지 않을 때 지정한다. OpenFrame에서는 문법 오류만 검사한다. |
FORMS |
출력할 때 사용할 양식을 지정한다. OpenFrame에서는 문법 오류만 검사한다. |
FCB |
출력할 때 사용할 양식 제어 버퍼를 지정한다. |
TRAIN |
출력할 때 사용할 이미지 이름을 지정한다. |
UCS |
출력할 때 사용할 이미지 이름을 지정한다. |
HEADING |
데이터셋 이름을 포함한 제목을 함께 출력할 때 지정한다. OpenFrame에서는 문법 오류만 검사한다. |
NOHEADING |
제목을 함께 출력하지 않을 때 지정한다. OpenFrame에서는 문법 오류만 검사한다. |
CAPS |
대문자로 변환하여 출력할 때 지정한다. |
ASIS |
대문자로 변환하지 않고 출력할 때 지정한다. |
FOLD |
대문자로 변환하여 출력할 때 지정한다. CAPS와 동의어이다. |
NOFOLD |
대문자로 변환하지 않고 출력할 때 지정한다. ASIS와 동의어이다. |
NOCC |
단일 간격으로 출력할 때 지정한다. OpenFrame에서는 문법 오류만 검사한다. |
SINGLESPACE |
단일 간격으로 출력할 때 지정한다. NOCC와 동의어이다. OpenFrame에서는 문법 오류만 검사한다. (약어 : SS) |
DOUBLESPACE |
이중 간격으로 출력할 때 지정한다. OpenFrame에서는 문법 오류만 검사한다. (약어 : DS) |
ASA |
데이터셋 각 레코드의 첫번째 바이트에 ASA control character를 출력할 때 지정한다. |
LINELENGTH |
출력할 라인의 문자 수를 지정한다. (약어 : LL) |
PAGELENGTH |
출력할 페이지의 라인 수를 지정한다. OpenFrame에서는 문법 오류만 검사한다. (약어 : PL) |
BURST |
연속된 양식으로 출력하지 않을 때 지정한다. OpenFrame에서는 문법 오류만 검사한다. |
NOBURST |
연속된 양식으로 출력할 때 지정한다. OpenFrame에서는 문법 오류만 검사한다. |
FLASH |
양식 플래시 오버레이의 이름을 지정한다. |
CHARS |
출력할 때 사용할 character set 이름을 지정한다. |
PROG |
출력을 처리하는 external writer의 이름을 지정한다. OpenFrame에서는 문법 오류만 검사한다. |
UDKFONT |
SYSOUT데이터셋을 출력할 때 사용할 글꼴 이름을 지정한다. OpenFrame에서는 문법 오류만 검사한다. |
예제
다음은 이미 할당된 'TEST.SDS.PRINTO' 데이터셋을 A 출력 클래스를 통해 출력하는 PRINTOFF문 사용 예제이다.
ALLOC FI(TESTDS) DA('TEST.SDS.PRINTO') SHR KEEP
PRINTOFF 'TEST.SDS.PRINTO' CLASS(A)
FREE FI(TESTDS)
다음은 'TEST.SDS.PRINTO' 데이터셋을 직접 할당하고, A 출력 클래스를 통해 출력하는 PRINTOFF문 사용 예제이다. 명령어가 수행되면 데이터셋 할당 해제도 실시한다. 그러므로 위 예제와 동작은 같다.
PRINTOFF 'TEST.SDS.PRINTO' CLASS(A)
55. PROFILE 문
각 사용자의 터미널 운영과 관련된 속성을 설정한다.
사용법














| 항목 | 설명 |
|---|---|
tlang |
터미널 출력 메시지 언어를 지정한다. OpenFrame에서는 문법 오류만 검사한다. |
slang |
SYSOUT 출력 메시지 언어를 지정한다. OpenFrame에서는 문법 오류만 검사한다. |
char |
글자 삭제 키를 지정한다. OpenFrame에서는 문법 오류만 검사한다. |
line |
줄 삭제 키를 지정한다. OpenFrame에서는 문법 오류만 검사한다. |
prefix |
데이터셋 이름에 붙일 접두어를 지정한다. |
library |
확장 라이브러리 인덱스를 지정한다. OpenFrame에서는 문법 오류만 검사한다. |
proc |
Command Procedure 데이터셋을 지정한다. OpenFrame에서는 문법 오류만 검사한다. |
cprof |
명령 프로파일 데이터셋을 지정한다. OpenFrame에서는 문법 오류만 검사한다. |
오퍼랜드
다음은 앞에서 언급한 오퍼랜드에 대한 설명이다.
| 오퍼랜드 | 설명 |
|---|---|
CHAR |
글자 삭제 키를 지정한다. OpenFrame에서는 문법 오류만 검사한다. (약어: C) |
NOCHAR |
글자 삭제 키를 해제한다. OpenFrame에서는 문법 오류만 검사한다. (약어: NOC) |
LINE |
줄 삭제 키를 지정한다. OpenFrame에서는 문법 오류만 검사한다. (약어: LIN) |
NOLINE |
줄 삭제 키를 해제한다. OpenFrame에서는 문법 오류만 검사한다. (약어: NOLIN) |
INTERCOM |
다른 터미널로부터의 메시지를 수신한다. OpenFrame에서는 문법 오류만 검사한다. (약어: I) |
NOINTERCOM |
다른 터미널로부터의 메시지 수신을 거부한다. OpenFrame에서는 문법 오류만 검사한다. (약어: NOI) |
PAUSE |
상세 메시지 표시 여부를 물어본다. OpenFrame에서는 문법 오류만 검사한다. (약어: PA) |
NOPAUSE |
상세 메시지 표시 여부를 물어보지 않는다. OpenFrame에서는 문법 오류만 검사한다. (약어: NOPA) |
MSGID |
메시지 ID를 포함하여 메시지를 출력한다. OpenFrame에서는 문법 오류만 검사한다. (약어: MS) |
NOMSGID |
메시지 ID 없이 메시지를 출력한다. OpenFrame에서는 문법 오류만 검사한다. (약어: NOMS) |
MODE |
모드 변경에 관계 없이 모드 메시지를 출력한다. OpenFrame에서는 문법 오류만 검사한다. (약어: MO) |
NOMODE |
모드를 변경할 때 모드 메시지를 출력한다. OpenFrame에서는 문법 오류만 검사한다. (약어: NOMO) |
PROMPT |
파라미터가 잘못된 경우 사용자에게 알린다. OpenFrame에서는 문법 오류만 검사한다. (약어: PROM) |
NOPROMPT |
파라미터가 잘못된 경우에도 사용자에게 알리지 않는다. OpenFrame에서는 문법 오류만 검사한다. (약어: NOPROM) |
PREFIX |
데이터셋 이름에 붙일 접두어를 지정한다. (약어: PRE) |
NOPREFIX |
데이터셋 이름에 접두어를 붙이지 않는다. (약어: NOPRE) |
WTPMSG |
WTO의 ROUTE 코드 11 메시지를 터미널에 출력한다. OpenFrame에서는 문법 오류만 검사한다. (약어: W) |
NOWTPMSG |
WTO의 ROUTE 코드 11 메시지를 터미널에 출력하지 않는다. OpenFrame에서는 문법 오류만 검사한다. (약어: NOW) |
RECOVER |
EDIT 명령의 체크 포인트 복구 기능을 사용한다. OpenFrame에서는 문법 오류만 검사한다. (약어: R) |
NORECOVER |
EDIT 명령의 체크 포인트 복구 기능을 사용하지 않는다. OpenFrame에서는 문법 오류만 검사한다. (약어: NOR) |
LIBRARY |
확장 라이브러리를 사용한다. OpenFrame에서는 문법 오류만 검사한다. (약어: LIB) |
NOLIBRARY |
확장 라이브러리를 사용하지 않는다. OpenFrame에서는 문법 오류만 검사한다. (약어: NOLIB) |
PROC |
Command Procedure가 있는 데이터셋을 라이브러리에 할당한다. OpenFrame에서는 문법 오류만 검사한다. |
NOPROC |
Command Procedure가 있는 데이터셋을 라이브러리에 할당하지 않는다. OpenFrame에서는 문법 오류만 검사한다. |
CPROF |
명령 프로파일 데이터셋을 지정한다. OpenFrame에서는 문법 오류만 검사한다. (약어: CP) |
LIST |
사용자 프로파일 설정 정보를 터미널에 표시한다. OpenFrame에서는 문법 오류만 검사한다. (약어: LIS) |
TLANG |
터미널 출력 메시지 언어를 지정한다. OpenFrame에서는 문법 오류만 검사한다. (약어: TL) |
SLANG |
SYSOUT 출력 메시지 언어를 지정한다. OpenFrame에서는 문법 오류만 검사한다. (약어: SL) |
예제
다음은 PROFILE 문 사용 예제이다.
PROFILE NOPREFIX
56. PRTFILE 문
데이터셋의 내용을 프린터에 출력한다.
사용법






















| 항목 | 설명 |
|---|---|
file |
출력할 데이터셋의 이름을 지정한다. |
ddname |
출력할 데이터셋의 DD명을 지정한다. |
terminal |
프린터 장치에 대응하는 기록장치 이름을 지정한다. |
addr_1 |
프린터의 네트워크 주소를 지정한다. OpenFrame에서는 문법 오류만 검사한다. |
addr_2 |
CFCIII 기록장치 이름을 지정한다. OpenFrame에서는 문법 오류만 검사한다. |
reqname |
출력 요구 식별명을 지정한다. OpenFrame에서는 문법 오류만 검사한다. |
EXTRA |
20MB 이상의 데이터를 처리한다. OpenFrame에서는 문법 오류만 검사한다. |
l_from |
지정된 행부터 출력한다. OpenFrame에서는 문법 오류만 검사한다. |
l_to |
지정된 행까지 출력한다. OpenFrame에서는 문법 오류만 검사한다. |
overlay |
양식 오버레이 식별명을 지정한다. |
ovcopies |
양식 오버레이 출력 횟수를 지정한다. OpenFrame에서는 문법 오류만 검사한다. |
copies |
복사 횟수를 지정한다. OpenFrame에서는 문법 오류만 검사한다. |
skip |
줄간격을 지정한다. OpenFrame에서는 문법 오류만 검사한다. |
note |
지정된 주석을 구분자에 덧붙여 출력한다. |
c_from |
지정된 열부터 출력한다. OpenFrame에서는 문법 오류만 검사한다. |
c_to |
출력할 열 범위를 지정한다. OpenFrame에서는 문법 오류만 검사한다. |
form |
개행 제어 이미지 식별명을 지정한다. OpenFrame에서는 문법 오류만 검사한다. |
p_lines |
페이지 당 최대 행 수를 지정한다. OpenFrame에서는 문법 오류만 검사한다. |
p_lpi |
LPI(1인치에 인쇄할 행 수)를 지정한다. OpenFrame에서는 문법 오류만 검사한다. |
pl_from |
데이터 출력처의 행 범위의 왼쪽 테두리를 지정한다. OpenFrame에서는 문법 오류만 검사한다. |
pl_to |
데이터 출력처의 행 범위의 오른쪽 테두리를 지정한다. OpenFrame에서는 문법 오류만 검사한다. |
pc_from |
데이터 출력처의 열 범위의 왼쪽 테두리를 지정한다. OpenFrame에서는 문법 오류만 검사한다. |
pc_to |
데이터 출력처의 열 범위의 오른쪽 테두리를 지정한다. OpenFrame에서는 문법 오류만 검사한다. |
m_top |
상단 여백을 지정한다. OpenFrame에서는 문법 오류만 검사한다. |
m_bottom |
하단 여백을 지정한다. OpenFrame에서는 문법 오류만 검사한다. |
cs |
UCS 식별명, 문자 세트 식별명, 추가 문자 세트 식별명 또는 문자 배열 테이블 식별명을 지정한다. OpenFrame에서는 문법 오류만 검사한다. |
bind_w |
제본 폭을 지정한다. OpenFrame에서는 문법 오류만 검사한다. |
bind_x |
출력 기본 위치의 X 방향을 지정한다. OpenFrame에서는 문법 오류만 검사한다. |
bind_y |
출력 기본 위치의 Y 방향을 지정한다. OpenFrame에서는 문법 오류만 검사한다. |
group |
회선 그룹 번호를 지정한다. OpenFrame에서는 문법 오류만 검사한다. |
오퍼랜드
다음은 앞에서 언급한 오퍼랜드에 대한 설명이다.
| 오퍼랜드 | 설명 |
|---|---|
FILE |
출력할 데이터셋의 이름을 지정한다. |
DDNAME |
출력할 데이터셋의 DD명을 지정한다. |
TERMINAL |
프린터 장치에 대응하는 기록장치 이름을 지정한다. OpenFrame 환경설정에 tso 서브젝트, TERM_CLASS 섹션을 참조하여 본 오퍼랜드에 대응하는 출력 클래스가 결정된다. |
ADDRESS |
프린터의 네트워크 주소와 CFCIII 기록장치 이름을 지정한다. OpenFrame에서는 문법 오류만 검사한다. |
REQNAME |
출력 요구 식별명을 지정한다. OpenFrame에서는 문법 오류만 검사한다. |
EXTRA |
20MB 이상의 데이터를 처리한다. OpenFrame에서는 문법 오류만 검사한다. |
LINE |
출력할 행 범위를 지정한다. OpenFrame에서는 문법 오류만 검사한다. |
OVERLAY |
양식 오버레이 식별명을 지정한다. |
OVCOPIES |
양식 오버레이 출력 횟수를 지정한다. OpenFrame에서는 문법 오류만 검사한다. |
COPIES |
복사 횟스를 지정한다. OpenFrame에서는 문법 오류만 검사한다. |
SKIP |
줄간격을 지정한다. OpenFrame에서는 문법 오류만 검사한다. |
NOCONVERT |
무효인 문자를 공백으로 변환하지 않는다. OpenFrame에서는 문법 오류만 검사한다. |
IMAGEDENSITY |
CFCIII의 보유 픽셀 밀도를 지정한다. OpenFrame에서는 문법 오류만 검사한다. |
NOTE |
지정된 주석을 구분자에 덧붙여 출력한다. |
STANDARD |
입력 데이터를 변환하지 않는다. OpenFrame에서는 문법 오류만 검사한다. |
HEX |
입력 데이터를 16진수 데이터로 변환하여 출력한다. OpenFrame에서는 문법 오류만 검사한다. |
CHAR |
출력 가능한 문자 사이즈를 늘린다. OpenFrame에서는 문법 오류만 검사한다. |
VECTOR |
32KB 이상의 벡터 데이터를 출력한다. OpenFrame에서는 문법 오류만 검사한다. |
COLUMN |
출력할 열 범위를 지정한다. OpenFrame에서는 문법 오류만 검사한다. |
FORM |
개행 제어 이미지 식별명을 지정한다. OpenFrame에서는 문법 오류만 검사한다. |
PAGELEN |
페이지 당 최대 행 수와 LPI를 지정한다. OpenFrame에서는 문법 오류만 검사한다. |
PLINE |
데이터 출력처의 행 범위를 지정한다. OpenFrame에서는 문법 오류만 검사한다. |
PCOLUMN |
데이터 출력처의 열 범위를 지정한다. OpenFrame에서는 문법 오류만 검사한다. |
KEEP |
데이터가 지정된 출력 자리수를 초과하면 초과 부분을 다음 줄에 출력한다. OpenFrame에서는 문법 오류만 검사한다. |
NOKEEP |
데이터가 지정된 출력 자리수를 초과하면 초과 부분을 다음 줄에 출력하지 않는다. OpenFrame에서는 문법 오류만 검사한다. |
MARGIN |
상단 여백과 하단 여백을 지정한다. OpenFrame에서는 문법 오류만 검사한다. |
CHARSET |
UCS 식별명, 문자 세트 식별명, 추가 문자 세트 식별명 또는 문자 배열 테이블 식별명을 지정한다. OpenFrame에서는 문법 오류만 검사한다. |
SEPARATOR |
구분자의 위치를 지정한다. OpenFrame에서는 문법 오류만 검사한다. |
SHEETSIZE |
용지 크기를 지정한다.
|
PRINTMODE |
출력 모드를 지정한다.
|
ORGN |
축소 출력을 하는 경우, 축소 전의 용지 사이즈를 지정한다. OpenFrame에서는 문법 오류만 검사한다. |
LAYOUT |
축소 출력을 하는 경우, 용지 한 페이지에 몇 장의 장표를 배치할지 지정한다. OpenFrame에서는 문법 오류만 검사한다. |
PRTAREA |
출력 금지 영역에서의 동작을 지정한다. OpenFrame에서는 문법 오류만 검사한다. |
BIND |
제본 방향, 제본 폭 및 출력 기본 위치를 지정한다. OpenFrame에서는 문법 오류만 검사한다. |
SIDE |
양면 출력 여부를 지정한다.
|
MANUAL |
수동으로 용지를 공급한다. OpenFrame에서는 문법 오류만 검사한다. |
HOPPER |
용지 공급구를 지정한다. OpenFrame에서는 문법 오류만 검사한다. |
STACKER |
용지 배출구를 지정한다. OpenFrame에서는 문법 오류만 검사한다. |
NETWORK |
CFCIII 장치가 사용하는 회선 유형을 지정한다. OpenFrame에서는 문법 오류만 검사한다. |
COMPRESS |
CFCIII 장치에서 팩스 장치로 보내는 데이터의 압축 방식을 지정한다. OpenFrame에서는 문법 오류만 검사한다. |
MSG |
출력 시작 메시지와 출력 종료 메시지를 출력한다. OpenFrame에서는 문법 오류만 검사한다. |
NOMSG |
출력 시작 메시지와 출력 종료 메시지를 출력하지 않는다. OpenFrame에서는 문법 오류만 검사한다. |
예제
다음은 PRTFILE 문 사용 예제이다.
PRTFILE FILE('USER01.SEQ.FILE') TERMINAL(WTR1)
59. RENAME 문
데이터셋의 이름을 변경하거나 PDS의 멤버명을 변경한다.
사용법
| 항목 | 설명 |
|---|---|
old_name |
입력 데이터셋 이름을 지정한다. PDS의 멤버명을 변경하려면 PDS 이름 뒤에 멤버명을 괄호와 함께 기술한다. |
new_name |
출력 데이터셋 이름을 지정한다. |
오퍼랜드
다음은 앞에서 언급한 오퍼랜드에 대한 설명이다.
| 오퍼랜드 | 설명 |
|---|---|
ALIAS |
PDS의 멤버에 별명을 추가한다. OpenFrame에서는 문법 오류만 검사한다. |
예제
다음은 RENAME 문 사용 예제이다.
RENAME 'USER01.SEQ.IFILE' 'USER01.SEQ.OFILE'
60. RNMFILE 문
데이터셋의 이름을 변경하거나 PDS의 멤버명을 변경한다.
사용법


| 항목 | 설명 |
|---|---|
src_dsname |
입력 데이터셋 이름을 지정한다. PDS의 멤버명을 변경하려면 PDS 이름 뒤에 멤버명을 괄호와 함께 기술한다. |
dst_dsname |
출력 데이터셋 이름을 지정한다. |
mpassword |
GEM 파일 멤버에 접근하기 위한 비밀번호를 지정한다. OpenFrame에서는 문법 오류만 검사한다. |
volume |
데이터셋이 속한 볼륨의 일련 번호를 지정한다. |
오퍼랜드
다음은 앞에서 언급한 오퍼랜드에 대한 설명이다.
| 오퍼랜드 | 설명 |
|---|---|
MPASSWORD |
GEM 파일 멤버에 접근하기 위한 비밀번호를 지정한다. OpenFrame에서는 문법 오류만 검사한다. (약어: M) |
VOLUME |
데이터셋이 속한 볼륨의 일련 번호를 지정한다. 데이터셋이 카탈로그에 없는 경우에만 유효하다. (약어: V) |
NOALIAS |
데이터셋이나 PDS 멤버 이름을 변경한다. (약어: N) |
ALIAS |
PDS의 멤버에 별명을 추가한다. OpenFrame에서는 문법 오류만 검사한다. (약어: A) |
예제
다음은 RNMFILE 문 사용 예제이다.
RNMFILE 'USER01.SEQ.IFILE' 'USER01.SEQ.OFILE' VOLUME(VOL1)
61. RUN 문
DSN의 서브 명령어로서 사용자 애플리케이션을 실행한다.
|
RUN 문에 대한 자세한 내용은 OpenFrame Batch "유틸리티 참조 안내서"의 "IKJEFT01"에 명령어 설정 설명을 참고한다. |
62. SEND 문
시스템의 콘솔에 메시지를 전송한다. OpenFrame Manager나 tconmgr 등에서 해당 메시지를 확인할 수 있다.
사용법
| 항목 | 설명 |
|---|---|
parameters |
콘솔에 전송할 메시지를 지정한다. |
예제
다음은 SEND 문 사용 예제이다.
SEND 'TEST MESSAGE'
63. SMCOPY 문
스트림 또는 데이터셋의 전체나 일부를 다른 스트림 또는 데이터셋에 복사한다.
사용법








| 항목 | 설명 |
|---|---|
sysout_class |
SYSOUT 클래스를 지정한다. OpenFrame에서는 문법 오류만 검사한다. |
start_line |
복사가 시작될 행을 지정한다. OpenFrame에서는 문법 오류만 검사한다. |
stop_line |
복사가 끝나는 행을 지정한다. OpenFrame에서는 문법 오류만 검사한다. |
fstream_name |
입력 스트림 이름을 지정한다. OpenFrame에서는 문법 오류만 검사한다. |
fdsname |
복사 할 데이터셋의 이름을 지정한다. |
tstream_name |
출력 스트림 이름을 지정한다. OpenFrame에서는 문법 오류만 검사한다. |
tdsname |
복사 될 데이터셋의 이름을 지정한다. |
오퍼랜드
다음은 앞에서 언급한 오퍼랜드에 대한 설명이다.
| 오퍼랜드 | 설명 |
|---|---|
FROMSTREAM |
OpenFrame에서는 문법 오류만 검사한다. (약어: FS) |
FROMDATASET |
복사 할 정보를 포함하고 있는 데이터셋의 이름을 지정한다. (약어: FDS) |
TSOOUT |
OpenFrame에서는 문법 오류만 검사한다. |
OpenFrame에서는 문법 오류만 검사한다. |
|
TODATASET |
정보가 복사 될 데이터셋의 이름을 지정한다. (약어: TDS) |
TOSTREAM |
OpenFrame에서는 문법 오류만 검사한다. (약어: TS) |
CAPS |
OpenFrame에서는 문법 오류만 검사한다. |
ASIS |
OpenFrame에서는 문법 오류만 검사한다. |
NOTRANS |
OpenFrame에서는 문법 오류만 검사한다. |
FORMAT |
OpenFrame에서는 문법 오류만 검사한다. (약어: FMT) |
NOFORMAT |
OpenFrame에서는 문법 오류만 검사한다. (약어: NOFMT) |
PREFORMAT |
OpenFrame에서는 문법 오류만 검사한다. (약어: PREFMT) |
LINE |
OpenFrame에서는 문법 오류만 검사한다. |
예제
다음은 SMCOPY 문 사용 예제이다.
SMCOPY FROMDATASET(TEST1(MEM1)) TODATASET(TEST2(MEM2))
64. SNDTMSG 문
응용 프로그램 또는 AIM에 접속되어 있는 특정 워크스테이션으로 메시지를 전달한다.
사용법

| 항목 | 설명 |
|---|---|
ws |
AIM에 접속되어 있는 워크스테이션의 이름이다. |
apl |
응용 프로그램의 이름이다. |
msg |
전달할 메시지이다. |
오퍼랜드
다음은 앞에서 언급한 오퍼랜드에 대한 설명이다.
| 오퍼랜드 | 설명 |
|---|---|
WS |
AIM에 접속되어 있는 메시지를 전달할 워크스테이션을 지정한다. |
ACTWS |
AIM에 접속되어 있는 모든 워크스테이션에 메시지를 전달할 때 지정한다. |
APL |
메시지를 전달할 응용 프로그램을 지정한다. OpenFrame에서는 문법 오류만 검사한다. |
MSG |
전달할 메시지를 지정한다. 메시지는 작은따옴표(‘ ’)로 둘러싸여야 한다. |
MODE |
메시지 유형을 지정한다.
|
예제
다음은 SNDTMSG 문 사용 예제이다.
SNDTMSG WS(OIVPWS01) MSG('TESTMSG_001')
SNDTMSG WS(OIVPWS01) MODE(URG) MSG('TESTMSG_002')
SNDTMSG ACTWS MSG('TESTMSG_003')
SNDTMSG ACTWS MODE(EMG) MSG('TESTMSG_004')
65. SRTDS 문
입력 데이터셋을 정렬하거나 특정 레코드를 선택하는 등의 작업을 수행하고, 그 결과를 출력 데이터셋에 저장한다.
사용법





| 항목 | 설명 |
|---|---|
idsname |
입력 데이터셋의 이름을 지정한다. |
iddname |
입력 데이터셋의 DD 이름을 지정한다. |
odsname |
출력 데이터셋의 이름을 지정한다. |
ovolume |
출력 데이터셋이 있는 볼륨의 일련번호를 지정한다. |
oddname |
출력 데이터셋의 DD 이름을 지정한다. |
region |
정렬에 사용되는 메모리 용량을 지정한다. OpenFrame에서는 문법 오류만 검사한다. |
sort |
SORT 문의 오퍼랜드를 지정한다. 자세한 내용은 OpenFrame Batch "SORT 유틸리티 참조 안내서"를 참고한다. |
record |
RECORD 문의 오퍼랜드를 지정한다. 자세한 내용은 OpenFrame Batch "SORT 유틸리티 참조 안내서"를 참고한다. |
include |
INCLUDE 문의 오퍼랜드를 지정한다. 자세한 내용은 OpenFrame Batch "SORT 유틸리티 참조 안내서"를 참고한다. |
omit |
INCLUDE 문의 오퍼랜드를 지정한다. 자세한 내용은 OpenFrame Batch "SORT 유틸리티 참조 안내서"를 참고한다. |
outrec |
OUTREC 문의 오퍼랜드를 지정한다. 자세한 내용은 OpenFrame Batch "SORT 유틸리티 참조 안내서"를 참고한다. |
sum |
SUM 문의 오퍼랜드를 지정한다. 자세한 내용은 OpenFrame Batch "SORT 유틸리티 참조 안내서"를 참고한다. |
altseq |
ALTSEQ 문의 오퍼랜드를 지정한다. 자세한 내용은 OpenFrame Batch "SORT 유틸리티 참조 안내서"를 참고한다. |
avblock |
출력 데이터셋의 블록 평균 길이를 지정한다. |
quantity |
출력 데이터셋 생성할 때 최초에 할당할 공간의 양을 지정한다. |
increment |
출력 데이터셋의 작성 중에 스페이스가 부족해서 추가를 해야 하는 경우 한 번에 추가할 값을 지정한다. |
메시지를 출력할 파일을 지정한다. OpenFrame에서는 문법 오류만 검사한다. |
|
sysprint |
메시지 출력 클래스를 지정한다. |
오퍼랜드
다음은 앞에서 언급한 오퍼랜드에 대한 설명이다.
| 오퍼랜드 | 설명 |
|---|---|
IDSNAME |
입력 데이터셋의 이름을 지정한다. (약어: IDSN) |
IDDNAME |
입력 데이터셋의 DD 이름을 지정한다. (약어: IDDN, IDD) |
ODSNAME |
출력 데이터셋의 이름을 지정한다. (약어: ODSN) |
OVOLUME |
출력 데이터셋이 있는 볼륨의 일련번호를 지정한다. (약어: OVOL) |
ODDNAME |
출력 데이터셋의 DD 이름을 지정한다. (약어: ODDN, ODD) |
REGION |
정렬에 사용되는 메모리 용량을 지정한다. OpenFrame에서는 문법 오류만 검사한다. |
SORT |
SORT 문의 오퍼랜드를 지정한다. 자세한 내용은 OpenFrame Batch "SORT 유틸리티 참조 안내서"를 참고한다. |
RECORD |
RECORD 문의 오퍼랜드를 지정한다. 자세한 내용은 OpenFrame Batch "SORT 유틸리티 참조 안내서"를 참고한다. |
INCLUDE |
INCLUDE 문의 오퍼랜드를 지정한다. 자세한 내용은 OpenFrame Batch "SORT 유틸리티 참조 안내서"를 참고한다. |
OMIT |
OMIT 문의 오퍼랜드를 지정한다. 자세한 내용은 OpenFrame Batch "SORT 유틸리티 참조 안내서"를 참고한다. |
OUTREC |
OUTREC 문의 오퍼랜드를 지정한다. 자세한 내용은 OpenFrame Batch "SORT 유틸리티 참조 안내서"를 참고한다. |
SUM |
SUM 문의 오퍼랜드를 지정한다. 자세한 내용은 OpenFrame Batch "SORT 유틸리티 참조 안내서"를 참고한다. |
ALTSEQ |
ALTSEQ 문의 오퍼랜드를 지정한다. 자세한 내용은 OpenFrame Batch "SORT 유틸리티 참조 안내서"를 참고한다. |
AVBLOCK |
출력 데이터셋의 블록 평균 길이를 지정한다. (약어: AVB) |
SPACE |
출력 데이터셋의 공간 할당량을 지정한다. (약어: SPA) |
메시지를 출력할 파일을 지정한다. OpenFrame에서는 문법 오류만 검사한다. |
|
SYSPRINT |
메시지 출력 클래스를 지정한다. |
NOPRINT |
메시지를 출력하지 않는다. OpenFrame에서는 문법 오류만 검사한다. |
JEF |
한자 정렬 기능을 사용한다. OpenFrame에서는 문법 오류만 검사한다. |
NOJEF |
한자 정렬 기능을 사용하지 않는다. OpenFrame에서는 문법 오류만 검사한다. |
예제
다음은 SRTDS 문 사용 예제이다.
SRTDS * IDDN(INPUT) ODDN(OUTPUT) SORT('FIELDS=(12,4,ZD,D)')
66. STATUS 문
터미널에 배치 JOB 의 상태를 출력한다. OpenFrame에서는 문법 오류만 검사한다.
사용법

| 항목 | 설명 |
|---|---|
jobname |
상태를 알고 싶은 배치 JOB의 이름을 지정한다. OpenFrame에서는 문법 오류만 검사한다. |
jobid |
상태를 알고 싶은 배치 JOB의 ID를 지정한다. OpenFrame에서는 문법 오류만 검사한다. |
예제
다음은 STATUS 문 사용 예제이다.
STATUS TEST(JOB00001)
69. SUBMIT 문
Batch JOB을 TJES 시스템에 제출한다. TJES 시스템은 OpenFrame Batch "TJES 안내서"를 참고한다.
사용법



| 항목 | 설명 |
|---|---|
dataset |
실행할 JCL 데이터셋 이름을 지정한다. |
오퍼랜드
다음은 앞에서 언급한 오퍼랜드에 대한 설명이다.
| 오퍼랜드 | 설명 |
|---|---|
NOTIFY |
작업 종료를 터미널에 통지한다. OpenFrame에서는 문법 오류만 검사한다. (약어: NOT) |
NONOTIFY |
작업 종료를 터미널에 통지하지 않는다. OpenFrame에서는 문법 오류만 검사한다. (약어: NON) |
RUN |
작업 실행을 보류하지 않는다. OpenFrame에서는 문법 오류만 검사한다. (약어: R) |
NORUN |
작업 실행을 보류한다. OpenFrame에서는 문법 오류만 검사한다. (약어: NOR) |
예제
다음은 SUBMIT 문 사용 예제이다.
SUBMIT 'SYS1.JCLLIB(SORT01)'
70. VERIFY 문
VSAM 데이터셋의 카탈로그 정보를 갱신한다.
사용법
| 항목 | 설명 |
|---|---|
dsname |
클러스터나 구성 요소의 이름을 지정한다. |
ddname |
클러스터나 구성 요소의 DD 이름을 지정한다. |
오퍼랜드
다음은 앞에서 언급한 오퍼랜드에 대한 설명이다.
| 오퍼랜드 | 설명 |
|---|---|
DATASET |
클러스터나 구성 요소의 이름을 지정한다. (약어: DS) |
FILE |
클러스터나 구성 요소의 DD 이름을 지정한다. (약어: F) |
예제
다음은 VERIFY 문 사용 예제이다.
VERIFY FILE(IN)
71. WAIT 문
EVENT 문에 의해 감시 중인 이벤트에 대해 WAIT 문을 수행하는 경우, 감시 시작 시점을 기준으로 감시 대상 이벤트가 발생할 때까지 대기한다.
WAIT 문에서 지정한 이벤트가 EVENT 문에 의해 감시 중인 상태가 아닌 경우엔 현재 시점을 기준으로 감시 대상 이벤트가 발생할 때까지 대기한다. 즉, 마치 WAIT 문 직전에 EVENT 문이 기술된 것처럼 동작한다. 이 경우 EVENT 문에 STACK(NO)가 지정된 것처럼 동작한다.
WAIT 문은 이벤트 발생 이력(스택으로 구현되어 있음)을 조회한다. 해당 이벤트를 등록할 때 STACK(YES)가 지정되었다면 스택에서 항목을 꺼내고, STACK(NO)가 지정되었다면 스택의 항목을 조회하기만 한다.
WAIT 문에서 스택의 항목을 꺼내거나 조회할 때 이벤트에 관한 정보가 제어 변수들(예: &SYS#EVENT)에 저장된다. 제어 변수들에 대해서는 Command Procedure를 참고한다.
사용법











| 항목 | 설명 |
|---|---|
time |
지정된 시각까지 대기한다. hh.mm 형식으로 기술한다.
|
date |
지정된 날짜까지 대기한다. OpenFrame에서는 문법 오류만 검사한다. |
week |
지정된 요일까지 대기한다. OpenFrame에서는 문법 오류만 검사한다. |
message |
지정된 메시지가 출력될 때까지 대기한다. 메시지의 앞부분이 지정된 문자열과 같으면 일치하는 것으로 간주한다. '%.문자열' 형식으로 기술한 경우 메시지의 중간 부분이 지정된 문자열과 같으면 일치하는 것으로 간주한다. |
dspmessage |
이벤트 대기 상태 화면에 표시할 메시지를 지정한다. OpenFrame에서는 문법 오류만 검사한다. |
sss |
지정된 기간 동안 대기한다. 초 단위이다. |
mmm |
지정된 기간 동안 대기한다. 분 단위이다. |
readyjobname |
지정된 작업이 시작할 때까지 대기한다. OpenFrame에서는 문법 오류만 검사한다. |
endjobname |
지정된 작업이 종료할 때까지 대기한다. |
msgid |
지정된 식별번호를 갖는 메시지가 출력될 때까지 대기한다. |
system |
지정된 시스템 이벤트가 발생할 때까지 대기한다. OpenFrame에서는 문법 오류만 검사한다. |
userevent |
지정된 사용자 이벤트가 발생할 때까지 대기한다. OpenFrame에서는 문법 오류만 검사한다. |
dataset |
지정된 데이터셋이 생성될 때까지 대기한다. OpenFrame에서는 문법 오류만 검사한다. |
mount |
지정된 볼륨이 마운트 될 때까지 대기한다. OpenFrame에서는 문법 오류만 검사한다. |
ondevice |
지정된 플로피 디스크 장치가 준비될 때까지 대기한다. OpenFrame에서는 문법 오류만 검사한다. |
sysout |
지정된 작업의 출력이 종료될 때까지 대기한다. OpenFrame에서는 문법 오류만 검사한다. |
오퍼랜드
다음은 앞에서 언급한 오퍼랜드에 대한 설명이다.
| 오퍼랜드 | 설명 |
|---|---|
TIME |
지정된 시각까지 대기한다. |
DATE |
지정된 날짜까지 대기한다. OpenFrame에서는 문법 오류만 검사한다. |
WEEK |
지정된 요일까지 대기한다. OpenFrame에서는 문법 오류만 검사한다. |
MESSAGE |
지정된 메시지가 출력될 때까지 대기한다. |
DSPMESSAGE |
이벤트 대기 상태 화면에 표시할 메시지를 지정한다. OpenFrame에서는 문법 오류만 검사한다. |
INTERVAL |
지정된 기간 동안 대기한다. |
READYJOBNAME |
지정된 작업이 시작할 때까지 대기한다. OpenFrame에서는 문법 오류만 검사한다. |
ENDJOBNAME |
지정된 작업이 종료할 때까지 대기한다. (약어: END) |
MSGID |
지정된 식별번호를 갖는 메시지가 출력될 때까지 대기한다. |
SYSTEM |
지정된 시스템 이벤트가 발생할 때까지 대기한다. OpenFrame에서는 문법 오류만 검사한다. |
USEREVENT |
지정된 사용자 이벤트가 발생할 때까지 대기한다. OpenFrame에서는 문법 오류만 검사한다. |
DATASET |
지정된 데이터셋이 생성될 때까지 대기한다. OpenFrame에서는 문법 오류만 검사한다. |
MOUNT |
지정된 볼륨이 마운트 될 때까지 대기한다. OpenFrame에서는 문법 오류만 검사한다. |
ONDEVICE |
지정된 플로피 디스크 장치가 준비될 때까지 대기한다. OpenFrame에서는 문법 오류만 검사한다. |
SYSOUT |
지정된 작업의 출력이 종료될 때까지 대기한다. OpenFrame에서는 문법 오류만 검사한다. |
예제
다음은 WAIT 문 사용 예제이다.
WAIT MSGID(XDX1000I) INTERVAL(5S)